
中证智能财讯 华发股份(600325)10月31日披露2023年三季报。2023年前三季度,公司实现营业总收入472.51亿元,同比增长40.24%;归母净利润22.01亿元,同比增长1.14%;扣非净利润21.68亿元,同比增长0.65%;经营活动产生的现金流量净额为463.04亿元,同比增长114.90%;报告期内,华发股份基本每股收益为1.01元,加权平均净资产收益率为12.22%。

公告显示,公司前三季度营业收入变化主要由于本期结转的房地产开发销售收入较上年同期增加。
以10月30日收盘价计算,华发股份目前市盈率(TTM)约为6.92倍,市净率(LF)约为0.97倍,市销率(TTM)约为0.25倍。

公司近年市盈率(TTM)、市净率(LF)、市销率(TTM)历史分位图如下所示:



根据三季报,公司第三季度实现营业总收入157.73亿元,同比增长95.31%,环比下降19.20%;归母净利润2.75亿元,同比下降4.96%,环比下降80.15%;扣非净利润2.48亿元,同比下降2.03%,环比下降81.81%。

资料显示,公司所属行业为房地产业,主营业务为房地产开发与经营,拥有房地产一级开发资质。公司经营模式以自主开发、销售为主,稳步推进合作开发等多种模式。公司主要开发产品为住宅、车库及商铺,主营业务聚焦于粤港澳大湾区、长三角区域、京津冀协同发展区域以及长江经济带等核心城市群,其中珠海为公司战略大本营,北京、上海、广州、深圳、武汉、南京、杭州、成都、西安、重庆、苏州、昆明等一线城市及重点二线城市为公司战略发展城市。
2023年前三季度,公司毛利率为17.72%,同比下降3.20个百分点;净利率为6.59%,较上年同期下降1.90个百分点。从单季度指标来看,2023年第三季度公司毛利率为15.46%,同比下降4.21个百分点,环比下降4.44个百分点;净利率为3.68%,较上年同期下降2.31个百分点,较上一季度下降5.21个百分点。

数据显示,2023年前三季度公司加权平均净资产收益率为12.22%,较上年同期增长1.12个百分点;公司2023年前三季度投入资本回报率为1.34%,较上年同期增长0.10个百分点。

2023年前三季度,公司经营活动现金流净额为463.04亿元,同比增长114.90%,主要系本期销售回款较上年同期增加所致;筹资活动现金流净额29.72亿元,同比增加34.37亿元;投资活动现金流净额-492.64亿元,上年同期为-310.99亿元。
进一步统计发现,2023年前三季度公司自由现金流为-462.71亿元,上年同期为-397.87亿元。

2023年前三季度,公司营业收入现金比为162.62%,净现比为2103.33%。

2023年前三季度,公司期间费用为30.06亿元,较上年同期增加4.16亿元;但期间费用率为6.36%,较上年同期下降1.33个百分点。其中,销售费用同比增长48.75%,管理费用同比下降3.99%,研发费用同比下降23.43%,财务费用同比增长13.23%。

资产重大变化方面,截至2023年三季度末,公司长期股权投资较上年末减少14.66%,占公司总资产比重下降1.42个百分点;其他流动资产较上年末增加22.95%,占公司总资产比重上升1.36个百分点;货币资金较上年末增加0.80%,占公司总资产比重下降1.15个百分点;投资性房地产较上年末增加33.58%,占公司总资产比重上升0.86个百分点。

负债重大变化方面,截至2023年三季度末,公司合同负债较上年末增加26.27%,占公司总资产比重上升2.84个百分点;应付账款较上年末增加13.13%,占公司总资产比重上升0.20个百分点;应付债券较上年末减少9.67%,占公司总资产比重下降1.05个百分点;其他流动负债较上年末增加18.29%,占公司总资产比重上升0.15个百分点。

在偿债能力方面,公司2023年三季度末资产负债率为72.89%,相比上年末下降0.05个百分点;有息资产负债率为29.42%,相比上年末下降3.20个百分点。

2023年前三季度,公司流动比率为1.94,速动比率为0.59。

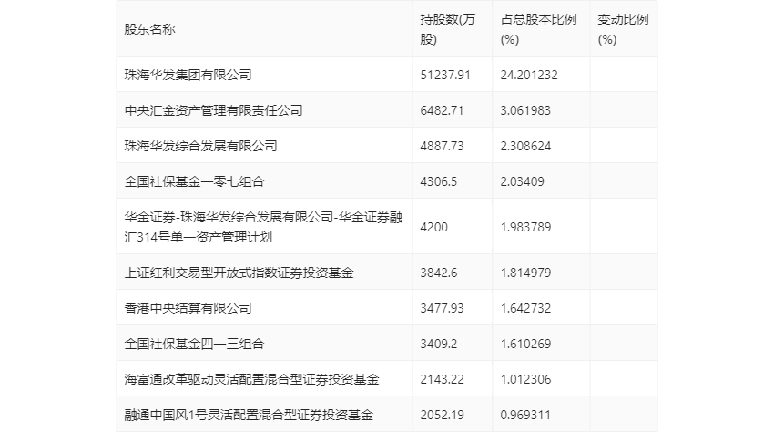
三季报显示,2023年三季度末公司十大流通股东中,新进股东为融通中国风1号灵活配置混合型证券投资基金,取代了上半年末的景顺长城中国回报灵活配置混合型证券投资基金。在具体持股比例上,香港中央结算有限公司持股有所上升,上证红利交易型开放式指数证券投资基金、海富通改革驱动灵活配置混合型证券投资基金持股有所下降。

筹码集中度方面,截至2023年三季度末,公司股东总户数为3.32万户,较上半年末增长了190户,增幅0.58%;户均持股市值由上半年末的63.23万元下降至61.14万元,降幅为3.31%。

指标注解:
市盈率
=总市值/净利润。当公司亏损时市盈率为负,此时用市盈率估值没有实际意义,往往用市净率或市销率做参考。
市净率
=总市值/净资产。市净率估值法多用于盈利波动较大而净资产相对稳定的公司。
市销率
=总市值/营业收入。市销率估值法通常用于亏损或微利的成长型公司。
文中市盈率和市销率采用TTM方式,即以截至最近一期财报(含预报)12个月的数据计算。市净率采用LF方式,即以最近一期财报数据计算。
市盈率为负时,不显示当期分位数,会导致折线图中断。