
中证智能财讯 通鼎互联(002491)8月30日披露2023年半年度报告。2023年上半年,公司实现营业总收入16.77亿元,同比增长10.39%;归母净利润2.32亿元,同比增长584.57%;扣非净利润6227.59万元,同比扭亏;经营活动产生的现金流量净额为7236.61万元,上年同期为-2321.34万元;报告期内,通鼎互联基本每股收益为0.1889元,加权平均净资产收益率为9.92%。
报告期内,公司合计非经常性损益为1.70亿元,持有交易性金融资产负债产生的公允价值变动损益以及投资收益为1.75亿元。
以8月29日收盘价计算,通鼎互联目前市盈率(TTM)约为22.75倍,市净率(LF)约为3.0倍,市销率(TTM)约为2.12倍。

公司近年市盈率(TTM)、市净率(LF)、市销率(TTM)历史分位图如下所示:



根据半年报,公司第二季度实现营业总收入9.33亿元,同比增长13.10%,环比增长25.45%;归母净利润1.13亿元,同比增长513.75%,环比下降5.08%;扣非净利润3740.35万元,同比增长73.97%,环比增长50.38%。

分产品来看,2023年上半年公司主营业务中,通信电缆收入6.08亿元,同比增长25.83%,占营业收入的36.28%;电力电缆收入4.90亿元,同比下降7.74%,占营业收入的29.24%;光纤光缆收入3.49亿元,同比增长24.65%,占营业收入的20.81%。

2023年上半年,公司毛利率为22.71%,同比上升6.46个百分点;净利率为13.90%,较上年同期上升11.58个百分点。从单季度指标来看,2023年第二季度公司毛利率为21.54%,同比上升4.15个百分点,环比下降2.64个百分点;净利率为12.14%,较上年同期上升15.45个百分点,较上一季度下降3.98个百分点。

分产品看,通信电缆、电力电缆、光纤光缆2023年上半年毛利率分别为31.26%、17.83%、12.31%。

数据显示,2023年上半年公司加权平均净资产收益率为9.92%,较上年同期增长8.36个百分点;公司2023年上半年投入资本回报率为5.84%,较上年同期增长4.56个百分点。

2023上半年,公司经营活动现金流净额为7236.61万元,同比增加9557.96万元;筹资活动现金流净额-1.60亿元,同比增加1.28亿元;投资活动现金流净额1.08亿元,上年同期为2.67亿元。
进一步统计发现,2023年上半年公司自由现金流为-5991.03万元,上年同期为-7160.36万元。

2023年上半年,公司营业收入现金比为118.03%,净现比为31.14%。


2023年上半年,公司期间费用为2.45亿元,较上年同期增加3.47万元;但期间费用率为14.61%,较上年同期下降1.52个百分点。其中,销售费用同比增长17.74%,管理费用同比增长5.23%,研发费用同比增长1.9%,财务费用同比下降22.77%。

资产重大变化方面,截至2023年二季度末,公司应收账款较上年末增加20.36%,占公司总资产比重上升3.39个百分点;货币资金余额较上年末减少7.26%,占公司总资产比重下降1.84个百分点;固定资产较上年末减少5.71%,占公司总资产比重下降0.80个百分点;存货余额较上年末减少3.24%,占公司总资产比重下降0.69个百分点。

负债重大变化方面,截至2023年二季度末,公司短期借款较上年末减少0.59%,占公司总资产比重下降0.74个百分点;一年内到期的非流动负债较上年末减少50.53%,占公司总资产比重下降0.14个百分点;应付账款较上年末减少1%,占公司总资产比重下降0.19个百分点;合同负债较上年末增加21.50%,占公司总资产比重上升0.06个百分点。

从存货变动来看,截至2023年上半年末,公司存货账面价值为8.5亿元,占净资产的34.55%,较上年末减少2842.68万元。其中,存货跌价准备为2.44亿元,计提比例为22.33%。

偿债能力方面,公司2023年二季度末资产负债率为59.14%,相比上年末减少3.31个百分点;有息资产负债率为35.57%,相比上年末减少1.68个百分点。

2023年上半年,公司流动比率为1.16,速动比率为0.92。

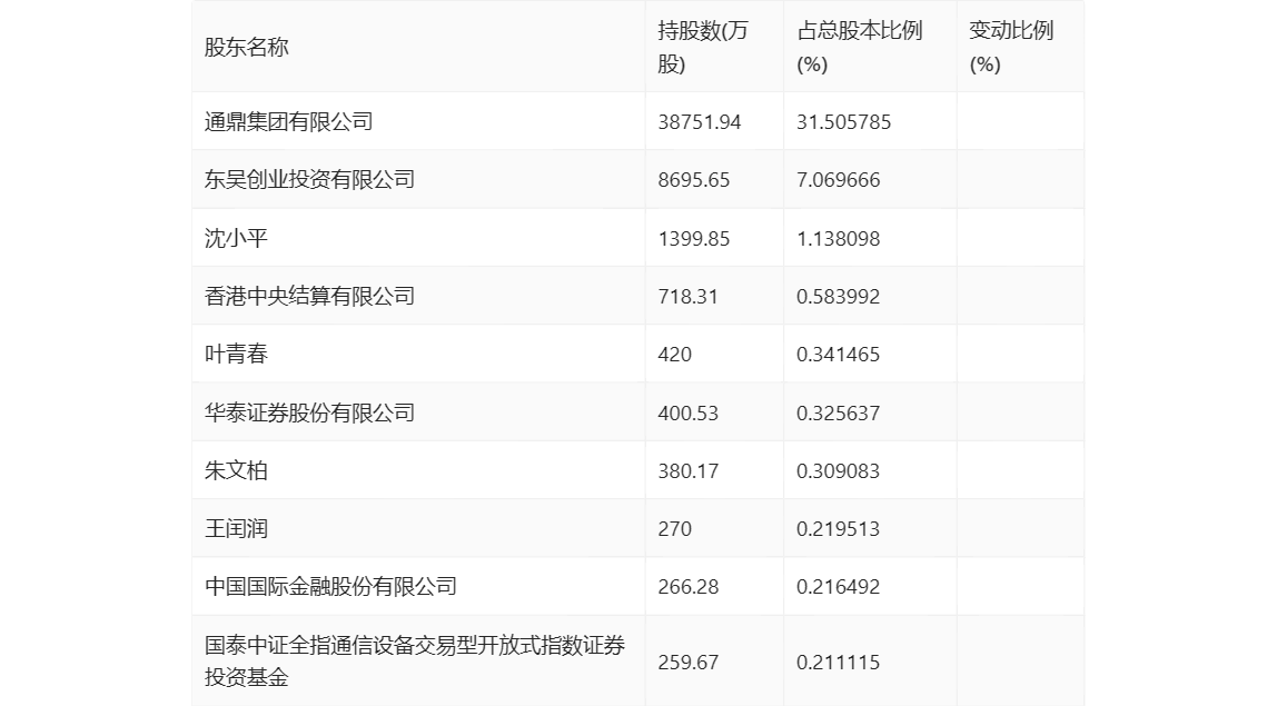
半年报显示,2023年上半年末的公司十大流通股东中,新进股东为东吴创业投资有限公司、华泰证券股份有限公司、王闰润、中国国际金融股份有限公司、国泰中证全指通信设备交易型开放式指数证券投资基金,取代了一季度末的东吴创业投资有限公司-苏州市吴企创基股权投资合伙企业(有限合伙)、黄奇俊、汪威、陈浩、田志花。在具体持股比例上,香港中央结算有限公司、朱文柏持股有所上升,叶青春持股有所下降。

值得注意的是,根据半年报数据,通鼎互联33.22%股份处于质押状态。其中,第一大股东通鼎集团有限公司质押3.64亿股公司股份,占其全部持股的93.82%。
筹码集中度方面,截至2023年二季度末,公司股东总户数为8.85万户,较一季度末增长了1.13万户,增幅14.71%;户均持股市值由一季度末的9.94万元下降至9.62万元,降幅为3.22%。

指标注解:
市盈率
=总市值/净利润。当公司亏损时市盈率为负,此时用市盈率估值没有实际意义,往往用市净率或市销率做参考。
市净率
=总市值/净资产。市净率估值法多用于盈利波动较大而净资产相对稳定的公司。
市销率
=总市值/营业收入。市销率估值法通常用于亏损或微利的成长型公司。
文中市盈率和市销率采用TTM方式,即以截至最近一期财报(含预报)12个月的数据计算。市净率采用LF方式,即以最近一期财报数据计算。
市盈率为负时,不显示当期分位数,会导致折线图中断。