
中证智能财讯 中密控股(300470)8月30日披露2023年半年度报告。2023年上半年,公司实现营业总收入6.13亿元,同比增长6.94%;归母净利润1.61亿元,同比增长6.92%;扣非净利润1.42亿元,同比增长2.58%;经营活动产生的现金流量净额为7752.62万元,同比增长33.66%;报告期内,中密控股基本每股收益为0.7876元,加权平均净资产收益率为6.50%。公司2023年半年度分配预案为:拟向全体股东每10股派5元(含税)。
以8月29日收盘价计算,中密控股目前市盈率(TTM)约为26.76倍,市净率(LF)约为3.46倍,市销率(TTM)约为6.82倍。

公司近年市盈率(TTM)、市净率(LF)、市销率(TTM)历史分位图如下所示:



根据半年报,公司第二季度实现营业总收入3.26亿元,同比增长5.61%,环比增长13.37%;归母净利润8055.58万元,同比下降9.45%,环比下降0.01%;扣非净利润6963.59万元,同比下降15.77%,环比下降4.01%。

资料显示,公司主营业务产品为机械密封及其辅助(控制)系统,是一种关键基础工业件,子公司主营产品分别为橡塑密封及特种阀门,公司及子公司主营产品广泛应用于能源及工业领域,尤其以石油化工、煤化工、油气输送、核电、精细化工等领域为主。
分产品来看,2023年上半年公司主营业务中,机械密封收入2.15亿元,同比增长12.59%,占营业收入的35.14%;干气密封及控制系统收入1.53亿元,同比增长7.18%,占营业收入的24.99%;橡塑密封收入0.68亿元,同比增长32.28%,占营业收入的11.02%。
2023年上半年,公司毛利率为51.19%,同比下降1.58个百分点;净利率为26.31%,较上年同期上升0.01个百分点。从单季度指标来看,2023年第二季度公司毛利率为48.71%,同比下降7.01个百分点,环比下降5.29个百分点;净利率为24.75%,较上年同期下降4.12个百分点,较上一季度下降3.32个百分点。

分产品看,机械密封、干气密封及控制系统、橡塑密封2023年上半年毛利率分别为54.52%、55.11%、36.85%。

数据显示,2023年上半年公司加权平均净资产收益率为6.50%,较上年同期增长0.06个百分点;公司2023年上半年投入资本回报率为6.55%,较上年同期增长0.03个百分点。

2023上半年,公司经营活动现金流净额为7752.62万元,同比增长33.66%;筹资活动现金流净额-9177.91万元,同比增加3415.16万元;投资活动现金流净额-1778.52万元,上年同期为-2896.31万元。
进一步统计发现,2023年上半年公司自由现金流为7494.68万元,相比上年同期增长467.22%。

2023年上半年,公司营业收入现金比为75.00%,净现比为48.12%。

2023年上半年,公司期间费用为1.41亿元,较上年同期增加1421.61万元;期间费用率为22.92%,较上年同期上升0.89个百分点。其中,销售费用同比增长6.06%,管理费用同比增长0.7%,研发费用同比增长32.64%,财务费用由去年同期的-258.48万元变为-82.58万元。

资产重大变化方面,截至2023年二季度末,公司存货余额较上年末增加20.85%,占公司总资产比重上升1.86个百分点;货币资金余额较上年末减少9.19%,占公司总资产比重下降1.17个百分点;在建工程较上年末增加48.10%,占公司总资产比重上升0.76个百分点;无形资产较上年末减少4.64%,占公司总资产比重下降0.46个百分点。

负债重大变化方面,截至2023年二季度末,公司应付账款较上年末增加45.16%,占公司总资产比重上升2.19个百分点;合同负债较上年末增加41.38%,占公司总资产比重上升0.53个百分点;其他流动负债较上年末增加61.08%,占公司总资产比重上升0.08个百分点;短期借款较上年末减少4.07%,占公司总资产比重下降0.03个百分点。

从存货变动来看,截至2023年上半年末,公司存货账面价值为3.96亿元,占净资产的16.03%,较上年末增加6828.88万元。其中,存货跌价准备为1432.38万元,计提比例为3.49%。

偿债能力方面,公司2023年二季度末资产负债率为14.77%,相比上年末增加0.73个百分点;有息资产负债率为0.40%,相比上年末减少0.04个百分点。

2023年上半年,公司流动比率为5.51,速动比率为4.53。

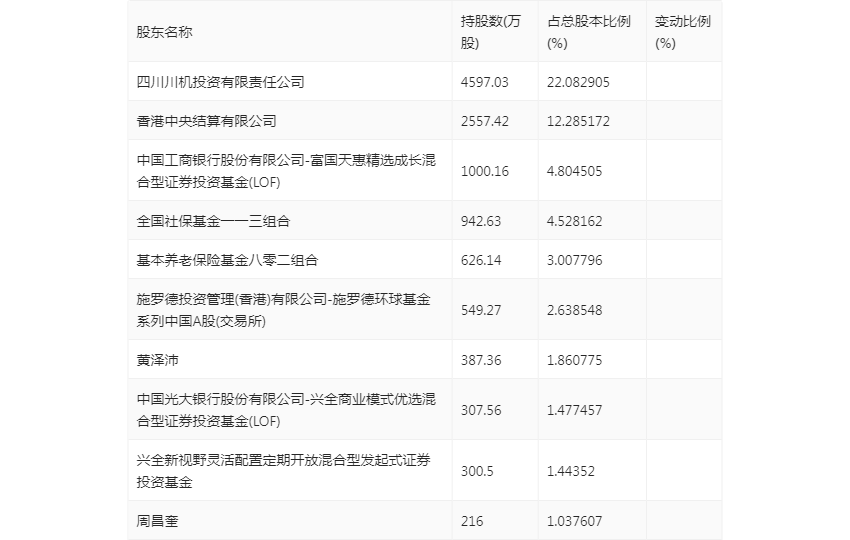
半年报显示,2023年上半年末的公司十大流通股东中,持股最多的为四川川机投资有限责任公司,占比22.08%。十大流通股东名单相比2023年一季报维持不变。在具体持股比例上,香港中央结算有限公司、中国光大银行股份有限公司-兴全商业模式优选混合型证券投资基金(LOF)、兴全新视野灵活配置定期开放混合型发起式证券投资基金持股有所下降。

筹码集中度方面,截至2023年二季度末,公司股东总户数为7748户,较一季度末增长了431户,增幅5.89%;户均持股市值由一季度末的122.96万元上升至124.18万元,增幅为0.99%。

指标注解:
市盈率
=总市值/净利润。当公司亏损时市盈率为负,此时用市盈率估值没有实际意义,往往用市净率或市销率做参考。
市净率
=总市值/净资产。市净率估值法多用于盈利波动较大而净资产相对稳定的公司。
市销率
=总市值/营业收入。市销率估值法通常用于亏损或微利的成长型公司。
文中市盈率和市销率采用TTM方式,即以截至最近一期财报(含预报)12个月的数据计算。市净率采用LF方式,即以最近一期财报数据计算。
市盈率为负时,不显示当期分位数,会导致折线图中断。