首只净值“腰斩”的权益类银行理财子产品出现了!
7月6日,某股份制大行理财公司旗下的阳光红卫生安全主题精选(下称“阳光红卫生”)单位净值跌破0.5;
7月7日,该产品的单位净值反弹到0.4999。
7月10日,该产品的单位净值继续报0.4977。
7月11日,该产品的单位净值再次反弹到0.4999。
连续四个交易日,产品净值徘徊在0.5元之下。这在银行理财子的历史上还是首次。
这种情况会蔓延么?
这个产品会反弹么?

净值“腰斩”
资料显示,此次涉及的阳光红卫生产品,成立于2020年5月,运作至今已超三年。
它是所属的银行理财子公司,发行的第一批权益理财产品中的一个,恰恰也是业绩最低迷的一个。
该产品的风险评级为较高风险(四星级)。这个风险评级恰如其分。
2023年7月6日,阳光红卫生的单位累计净值首次跌破0.5,至0.4987;截至4月11日,该产品单位净值仍至0.4999一线。
以面值推算,该理财产品的回撤水平超过50%。
公开数据还显示,该产品的发行募集规模为4902.15万元。但截至2023年一季度末,份额仍有4732.56万份,但产品规模只剩2897.21万元。

频频更改投资方向
阳光红卫生这个产品,曾经几度更改投资方向,这在业界也极为少见。
客观的说,管理这样一个权益产品,对投资经理而言确实难度很大。
该产品名叫“阳光红卫生安全主题精选”,顾名思义,其最初瞄准的是医药卫生领域的机会。
不过该产品的说明书早早留了“后路”,即产品主要投资于卫生安全主题直接或间接相关的行业。
而“何为主要,何为次要”等关键元素都未被提及。
这亦直接导致,该理财产品得以在不同基金经理“手上”出现迥然不同的操作结果。
投资经理已更换三人
而从产品成立至今,该产品已经经历了三任管理人,每个管理人的风格都不大一样。
该产品成立之初,投资经理是翟志金,主要侧重医疗卫生主题投资。但经过半年多的管理,该产品业绩明显平淡。
大约在2020年12月前后,该产品的投资经理换成了方伟宁。
方伟宁在接手产品之后,对持仓进行大刀阔斧的调整,大把买入新能源领域的热门股换入重仓序列。因踩中新能源反弹行情,该产品表现一度非常亮眼。
不过,因持仓和名字“卫生安全主题”有距离而遭人质疑,该持仓风格也没能持续太久。此后,阳光红卫生安全主题的2021年2季度持仓,医药股已再度成为“主旋律”。
2021年11月,阳光红卫生安全主题精选的投资经理变更为贾迪。
相对于曾经方伟宁直接把重仓“医疗概念股”变为“重仓新能源、科技股”,贾迪更强调了要“在保持一定医药仓位的前提下”。
此后在又逐渐加重医疗健康方面的持仓,并在此基础上寻找一些“结构性”机会。而果然,2023年一季报显示,该产品的重仓“风格”有再次回到“喝酒”、“吃药”和新兴的“AI ”领域。
附图:一季度重仓情况

最终,在这三个基金经理的“接力”运作下,这个产品的净值从1元跌到了0.5元以下。
权益类产品表现不尽人意
事实上,不仅是阳光红卫生安全主题精选,其余银行理财子权益类理财产品表现也不尽如人意。
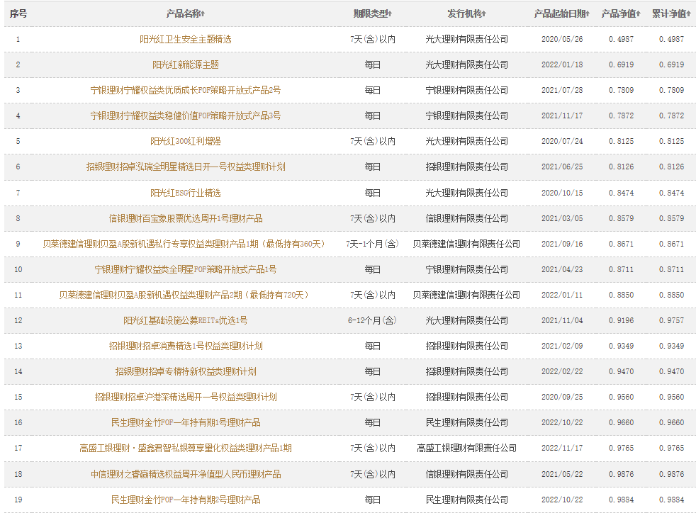
中国理财网显示,截至目前,银行理财子公司的权益类理财产品有30只。其中,单位净值跌破面值的有19只。
剩下的11只正收益产品中,有7只产品为7月份刚成立的。
真正经过运作而处于浮盈状态的只有5只产品。
这不啻为一种警示:
或许权益类类产品对于银行理财子而言,还是一个需要攻克的话题。
附注:图截自中国理财网,净值更新速度与官网有些许差异


探索之心并未动摇
尽管“探路者”们表现一般,但银行理财子公司拓宽权益类产品线的决心并未动摇。
中国理财网信息显示,今年5月,招银理财发行了招卓价值精选权益类理财计划;今年7月,华夏理财一口气推出6 只指数类权益产品。
华夏理财推出的这6只产品分别投向贵金属指数、新型储能指数、先进农业、水电、家居建材、微盘成长低波指数等方向。风险等级为CR5(激进型)。
值得注意的是,该系列产品的标的指数为华夏理财与申万、上海华证指数等机构合作定制的系列指数,合作机构包括易方达、申万菱信、国泰等基金公司;产品权益仓位不低于90%,完全按照标的指数的成份股组成及其权重构建股票投资组合。
银行理财子权益类理财的探索至今也有3年的时间,但投研能力仍待提升。目前,加快与传统该基金、券商等管理人合作或许不失为一种好选择。