
中证智能财讯 第一创业(002797)10月28日披露2023年三季报。2023年前三季度,公司实现营业总收入19.13亿元,同比增长0.05%;归母净利润3.28亿元,同比下降3.67%;扣非净利润3.17亿元,同比增长8.00%;经营活动产生的现金流量净额为10.33亿元,上年同期为-12.22亿元;报告期内,第一创业基本每股收益为0.078元,加权平均净资产收益率为2.23%。
以10月27日收盘价计算,第一创业目前市盈率(TTM)约为63.42倍,市净率(LF)约为1.67倍,市销率(TTM)约为9.43倍。

公司近年市盈率(TTM)、市净率(LF)、市销率(TTM)历史分位图如下所示:



根据三季报,公司第三季度实现营业总收入4.67亿元,同比下降19.87%,环比下降37.94%;归母净利润1202.12万元,同比下降77.44%,环比下降93.14%;扣非净利润1035.84万元,同比下降61.40%,环比下降93.97%。

2023年前三季度,公司经营活动现金流净额为10.33亿元,同比增加22.55亿元,主要系年初至报告期末交易性金融资产、代理买卖证券、拆入资金、融出资金、回购业务资金等变动的综合影响所致;筹资活动现金流净额-7.50亿元,同比减少20.61亿元;投资活动现金流净额-10.08亿元,上年同期为540.08万元。
2023年前三季度,公司营业收入现金比为349.43%,净现比为314.87%。

资产重大变化方面,截至2023年三季度末,公司货币资金较上年末减少12.52%,占公司总资产比重下降3.39个百分点;交易性金融资产较上年末增加13.49%,占公司总资产比重上升2.66个百分点;其他权益工具投资合计较上年末增加1838.78%,占公司总资产比重上升1.96个百分点;买入返售金融资产较上年末减少30.66%,占公司总资产比重下降1.32个百分点。

负债重大变化方面,截至2023年三季度末,公司交易性金融负债合计较上年末增加71.24%,占公司总资产比重上升2.21个百分点;卖出回购金融资产款较上年末增加9.34%,占公司总资产比重上升0.49个百分点;代理买卖证券款较上年末减少11.24%,占公司总资产比重下降2.90个百分点;应付职工薪酬较上年末减少34.71%,占公司总资产比重下降0.72个百分点。

在偿债能力方面,公司2023年三季度末资产负债率为69.86%,相比上年末上升1.78个百分点;有息资产负债率为14.56%,相比上年末下降1.57个百分点。

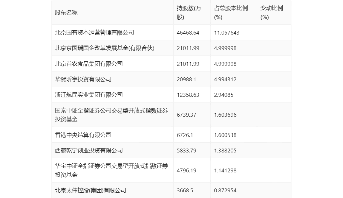
三季报显示,2023年三季度末公司十大流通股东中,持股最多的为北京国有资本运营管理有限公司,占比11.06%。十大流通股东名单相比2023年半年报维持不变。在具体持股比例上,国泰中证全指证券公司交易型开放式指数证券投资基金、香港中央结算有限公司、华宝中证全指证券公司交易型开放式指数证券投资基金持股有所下降。

筹码集中度方面,截至2023年三季度末,公司股东总户数为21.1万户,较上半年末下降了2869户,降幅1.34%;户均持股市值由上半年末的11.24万元上升至11.73万元,增幅为4.36%。

指标注解:
市盈率
=总市值/净利润。当公司亏损时市盈率为负,此时用市盈率估值没有实际意义,往往用市净率或市销率做参考。
市净率
=总市值/净资产。市净率估值法多用于盈利波动较大而净资产相对稳定的公司。
市销率
=总市值/营业收入。市销率估值法通常用于亏损或微利的成长型公司。
文中市盈率和市销率采用TTM方式,即以截至最近一期财报(含预报)12个月的数据计算。市净率采用LF方式,即以最近一期财报数据计算。
市盈率为负时,不显示当期分位数,会导致折线图中断。