
中证智能财讯 苏宁环球(000718)8月30日披露2023年半年度报告。2023年上半年,公司实现营业总收入10.33亿元,同比下降8.76%;归母净利润3.03亿元,同比下降7.94%;扣非净利润3.05亿元,同比下降7.00%;经营活动产生的现金流量净额为4.08亿元,同比增长24.38%;报告期内,苏宁环球基本每股收益为0.0997元,加权平均净资产收益率为3.13%。
以8月29日收盘价计算,苏宁环球目前市盈率(TTM)约为29.17倍,市净率(LF)约为1.03倍,市销率(TTM)约为4.52倍。

公司近年市盈率(TTM)、市净率(LF)、市销率(TTM)历史分位图如下所示:



根据半年报,公司第二季度实现营业总收入5.99亿元,同比下降8.57%,环比增长38.22%;归母净利润1.76亿元,同比下降10.32%,环比增长38.67%;扣非净利润1.81亿元,同比下降7.36%,环比增长46.76%。

分产品来看,2023年上半年公司主营业务中,房地产收入8.45亿元,同比下降13.39%,占营业收入的81.84%;医疗美容收入0.94亿元,同比增长25.19%,占营业收入的9.08%;酒店收入收入0.63亿元,同比增长36.23%,占营业收入的6.10%。
2023年上半年,公司毛利率为62.93%,同比下降1.10个百分点;净利率为29.14%,较上年同期上升0.35个百分点。从单季度指标来看,2023年第二季度公司毛利率为61.07%,同比下降2.36个百分点,环比下降4.42个百分点;净利率为29.15%,较上年同期下降0.63个百分点,较上一季度上升0.03个百分点。

分产品看,房地产、酒店收入、文化类2023年上半年毛利率分别为65.20%、54.84%、100.00%。
数据显示,2023年上半年公司加权平均净资产收益率为3.13%,较上年同期下降0.53个百分点;公司2023年上半年投入资本回报率为2.59%,较上年同期下降0.23个百分点。

2023上半年,公司经营活动现金流净额为4.08亿元,同比增长24.38%;筹资活动现金流净额-4620.33万元,同比减少6210.72万元;投资活动现金流净额-3.25亿元,上年同期为-2.9亿元。
进一步统计发现,2023年上半年公司自由现金流为2.53亿元,相比上年同期下降46.87%。

2023年上半年,公司营业收入现金比为125.56%,净现比为134.76%。

2023年上半年,公司期间费用为2.07亿元,较上年同期增加1595.97万元;期间费用率为20.05%,较上年同期上升3.17个百分点。其中,销售费用同比增长8.15%,管理费用同比增长5.18%,财务费用同比增长44.96%。

资产重大变化方面,截至2023年二季度末,公司固定资产较上年末增加44.60%,占公司总资产比重上升2.31个百分点;存货余额较上年末减少1.76%,占公司总资产比重下降1.64个百分点;货币资金余额较上年末减少7.83%,占公司总资产比重下降0.62个百分点;预付款项较上年末减少6.28%,占公司总资产比重下降0.13个百分点。

负债重大变化方面,截至2023年二季度末,公司长期借款较上年末增加44.46%,占公司总资产比重上升2.02个百分点;合同负债较上年末增加67.39%,占公司总资产比重上升1.91个百分点;一年内到期的非流动负债较上年末减少30.81%,占公司总资产比重下降1.77个百分点;应付账款较上年末减少4.65%,占公司总资产比重下降0.63个百分点。

从存货变动来看,截至2023年上半年末,公司存货账面价值为92.25亿元,占净资产的97.68%,较上年末减少1.65亿元。其中,存货跌价准备为9457.57万元,计提比例为1.01%。

偿债能力方面,公司2023年二季度末资产负债率为37.47%,相比上年末增加1.00个百分点;有息资产负债率为14.41%,相比上年末增加0.12个百分点。

2023年上半年,公司流动比率为2.44,速动比率为0.49。

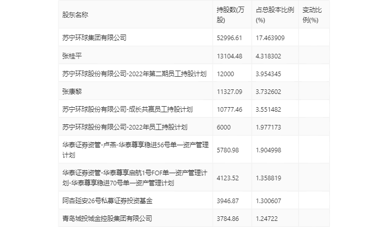
半年报显示,2023年上半年末的公司十大流通股东中,持股最多的为苏宁环球集团有限公司,占比17.46%。十大流通股东名单相比2023年一季报维持不变。

值得注意的是,根据半年报数据,苏宁环球17.35%股份处于质押状态。其中,第一大股东苏宁环球集团有限公司质押2.65亿股公司股份,占其全部持股的49.97%。
筹码集中度方面,截至2023年二季度末,公司股东总户数为8.57万户,较一季度末下降了2880户,降幅3.25%;户均持股市值由一季度末的10.52万元下降至9.67万元,降幅为8.08%。

指标注解:
市盈率
=总市值/净利润。当公司亏损时市盈率为负,此时用市盈率估值没有实际意义,往往用市净率或市销率做参考。
市净率
=总市值/净资产。市净率估值法多用于盈利波动较大而净资产相对稳定的公司。
市销率
=总市值/营业收入。市销率估值法通常用于亏损或微利的成长型公司。
文中市盈率和市销率采用TTM方式,即以截至最近一期财报(含预报)12个月的数据计算。市净率采用LF方式,即以最近一期财报数据计算。
市盈率为负时,不显示当期分位数,会导致折线图中断。