
中证智能财讯 亚钾国际(000893)8月30日披露2023年半年度报告。2023年上半年,公司实现营业总收入20.22亿元,同比增长14.65%;归母净利润7.16亿元,同比下降34.66%;扣非净利润7.24亿元,同比下降33.72%;经营活动产生的现金流量净额为9.60亿元,同比增长22.96%;报告期内,亚钾国际基本每股收益为0.7729元,加权平均净资产收益率为6.85%。
以8月29日收盘价计算,亚钾国际目前市盈率(TTM)约为16.2倍,市净率(LF)约为2.5倍,市销率(TTM)约为7.17倍。

公司近年市盈率(TTM)、市净率(LF)、市销率(TTM)历史分位图如下所示:



根据半年报,公司第二季度实现营业总收入11.67亿元,同比下降5.93%,环比增长36.62%;归母净利润3.81亿元,同比下降53.37%,环比增长13.38%;扣非净利润3.88亿元,同比下降52.24%,环比增长15.55%。

资料显示,公司主要从事钾盐开采、钾肥生产及销售等。
分产品来看,2023年上半年公司主营业务中,氯化钾收入20.01亿元,同比增长15.68%,占营业收入的98.96%;卤水收入0.20亿元,同比下降40.67%,占营业收入的0.99%。

2023年上半年,公司毛利率为62.22%,同比下降12.86个百分点;净利率为35.16%,较上年同期下降27.07个百分点。从单季度指标来看,2023年第二季度公司毛利率为59.26%,同比下降17.02个百分点,环比下降7.01个百分点;净利率为32.24%,较上年同期下降33.44个百分点,较上一季度下降6.91个百分点。

数据显示,2023年上半年公司加权平均净资产收益率为6.85%,较上年同期下降13.94个百分点;公司2023年上半年投入资本回报率为5.93%,较上年同期下降13.95个百分点。

2023上半年,公司经营活动现金流净额为9.60亿元,同比增长22.96%;筹资活动现金流净额-1.92亿元,同比减少2.63亿元;投资活动现金流净额-14.97亿元,上年同期为-4.32亿元。
进一步统计发现,2023年上半年公司自由现金流为-5.66亿元,上年同期为5.45亿元。

2023年上半年,公司营业收入现金比为108.79%,净现比为134.05%。

营运能力方面,2023年上半年,公司总资产周转率为0.15次,上年同期为0.28次(2022年上半年行业平均值为0.44次,公司位居同行业52/59);固定资产周转率为0.82次,上年同期为1.07次(2022年上半年行业平均值为1.52次,公司位居同行业43/59);公司应收账款周转率、存货周转率分别为7.81次、3.54次。

2023年上半年,公司期间费用为3.13亿元,较上年同期增加2.49亿元;期间费用率为15.49%,较上年同期上升11.85个百分点。其中,销售费用同比增长195.5%,管理费用同比增长292.6%,研发费用为955.95万元,财务费用由去年同期的-1575.16万元变为-414.72万元。

资产重大变化方面,截至2023年二季度末,公司货币资金余额较上年末减少42.60%,占公司总资产比重下降6.19个百分点;在建工程较上年末增加55.71%,占公司总资产比重上升4.56个百分点;无形资产较上年末增加0.36%,占公司总资产比重下降3.31个百分点;应收账款较上年末增加110.27%,占公司总资产比重上升1.25个百分点。

负债重大变化方面,截至2023年二季度末,公司合同负债较上年末增加287.42%,占公司总资产比重上升0.92个百分点;应付账款较上年末增加14.68%,占公司总资产比重上升0.33个百分点;一年内到期的非流动负债较上年末增加166.03%,占公司总资产比重上升0.12个百分点;其他流动负债较上年末增加749.54%,占公司总资产比重上升0.10个百分点。

从存货变动来看,截至2023年上半年末,公司存货账面价值为2.42亿元,占净资产的2.27%。根据财报,公司本期没有计提存货跌价准备。

偿债能力方面,公司2023年二季度末资产负债率为12.02%,相比上年末增加2.53个百分点;有息资产负债率为1.06%,相比上年末增加0.97个百分点。

2023年上半年,公司流动比率为1.42,速动比率为1.24。

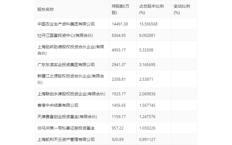
半年报显示,2023年上半年末的公司十大流通股东中,新进股东为上海凯利天壬资产管理有限公司,取代了一季度末的荷宝基金管理公司-荷宝资本成长基金。在具体持股比例上,新疆江之源股权投资合伙企业(有限合伙)、香港中央结算有限公司、非马洪策一号私募证券投资基金持股有所上升,上海劲邦劲德股权投资合伙企业(有限合伙)、广东东凌实业投资集团有限公司持股有所下降。

筹码集中度方面,截至2023年二季度末,公司股东总户数为3.72万户,较一季度末增长了778户,增幅2.13%;户均持股市值由一季度末的69.66万元下降至57.25万元,降幅为17.82%。

指标注解:
市盈率
=总市值/净利润。当公司亏损时市盈率为负,此时用市盈率估值没有实际意义,往往用市净率或市销率做参考。
市净率
=总市值/净资产。市净率估值法多用于盈利波动较大而净资产相对稳定的公司。
市销率
=总市值/营业收入。市销率估值法通常用于亏损或微利的成长型公司。
文中市盈率和市销率采用TTM方式,即以截至最近一期财报(含预报)12个月的数据计算。市净率采用LF方式,即以最近一期财报数据计算。
市盈率为负时,不显示当期分位数,会导致折线图中断。