融资融券自2010年进入大众视野以来,经过几年的发展,已经成为普通股民必不可少的一样炒股工具。对它的评论看法也存在两极分化,因为一提到融资融券带杠杆这个事情,喜欢它的朋友觉得他能给自己扩大收益和带来更多的套利技巧,不喜欢它的朋友一听到“杠杆”两字就深恶痛绝,而且很容易把杠杆这个词跟“爆仓、投机、破产、跳楼”等负面词语联系起来。
那炒股到底该不该用融资融券加“杠杆”?其实我想说的是,用融资融券买股,合法合规,合情合理,我们是否买某种资产,会看它的预期收益率,会衡量它的风险,主要风险和回报合适,加点杠杆没啥问题。
在股市这个“武林”里,你能有多牛逼,始终取决于你的“内力”有多深厚,跟用刀还是用剑没啥关系。
咱们言归正传,融资融券是什么?简单理解,融资就是向券商借钱,然后买更多的股票,扩大收益,也就是“做多”;融券就是向券商借股票卖出,然后买券还券,赚差价,俗称“做空”。
如果你要开通融资融券,那你需要满足什么条件呢?开通融资融券,需要满足的主要条件就两个,全市场半年交易经验,然后在某家券商满足20日日均资产50万就可以了。
条件满足了,我该怎么办理呢?两种方式,一种是直接去营业部办理,如果当地没有营业部,或者平时时间不太充裕的话,可能稍微麻烦点儿,那不妨可以试试第二种,联系你的证券客户经理,让其协助你快捷办理,这种方式就很方便,一般足不出户即可办理了。如果你准备开融资融券,可以根据自己的情况择优选择。
融资和融券有手续费吗?答案是肯定的,普通的A股账户有哪些手续费用,融资融券账户就有哪些费用,并且在原有基础的手续费用上,还多了融资利率和融券利率,你向券商借资金或借股票需要付利息这个不难理解吧?
目前几乎所有券商的融资利率一般都在8.35%左右,在此基础上是可以向下调整的,具体能调整到多少,这个取决于券商自身的优惠政策,以及你跟客户经理的协商,优惠政策决定了佣金利率的调整幅度,客户经理决定了佣金利率的调整结果。据了解,目前全市场是有极个别券商可以在无资金要求的情况下,同时做到佣金万1和融资利率5%的券商的,这个优惠还是蛮大的,对于投资者来说,投资也是一件长期的事情,自己拿到的佣金利率越低,未来所节约的成本也就越多。关于佣金利率,我也对全市场所有券商的佣金利率成本做了一个统计,具体如下,供大家参考避坑:

声明:文章图中所提佣金利率优惠来源于公众号【大鹏养基】
其次,融券的利率普遍高于融资利率,这个所有券商的都一样,毕竟券商拿券的成本本来就高,一般情况下,券商的自有券源利率在9.3%左右,专项券源在6%—8%之间,极少数2.99%起。而且券源目前也主要集中在头部大券商,多的在1000多只以上,少的也有1000只左右,如果对融券需求较高的话,就尽量选择排名靠前的头部大券商办理。
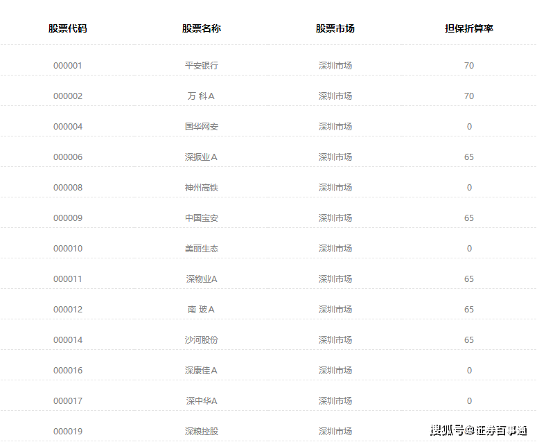
等融资融券账户开通后,佣金利率也调好了,接下来就可以直接划转担保品进行操作了。需要注意的是,不同的担保品价值是不一样的,因为这里面有一个“折算率”的问题,比如你用现金作为担保品,现金的折算率目前是100%,就是你有100万,可以再融资100万,加起来总共200万;但是,如果你用股票作为担保品的话,就有折扣了,不同股票的折算率不一样,最高的不超过70%,如下图:

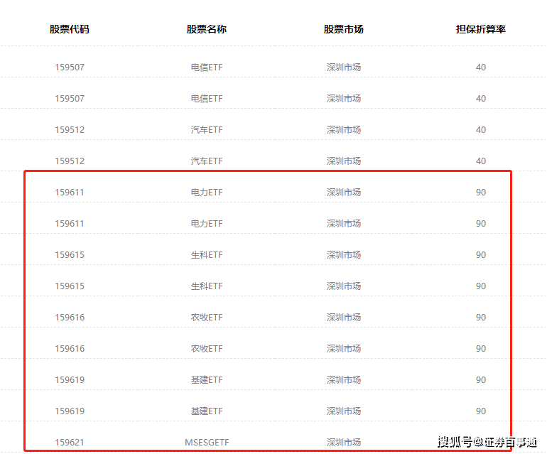
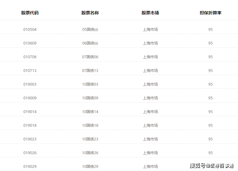
不过,国债和ETF的折算率会高很多,一般在90%以上,比如如下图:


担保品划转操作后,需要留意一个东西,叫维持担保比例,就是总资产/总负债:

在融资融券里面,只有当维持担保比例大于300%才可转出部分股票或资金,140%是警戒线,130%是追保线,110%是平仓线。
当你的维持担保比例触发上图蓝色的警戒线140%时,此时券商会限制账户继续买入股票或者新开融资合约。
当触发上图土色追保线130%时,此时需要在T+2日内补足担保品,也就是说必须继续向账户增加资金,或者主动清偿债务,使维持担保比列回到140%警戒线以上,否则券商在T+3日开始强制平仓。
当触发上图红色平仓线110%时,此时券商将立即进行强制平仓操作,没有商量的余地。
最后就是关于融资融券的技巧,除了它本身可以融资做多和融券做空以外,还有一些鲜为人知的套利技巧,比如:
1、融资只要不过夜,就是没有利息的。
2、如果你想杠杆最大化,那就以现金作为担保品,先融资买入,再用自有资金买入。
3、想做融资T+0交易?那就先融资买入,然后卖出相应的数量融券股票就可以锁定当日的盈亏。
4、想要融券T+0交易?那就先融券交易,然后买券还券,就可以完成日内交易。
5、想要增加打新额度?那就先用自有资金买入底仓标的,在用融资买入,这样就可以增加新股申购额度。
6、你想套现交易?那就先转入担保品证券,然后融资买入,转出证券后卖出即可得到最大33%的现金。
综上,就是关于融资融券从开户的办理,到开户后的佣金利率调整,再到开仓中的套利技巧等,都有进行简单的提及,如果你想开融资融券,但是又不懂融资融券,那希望这篇文章可以帮助到你。