
中证智能财讯 国恩股份(002768)10月31日披露2023年三季报。2023年前三季度,公司实现营业总收入126.68亿元,同比增长22.36%;归母净利润3.78亿元,同比下降29.26%;扣非净利润3.74亿元,同比下降26.68%;经营活动产生的现金流量净额为4.13亿元,同比增长0.10%;报告期内,国恩股份基本每股收益为1.3941元,加权平均净资产收益率为8.93%。

以10月30日收盘价计算,国恩股份目前市盈率(TTM)约为11.18倍,市净率(LF)约为1.28倍,市销率(TTM)约为0.36倍。

公司近年市盈率(TTM)、市净率(LF)、市销率(TTM)历史分位图如下所示:



根据三季报,公司第三季度实现营业总收入47.35亿元,同比增长12.19%,环比增长9.68%;归母净利润1.28亿元,同比下降17.99%,环比下降13.66%;扣非净利润1.34亿元,同比下降8.18%,环比下降4.20%。

资料显示,公司已发展成为拥有高分子改性材料、高分子复合材料、医用防护材料、可降解材料、体育草坪、光学(膜、片)材料、专用车及模块化房等七大业务板块及大健康产业中的明胶及空心胶囊、胶原蛋白肽、代血浆明胶、双蛋白人造肉、医、健、食、美等综合性集团企业。
2023年前三季度,公司毛利率为10.24%,同比下降2.22个百分点;净利率为3.44%,较上年同期下降2.22个百分点。从单季度指标来看,2023年第三季度公司毛利率为9.81%,同比上升0.35个百分点,环比下降0.86个百分点;净利率为2.97%,较上年同期下降1.04个百分点,较上一季度下降0.93个百分点。

数据显示,2023年前三季度公司加权平均净资产收益率为8.93%,较上年同期下降5.47个百分点;公司2023年前三季度投入资本回报率为5.15%,较上年同期下降2.83个百分点。

2023年前三季度,公司经营活动现金流净额为4.13亿元,同比增长0.10%;筹资活动现金流净额6.71亿元,同比增加579.61万元;投资活动现金流净额-6.09亿元,上年同期为-6.17亿元。
进一步统计发现,2023年前三季度公司自由现金流为-3.45亿元,上年同期为-2.09亿元。

2023年前三季度,公司营业收入现金比为108.85%,净现比为109.19%。

2023年前三季度,公司期间费用为6.99亿元,较上年同期增加1.93亿元;期间费用率为5.51%,较上年同期上升0.63个百分点。其中,销售费用同比增长25.71%,管理费用同比增长17.13%,研发费用同比增长56.73%,财务费用同比增长21.67%。
资料显示,研发费用的变动主要因为本期研发投入和研发人员增加。

资产重大变化方面,截至2023年三季度末,公司预付款项较上年末减少55.36%,占公司总资产比重下降7.09个百分点;应收账款较上年末增加51.58%,占公司总资产比重上升4.31个百分点;货币资金较上年末增加30.60%,占公司总资产比重上升2.49个百分点;存货较上年末增加24.09%,占公司总资产比重上升1.95个百分点。

负债重大变化方面,截至2023年三季度末,公司应付票据较上年末增加27.60%,占公司总资产比重上升2.40个百分点;短期借款较上年末增加28.74%,占公司总资产比重上升1.31个百分点;长期借款较上年末增加15.82%,占公司总资产比重上升0.32个百分点;应付账款较上年末减少25.77%,占公司总资产比重下降2.24个百分点。

在偿债能力方面,公司2023年三季度末资产负债率为56.26%,相比上年末上升2.50个百分点;有息资产负债率为27.75%,相比上年末上升3.13个百分点。

2023年前三季度,公司流动比率为1.63,速动比率为1.12。

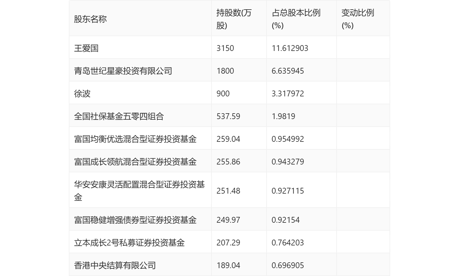
三季报显示,2023年三季度末公司十大流通股东中,新进股东为富国稳健增强债券型证券投资基金,取代了上半年末的华夏行业景气混合型证券投资基金。在具体持股比例上,全国社保基金五零四组合、富国均衡优选混合型证券投资基金、富国成长领航混合型证券投资基金持股有所上升,华安安康灵活配置混合型证券投资基金、立本成长2号私募证券投资基金、香港中央结算有限公司持股有所下降。

筹码集中度方面,截至2023年三季度末,公司股东总户数为2.06万户,较上半年末下降了183户,降幅0.88%;户均持股市值由上半年末的31.51万元下降至28.17万元,降幅为10.60%。

指标注解:
市盈率
=总市值/净利润。当公司亏损时市盈率为负,此时用市盈率估值没有实际意义,往往用市净率或市销率做参考。
市净率
=总市值/净资产。市净率估值法多用于盈利波动较大而净资产相对稳定的公司。
市销率
=总市值/营业收入。市销率估值法通常用于亏损或微利的成长型公司。
文中市盈率和市销率采用TTM方式,即以截至最近一期财报(含预报)12个月的数据计算。市净率采用LF方式,即以最近一期财报数据计算。
市盈率为负时,不显示当期分位数,会导致折线图中断。