
中证智能财讯 中国海防(600764)10月28日披露2023年三季报。2023年前三季度,公司实现营业总收入19.40亿元,同比下降24.16%;归母净利润1.23亿元,同比下降47.03%;扣非净利润8577.17万元,同比下降56.23%;经营活动产生的现金流量净额为-9987.92万元,上年同期为4.98亿元;报告期内,中国海防基本每股收益为0.1727元,加权平均净资产收益率为1.57%。
报告期内,公司合计非经常性损益为3692.13万元,其中计入当期损益的政府补助,但与公司正常经营业务密切相关,符合国家政策规定、按照一定标准定额或定量持续享受的政府补助除外为3179.68万元,非流动性资产处置损益为-46.17万元。


以10月27日收盘价计算,中国海防目前市盈率(TTM)约为31.77倍,市净率(LF)约为1.96倍,市销率(TTM)约为4.12倍。

公司近年市盈率(TTM)、市净率(LF)、市销率(TTM)历史分位图如下所示:



根据三季报,公司第三季度实现营业总收入5.85亿元,同比下降45.84%,环比下降36.33%;归母净利润3246.12万元,同比下降63.03%,环比下降56.54%;扣非净利润2110.1万元,同比下降73.36%,环比下降64.26%。

资料显示,公司的业务主要涵盖:电子防务装备领域、电子信息产业领域、专业技术服务领域,并在这些领域中开展水声电子防务产品、特装电子产品、电子信息产品等方向上的研发生产并提供相关专业技术服务。
2023年前三季度,公司毛利率为33.05%,同比上升2.94个百分点;净利率为6.32%,较上年同期下降2.74个百分点。从单季度指标来看,2023年第三季度公司毛利率为34.29%,同比上升8.30个百分点,环比上升5.04个百分点;净利率为5.55%,较上年同期下降2.58个百分点,较上一季度下降2.58个百分点。

数据显示,2023年前三季度公司加权平均净资产收益率为1.57%,较上年同期下降1.50个百分点;公司2023年前三季度投入资本回报率为1.41%,较上年同期下降1.45个百分点。

2023年前三季度,公司经营活动现金流净额为-9987.92万元,同比减少5.98亿元;筹资活动现金流净额1.18亿元,同比增加4.38亿元;投资活动现金流净额-4525.20万元,上年同期为-8.33亿元。
进一步统计发现,2023年前三季度公司自由现金流为-1.20亿元,上年同期为-2.28亿元。

2023年前三季度,公司营业收入现金比为98.71%,净现比为-81.41%。

2023年前三季度,公司期间费用为5.30亿元,较上年同期增加234.24万元;期间费用率为27.33%,较上年同期上升6.69个百分点。其中,销售费用同比增长16.09%,管理费用同比增长3.68%,研发费用同比下降5.67%,财务费用由去年同期的-47.57万元变为-267.79万元。

资产重大变化方面,截至2023年三季度末,公司应收账款较上年末增加32.05%,占公司总资产比重上升6.80个百分点;应收款项融资较上年末减少78.09%,占公司总资产比重下降3.29个百分点;应收票据较上年末减少62.67%,占公司总资产比重下降2.50个百分点;货币资金较上年末减少4.64%,占公司总资产比重下降2.00个百分点。

负债重大变化方面,截至2023年三季度末,公司其他应付款(含利息和股利)较上年末增加133.21%,占公司总资产比重上升2.84个百分点;应付账款较上年末增加17.45%,占公司总资产比重上升1.51个百分点;应交税费较上年末减少87.47%,占公司总资产比重下降1.15个百分点;短期借款较上年末增加22.38%,占公司总资产比重上升0.51个百分点。

在偿债能力方面,公司2023年三季度末资产负债率为30.07%,相比上年末上升2.96个百分点;有息资产负债率为7.07%,相比上年末下降0.16个百分点。

2023年前三季度,公司流动比率为3.22,速动比率为2.60。

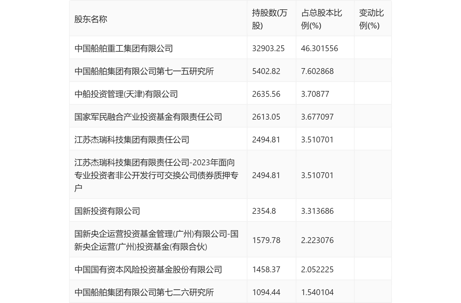
三季报显示,2023年三季度末公司十大流通股东中,新进股东为江苏杰瑞科技集团有限责任公司-2023年面向专业投资者非公开发行可交换公司债券质押专户,取代了上半年末的中国船舶集团有限公司第七一六研究所。在具体持股比例上,江苏杰瑞科技集团有限责任公司、国新投资有限公司持股有所下降。

筹码集中度方面,截至2023年三季度末,公司股东总户数为2.92万户,较上半年末下降了744户,降幅2.48%;户均持股市值由上半年末的64.60万元下降至56.02万元,降幅为13.28%。

指标注解:
市盈率
=总市值/净利润。当公司亏损时市盈率为负,此时用市盈率估值没有实际意义,往往用市净率或市销率做参考。
市净率
=总市值/净资产。市净率估值法多用于盈利波动较大而净资产相对稳定的公司。
市销率
=总市值/营业收入。市销率估值法通常用于亏损或微利的成长型公司。
文中市盈率和市销率采用TTM方式,即以截至最近一期财报(含预报)12个月的数据计算。市净率采用LF方式,即以最近一期财报数据计算。
市盈率为负时,不显示当期分位数,会导致折线图中断。