
中证智能财讯 陕西煤业(601225)10月28日披露2023年三季报。2023年前三季度,公司实现营业总收入1274.32亿元,同比下降2.41%;归母净利润161.80亿元,同比下降44.56%;扣非净利润189.96亿元,同比下降15.56%;经营活动产生的现金流量净额为284.70亿元,同比下降34.43%;报告期内,陕西煤业基本每股收益为1.67元,加权平均净资产收益率为14.87%。

以10月27日收盘价计算,陕西煤业目前市盈率(TTM)约为7.85倍,市净率(LF)约为2.01倍,市销率(TTM)约为1.06倍。

公司近年市盈率(TTM)、市净率(LF)、市销率(TTM)历史分位图如下所示:



根据三季报,公司第三季度实现营业总收入367.71亿元,同比下降21.31%,环比下降19.81%;归母净利润46.01亿元,同比增长27.07%,环比下降1.43%;扣非净利润53.64亿元,同比下降27.91%,环比下降15.72%。

资料显示,公司主要从事煤炭开采、洗选、运输、销售以及生产服务等业务,煤炭产品主要用于电力、化工及冶金等行业。
2023年前三季度,公司毛利率为37.27%,同比下降5.51个百分点;净利率为21.47%,较上年同期下降10.96个百分点。从单季度指标来看,2023年第三季度公司毛利率为37.88%,同比下降2.77个百分点,环比上升3.17个百分点;净利率为21.36%,较上年同期上升4.21个百分点,较上一季度上升3.28个百分点。

数据显示,2023年前三季度公司加权平均净资产收益率为14.87%,较上年同期下降14.86个百分点;公司2023年前三季度投入资本回报率为19.05%,较上年同期下降9.97个百分点。

2023年前三季度,公司经营活动现金流净额为284.70亿元,同比下降34.43%,主要系本期煤炭价格波动下行使经营活动现金流量减少所致;筹资活动现金流净额-261.40亿元,同比减少70.92亿元;投资活动现金流净额-191.24亿元,上年同期为-13.73亿元。
进一步统计发现,2023年前三季度公司自由现金流为242.04亿元,相比上年同期下降43.06%。

2023年前三季度,公司营业收入现金比为126.09%,净现比为175.97%。

2023年前三季度,公司期间费用为61.11亿元,较上年同期减少4.46亿元;期间费用率为4.80%,较上年同期下降0.22个百分点。其中,销售费用同比增长15.09%,管理费用同比下降9.12%,研发费用同比增长83.1%,财务费用由去年同期的-2.35亿元变为-3.89亿元。
资料显示,财务费用的变动主要因为本期有息负债规模较上期减少,利息费用同比下降;研发费用的变动主要因为本期研发投入增加。

资产重大变化方面,截至2023年三季度末,公司货币资金较上年末减少32.19%,占公司总资产比重下降5.72个百分点;其他非流动资产较上年末减少92.93%,占公司总资产比重下降3.63个百分点;长期股权投资较上年末增加29.81%,占公司总资产比重上升2.51个百分点;固定资产较上年末减少2.66%,占公司总资产比重上升1.95个百分点。

负债重大变化方面,截至2023年三季度末,公司其他应付款(含利息和股利)较上年末增加459.28%,占公司总资产比重上升2.60个百分点;合同负债较上年末增加23.18%,占公司总资产比重上升2.11个百分点;应交税费较上年末减少41.11%,占公司总资产比重下降1.25个百分点;应付账款较上年末减少10.63%,占公司总资产比重下降0.28个百分点。

在偿债能力方面,公司2023年三季度末资产负债率为38.25%,相比上年末上升3.40个百分点;有息资产负债率为2.43%,相比上年末下降0.67个百分点。

2023年前三季度,公司流动比率为1.34,速动比率为1.25。

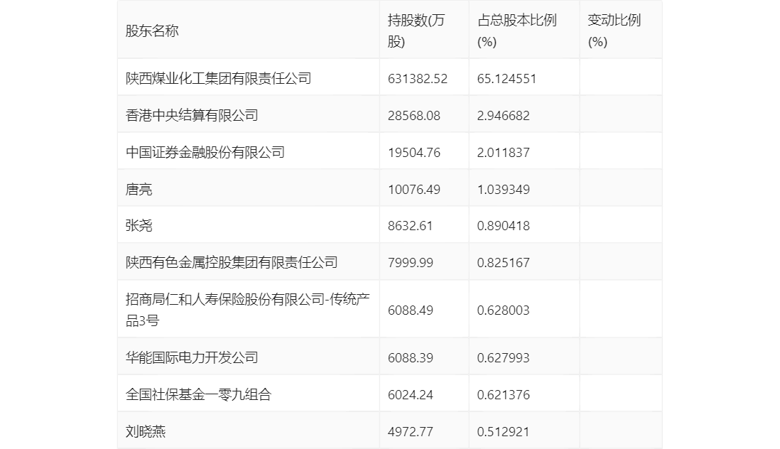
三季报显示,2023年三季度末公司十大流通股东中,新进股东为招商局仁和人寿保险股份有限公司-传统产品3号,取代了上半年末的国新投资有限公司。在具体持股比例上,唐亮、张尧、全国社保基金一零九组合、刘晓燕持股有所上升,香港中央结算有限公司持股有所下降。

筹码集中度方面,截至2023年三季度末,公司股东总户数为6.99万户,较上半年末下降了1.69万户,降幅19.44%;户均持股市值由上半年末的203.31万元上升至256.12万元,增幅为25.98%。

指标注解:
市盈率
=总市值/净利润。当公司亏损时市盈率为负,此时用市盈率估值没有实际意义,往往用市净率或市销率做参考。
市净率
=总市值/净资产。市净率估值法多用于盈利波动较大而净资产相对稳定的公司。
市销率
=总市值/营业收入。市销率估值法通常用于亏损或微利的成长型公司。
文中市盈率和市销率采用TTM方式,即以截至最近一期财报(含预报)12个月的数据计算。市净率采用LF方式,即以最近一期财报数据计算。
市盈率为负时,不显示当期分位数,会导致折线图中断。