
中证智能财讯 盖世食品(836826)10月27日披露2023年三季报。2023年前三季度,公司实现营业总收入3.59亿元,同比增长32.12%;归母净利润2668.27万元,同比下降0.55%;扣非净利润2674.30万元,同比增长2.17%;经营活动产生的现金流量净额为1.18亿元,上年同期为-5032.83万元;报告期内,盖世食品基本每股收益为0.2273元,加权平均净资产收益率为8.23%。

公告显示,公司前三季度营业收入变化主要由于销售订单增加,销量增加,销售额相应增加。
以10月27日收盘价计算,盖世食品目前市盈率(TTM)约为19.12倍,市净率(LF)约为1.96倍,市销率(TTM)约为1.36倍。

公司近年市盈率(TTM)、市净率(LF)、市销率(TTM)历史分位图如下所示:



根据三季报,公司第三季度实现营业总收入1.34亿元,同比增长38.18%,环比增长3.37%;归母净利润1736.35万元,同比增长30.67%,环比增长21.26%;扣非净利润1718.45万元,同比增长30.13%,环比增长22.32%。

资料显示,盖世食品股份有限公司主营业务为海洋食品和食用菌食品等预制凉菜的研发、生产和销售,致力于打造中国预制凉菜领导品牌。
2023年前三季度,公司毛利率为19.89%,同比上升2.89个百分点;净利率为7.43%,较上年同期下降2.43个百分点。从单季度指标来看,2023年第三季度公司毛利率为22.02%,同比上升2.30个百分点,环比上升1.23个百分点;净利率为13.00%,较上年同期下降0.74个百分点,较上一季度上升1.92个百分点。

数据显示,2023年前三季度公司加权平均净资产收益率为8.23%,较上年同期下降3.72个百分点;公司2023年前三季度投入资本回报率为6.94%,较上年同期下降2.57个百分点。

2023年前三季度,公司经营活动现金流净额为1.18亿元,同比增加1.68亿元,主要系报告期内销售业务规模扩大,经营活动现金流入增加;同时受上年大量鱼籽备货的影响,报告期内经营活动现金流出同比大幅减少所致;筹资活动现金流净额-3791.92万元,同比减少1.56亿元,主要系报告期内新增借款同比减少,同时偿还上年借款所致;投资活动现金流净额-8226.26万元,上年同期为-1254.57万元,主要系报告期内对比上年同期未赎回理财投资,同时报告期内增加理财投资规模所致。
进一步统计发现,2023年前三季度公司自由现金流为1966.52万元,上年同期为-6294.73万元。

2023年前三季度,公司营业收入现金比为106.74%,净现比为441.37%。

2023年前三季度,公司期间费用为2677.65万元,较上年同期增加1189.49万元;期间费用率为7.45%,较上年同期上升1.98个百分点。其中,销售费用同比增长47.85%,管理费用同比增长23.81%,研发费用同比增长27.58%,财务费用由去年同期的-458.30万元变为58.42万元。
资料显示,销售费用的变动主要因为报告期内销售规模扩大,展会费、差旅费及薪资都同步增加;财务费用的变动主要因为汇兑收益同比减少。

资产重大变化方面,截至2023年三季度末,公司存货较上年末减少47.88%,占公司总资产比重下降16.64个百分点;在建工程较上年末增加48.63%,占公司总资产比重上升8.98个百分点;交易性金融资产较上年末增加354.31%,占公司总资产比重上升7.56个百分点;应收账款较上年末增加31.29%,占公司总资产比重上升1.86个百分点。

负债重大变化方面,截至2023年三季度末,公司短期借款较上年末减少28.38%,占公司总资产比重下降6.14个百分点;应付账款较上年末增加48.27%,占公司总资产比重上升2.85个百分点,主要系应付江苏盖世在建工程部分的应付工程款增加;其他应付款(含利息和股利)较上年末增加114.87%,占公司总资产比重上升0.59个百分点;合同负债较上年末增加58.66%,占公司总资产比重上升0.39个百分点,主要系报告期末国内客户预收账款增加。

在偿债能力方面,公司2023年三季度末资产负债率为33.42%,相比上年末上升3.60个百分点;有息资产负债率为18.95%,相比上年末上升0.02个百分点。

2023年前三季度,公司流动比率为2.13,速动比率为1.54。

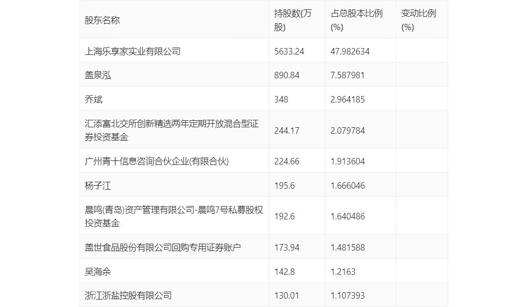
三季报显示,2023年三季度末公司十大股东中,新进股东为盖世食品股份有限公司回购专用证券账户,取代了上半年末的林春棋。在具体持股比例上,晨鸣(青岛)资产管理有限公司-晨鸣7号私募股权投资基金、吴海余持股有所上升,汇添富北交所创新精选两年定期开放混合型证券投资基金、广州青十信息咨询合伙企业(有限合伙)、杨子江、浙江浙盐控股有限公司持股有所下降。

筹码集中度方面,截至2023年三季度末,公司股东总户数为3398户,较上半年末下降了8户,降幅0.23%;户均持股市值由上半年末的21.30万元下降至19.80万元,降幅为7.04%。

指标注解:
市盈率
=总市值/净利润。当公司亏损时市盈率为负,此时用市盈率估值没有实际意义,往往用市净率或市销率做参考。
市净率
=总市值/净资产。市净率估值法多用于盈利波动较大而净资产相对稳定的公司。
市销率
=总市值/营业收入。市销率估值法通常用于亏损或微利的成长型公司。
文中市盈率和市销率采用TTM方式,即以截至最近一期财报(含预报)12个月的数据计算。市净率采用LF方式,即以最近一期财报数据计算。
市盈率为负时,不显示当期分位数,会导致折线图中断。
下一篇:东方国际创业股份有限公司