
中证智能财讯 万达信息(300168)10月28日披露2023年三季报。2023年前三季度,公司实现营业总收入19.05亿元,同比下降14.56%;归母净利润亏损3.38亿元,上年同期亏损3.20亿元;扣非净利润亏损3.78亿元,上年同期亏损3.54亿元;经营活动产生的现金流量净额为-8.15亿元,上年同期为-8.58亿元;报告期内,万达信息基本每股收益为-0.234元,加权平均净资产收益率为-11.05%。
以10月27日收盘价计算,万达信息目前市盈率(TTM)约为-42.51倍,市净率(LF)约为4.52倍,市销率(TTM)约为4.51倍。

公司近年市盈率(TTM)、市净率(LF)、市销率(TTM)历史分位图如下所示:



根据三季报,公司第三季度实现营业总收入4.97亿元,同比下降54.70%,环比下降33.23%;归母净利润-2.41亿元,同比下降141.19%,环比下降346.45%;扣非净利润-2.49亿元,同比下降143.34%,环比下降219.17%。

资料显示,公司作为公司“3+2”架构中的重要业务板块,智慧医卫历经二十余年发展,形成了覆盖医疗保障、药品管理、区域卫生、公共卫生、医疗服务、基层卫生等领域的全线产品和解决方案。
2023年前三季度,公司毛利率为24.93%,同比下降0.51个百分点;净利率为-17.84%,较上年同期下降2.49个百分点。从单季度指标来看,2023年第三季度公司毛利率为13.58%,同比下降7.08个百分点,环比下降13.03个百分点;净利率为-48.30%,较上年同期下降38.53个百分点,较上一季度下降41.43个百分点。

数据显示,2023年前三季度公司加权平均净资产收益率为-11.05%,较上年同期增长11.93个百分点;公司2023年前三季度投入资本回报率为-5.39%,较上年同期下降0.95个百分点。

2023年前三季度,公司经营活动现金流净额为-8.15亿元,同比增加4330.48万元;筹资活动现金流净额13.60亿元,同比增加8.12亿元,主要系报告期内公司收到向特定对象发行股票募集资金所致;投资活动现金流净额-3.18亿元,上年同期为-6758.3万元,主要系报告期内公司资本化的募集资金投入项目加大投入所致。
进一步统计发现,2023年前三季度公司自由现金流为-13.72亿元,上年同期为-10.95亿元。

2023年前三季度,公司营业收入现金比为79.64%。

2023年前三季度,公司期间费用为8.27亿元,较上年同期减少4012.30万元;但期间费用率为43.39%,较上年同期上升4.52个百分点。其中,销售费用同比下降7.54%,管理费用同比下降10.61%,研发费用同比增长13.21%,财务费用同比下降27.24%。

资产重大变化方面,截至2023年三季度末,公司开发支出较上年末增加272.02%,占公司总资产比重上升4.39个百分点;无形资产较上年末减少26.16%,占公司总资产比重下降3.22个百分点;货币资金较上年末增加15.18%,占公司总资产比重上升1.78个百分点;应收账款较上年末减少8.00%,占公司总资产比重下降1.01个百分点。

负债重大变化方面,截至2023年三季度末,公司短期借款较上年末减少37.04%,占公司总资产比重下降17.25个百分点;合同负债较上年末减少44.28%,占公司总资产比重下降7.58个百分点;长期借款较上年末增加66.60%,占公司总资产比重上升4.27个百分点;一年内到期的非流动负债较上年末增加570.92%,占公司总资产比重上升2.52个百分点。

在偿债能力方面,公司2023年三季度末资产负债率为60.35%,相比上年末下降21.74个百分点;有息资产负债率为40.37%,相比上年末下降10.46个百分点。

2023年前三季度,公司流动比率为1.19,速动比率为0.94。

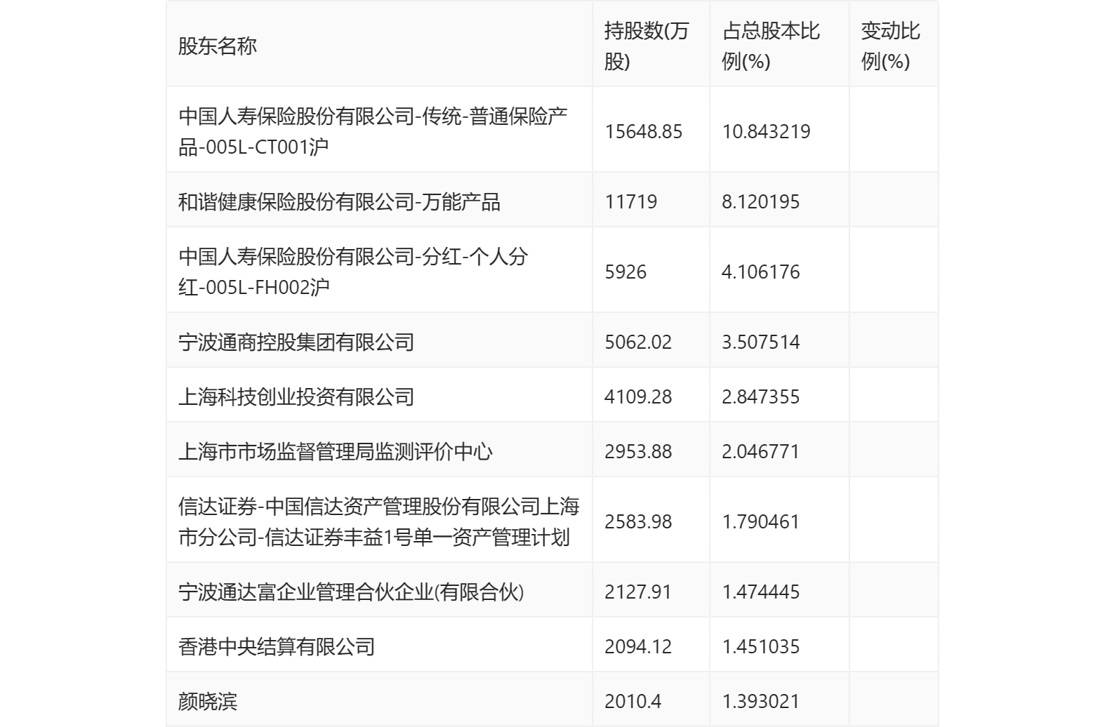
三季报显示,2023年三季度末公司十大流通股东中,新进股东为上海科技创业投资有限公司、信达证券-中国信达资产管理股份有限公司上海市分公司-信达证券丰益1号单一资产管理计划、宁波通达富企业管理合伙企业(有限合伙),取代了上半年末的陈耀远、信泰人寿保险股份有限公司-传统产品、王孝安、西安国际医学投资股份有限公司。在具体持股比例上,和谐健康保险股份有限公司-万能产品、香港中央结算有限公司、颜晓滨持股有所上升,上海市市场监督管理局监测评价中心持股有所下降。

筹码集中度方面,截至2023年三季度末,公司股东总户数为5.59万户,较上半年末下降了1555户,降幅2.70%;户均持股市值由上半年末的28.44万元下降至24.56万元,降幅为13.64%。

指标注解:
市盈率
=总市值/净利润。当公司亏损时市盈率为负,此时用市盈率估值没有实际意义,往往用市净率或市销率做参考。
市净率
=总市值/净资产。市净率估值法多用于盈利波动较大而净资产相对稳定的公司。
市销率
=总市值/营业收入。市销率估值法通常用于亏损或微利的成长型公司。
文中市盈率和市销率采用TTM方式,即以截至最近一期财报(含预报)12个月的数据计算。市净率采用LF方式,即以最近一期财报数据计算。
市盈率为负时,不显示当期分位数,会导致折线图中断。