
中证智能财讯 中华企业(600675)10月28日披露2023年三季报。2023年前三季度,公司实现营业总收入94.70亿元,同比增长400.71%;归母净利润7.81亿元,同比扭亏;扣非净利润4.51亿元,同比扭亏;经营活动产生的现金流量净额为-14.54亿元,上年同期为32.23亿元;报告期内,中华企业基本每股收益为0.13元,加权平均净资产收益率为5.29%。
报告期内,公司合计非经常性损益为3.30亿元,其中非流动性资产处置损益为3.29亿元。


公告显示,公司前三季度营业收入变化主要由于公司具备结转营业收入条件的项目较上年同期增加;归母净利润变化主要由于公司结转的营业收入较上年同期增加。
以10月27日收盘价计算,中华企业目前市盈率(TTM)约为15.54倍,市净率(LF)约为1.36倍,市销率(TTM)约为2.01倍。

公司近年市盈率(TTM)、市净率(LF)、市销率(TTM)历史分位图如下所示:



根据三季报,公司第三季度实现营业总收入67.54亿元,同比增长1044.24%,环比增长190.15%;归母净利润8.88亿元,同比增长659.67%,环比增长447.30%;扣非净利润6.04亿元,同比增长431.91%,环比增长247.04%。

资料显示,公司以中高端商品住宅开发为核心,同步发展商办地产、资产运营、社区服务、物业管理等相关产业。
2023年前三季度,公司毛利率为26.09%,同比上升2.43个百分点;净利率为7.85%,较上年同期上升34.13个百分点。从单季度指标来看,2023年第三季度公司毛利率为23.58%,同比下降2.40个百分点,环比下降9.72个百分点;净利率为13.06%,较上年同期上升38.72个百分点,较上一季度上升3.87个百分点。

数据显示,2023年前三季度公司加权平均净资产收益率为5.29%,较上年同期增长8.34个百分点;公司2023年前三季度投入资本回报率为2.77%,较上年同期增长3.18个百分点。

2023年前三季度,公司经营活动现金流净额为-14.54亿元,同比减少46.77亿元,主要系报告期内公司支付的各项税费以及购买商品、接受劳务支付的现金较上年同期增加所致;筹资活动现金流净额1.70亿元,同比增加17.31亿元;投资活动现金流净额17.18亿元,上年同期为-1.61亿元。
进一步统计发现,2023年前三季度公司自由现金流为-26.48亿元,上年同期为30.97亿元。

2023年前三季度,公司营业收入现金比为105.64%,净现比为-186.11%。

2023年前三季度,公司期间费用为8.72亿元,较上年同期增加2.07亿元;但期间费用率为9.21%,较上年同期下降25.95个百分点。其中,销售费用同比下降32.11%,管理费用同比增长9.14%,财务费用同比增长54.79%。

资产重大变化方面,截至2023年三季度末,公司货币资金较上年末增加3.02%,占公司总资产比重上升2.99个百分点;其他应收款(含利息和股利)较上年末减少77.91%,占公司总资产比重下降1.17个百分点;存货较上年末减少9.59%,占公司总资产比重下降1.12个百分点;递延所得税资产较上年末增加0.15%,占公司总资产比重上升0.20个百分点。

负债重大变化方面,截至2023年三季度末,公司一年内到期的非流动负债较上年末增加326.32%,占公司总资产比重上升8.40个百分点;应交税费较上年末减少76.85%,占公司总资产比重下降5.93个百分点;应付债券较上年末减少26.90%,占公司总资产比重下降3.24个百分点;其他应付款(含利息和股利)较上年末减少35.92%,占公司总资产比重下降2.89个百分点。

在偿债能力方面,公司2023年三季度末资产负债率为71.35%,相比上年末下降3.07个百分点;有息资产负债率为38.93%,相比上年末上升6.32个百分点。

2023年前三季度,公司流动比率为1.94,速动比率为0.73。

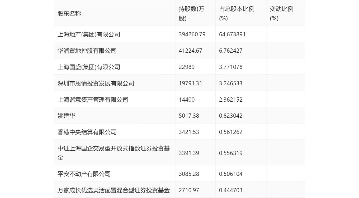
三季报显示,2023年三季度末公司十大流通股东中,新进股东为香港中央结算有限公司,取代了上半年末的深圳钦舟实业发展有限公司。在具体持股比例上,深圳市恩情投资发展有限公司、万家成长优选灵活配置混合型证券投资基金持股有所上升,中证上海国企交易型开放式指数证券投资基金、平安不动产有限公司持股有所下降。

筹码集中度方面,截至2023年三季度末,公司股东总户数为5.57万户,较上半年末下降了5046户,降幅8.31%;户均持股市值由上半年末的29.62万元上升至39.31万元,增幅为32.71%。

指标注解:
市盈率
=总市值/净利润。当公司亏损时市盈率为负,此时用市盈率估值没有实际意义,往往用市净率或市销率做参考。
市净率
=总市值/净资产。市净率估值法多用于盈利波动较大而净资产相对稳定的公司。
市销率
=总市值/营业收入。市销率估值法通常用于亏损或微利的成长型公司。
文中市盈率和市销率采用TTM方式,即以截至最近一期财报(含预报)12个月的数据计算。市净率采用LF方式,即以最近一期财报数据计算。
市盈率为负时,不显示当期分位数,会导致折线图中断。