
中证智能财讯 新坐标(603040)10月27日披露2023年三季报。2023年前三季度,公司实现营业总收入4.22亿元,同比增长19.34%;归母净利润1.35亿元,同比增长20.11%;扣非净利润1.28亿元,同比增长25.69%;经营活动产生的现金流量净额为2.17亿元,同比增长173.98%;报告期内,新坐标基本每股收益为1元,加权平均净资产收益率为11.68%。

以10月26日收盘价计算,新坐标目前市盈率(TTM)约为17.57倍,市净率(LF)约为2.63倍,市销率(TTM)约为5.26倍。

公司近年市盈率(TTM)、市净率(LF)、市销率(TTM)历史分位图如下所示:



根据三季报,公司第三季度实现营业总收入1.5亿元,同比下降1.80%,环比增长6.40%;归母净利润4111.09万元,同比下降12.01%,环比下降10.16%;扣非净利润3892.44万元,同比下降12.13%,环比下降14.13%。

资料显示,公司主营业务为精密零部件的研发、生产和销售。公司主要产品包括气门组精密零部件、气门传动组精密零部件以及其他精密零部件等,产品目前主要应用于汽车、摩托车发动机的配气机构。
2023年前三季度,公司毛利率为54.84%,同比下降0.46个百分点;净利率为32.28%,较上年同期下降1.63个百分点。从单季度指标来看,2023年第三季度公司毛利率为51.25%,同比下降0.87个百分点,环比下降3.06个百分点;净利率为28.24%,较上年同期下降4.17个百分点,较上一季度下降4.78个百分点。

数据显示,2023年前三季度公司加权平均净资产收益率为11.68%,较上年同期增长0.50个百分点;公司2023年前三季度投入资本回报率为11.08%,较上年同期下降0.30个百分点。

2023年前三季度,公司经营活动现金流净额为2.17亿元,同比增长173.98%,主要系报告期内因销售增长回款增加及票据到期结算增加所致;筹资活动现金流净额-1575.86万元,同比增加1883.47万元;投资活动现金流净额-1.58亿元,上年同期为-1942.64万元。
进一步统计发现,2023年前三季度公司自由现金流为215.59万元,相比上年同期下降93.06%。

2023年前三季度,公司营业收入现金比为125.43%,净现比为160.97%。

2023年前三季度,公司期间费用为7905.87万元,较上年同期增加1954.52万元;期间费用率为18.72%,较上年同期上升1.91个百分点。其中,销售费用同比增长1.96%,管理费用同比增长24.89%,研发费用同比增长31.03%,财务费用由去年同期的-675.75万元变为-360.39万元。

资产重大变化方面,截至2023年三季度末,公司交易性金融资产较上年末增加224.06%,占公司总资产比重上升8.78个百分点;固定资产较上年末减少0.16%,占公司总资产比重下降3.03个百分点;应收款项融资较上年末减少36.83%,占公司总资产比重下降2.76个百分点;应收账款较上年末减少12.91%,占公司总资产比重下降1.86个百分点。

负债重大变化方面,截至2023年三季度末,公司应交税费较上年末减少55.95%,占公司总资产比重下降1.01个百分点;租赁负债较上年末增加741.64%,占公司总资产比重上升0.36个百分点;应付账款较上年末减少11.97%,占公司总资产比重下降0.56个百分点;应付职工薪酬较上年末减少21.60%,占公司总资产比重下降0.39个百分点。

在偿债能力方面,公司2023年三季度末资产负债率为12.99%,相比上年末上升1.69个百分点;有息资产负债率为3.55%,相比上年末上升3.47个百分点。

2023年前三季度,公司流动比率为5.45,速动比率为4.45。

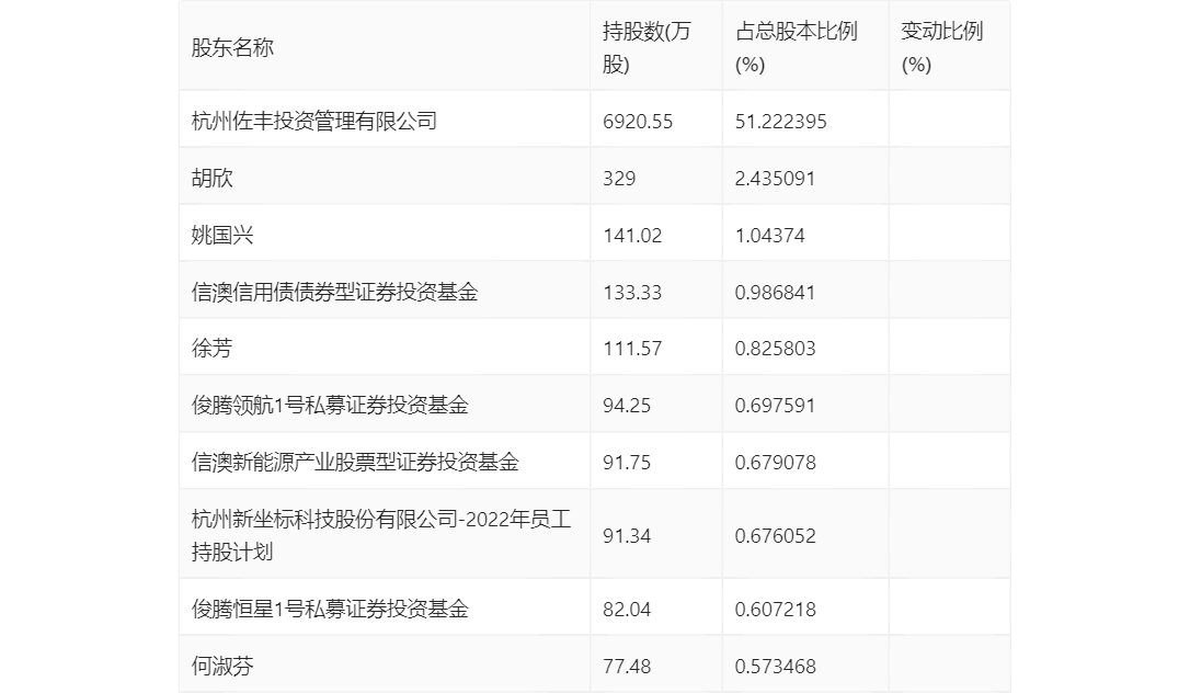
三季报显示,2023年三季度末的公司十大流通股东中,新进股东为信澳信用债债券型证券投资基金、俊腾领航1号私募证券投资基金、俊腾恒星1号私募证券投资基金,取代了二季度末的中欧时代先锋股票型发起式证券投资基金、信澳智远三年持有期混合型证券投资基金、重阳3期证券投资集合资金信托计划。在具体持股比例上,杭州佐丰投资管理有限公司、胡欣、姚国兴、徐芳、2022年员工持股计划、何淑芬持股有所上升,信澳新能源产业股票型证券投资基金持股有所下降。

筹码集中度方面,截至2023年三季度末,公司股东总户数为8873户,较上半年末下降了2947户,降幅24.93%;户均持股市值由上半年末的30.42万元上升至35.57万元,增幅为16.93%。

指标注解:
市盈率
=总市值/净利润。当公司亏损时市盈率为负,此时用市盈率估值没有实际意义,往往用市净率或市销率做参考。
市净率
=总市值/净资产。市净率估值法多用于盈利波动较大而净资产相对稳定的公司。
市销率
=总市值/营业收入。市销率估值法通常用于亏损或微利的成长型公司。
文中市盈率和市销率采用TTM方式,即以截至最近一期财报(含预报)12个月的数据计算。市净率采用LF方式,即以最近一期财报数据计算。
市盈率为负时,不显示当期分位数,会导致折线图中断。