
中证智能财讯 山东矿机(002526)10月27日披露2023年三季报。2023年前三季度,公司实现营业总收入21.61亿元,同比增长16.08%;归母净利润2.08亿元,同比增长47.83%;扣非净利润1.98亿元,同比增长58.65%;经营活动产生的现金流量净额为1.33亿元,同比增长21.96%;报告期内,山东矿机基本每股收益为0.1164元,加权平均净资产收益率为6.98%。
公告显示,归母净利润变化主要由于本期营业收入增加且主要原材料价格较去年同期下降,成本降低。
以10月26日收盘价计算,山东矿机目前市盈率(TTM)约为25.59倍,市净率(LF)约为1.51倍,市销率(TTM)约为1.73倍。

公司近年市盈率(TTM)、市净率(LF)、市销率(TTM)历史分位图如下所示:



根据三季报,公司第三季度实现营业总收入8.14亿元,同比增长19.49%,环比下降1.23%;归母净利润4536.37万元,同比下降25.43%,环比下降61.42%;扣非净利润4435.51万元,同比下降19.41%,环比下降59.88%。

资料显示,公司主营业务为煤机生产销售、配件产品销售、智能输送装备、智能化产品电液控、其他业务板块。
2023年前三季度,公司毛利率为24.45%,同比上升3.77个百分点;净利率为9.76%,较上年同期上升2.05个百分点。从单季度指标来看,2023年第三季度公司毛利率为22.62%,同比上升0.84个百分点,环比下降3.67个百分点;净利率为5.76%,较上年同期下降3.30个百分点,较上一季度下降8.62个百分点。

数据显示,2023年前三季度公司加权平均净资产收益率为6.98%,较上年同期增长2.03个百分点;公司2023年前三季度投入资本回报率为6.21%,较上年同期增长1.41个百分点。

2023年前三季度,公司经营活动现金流净额为1.33亿元,同比增长21.96%;筹资活动现金流净额204.27万元,同比减少6473.36万元;投资活动现金流净额1987.20万元,上年同期为-163.31万元。
进一步统计发现,2023年前三季度公司自由现金流为2.45亿元,相比上年同期增长199.66%。

2023年前三季度,公司营业收入现金比为69.06%,净现比为64.09%。

2023年前三季度,公司期间费用为2.29亿元,较上年同期增加3379.57万元;期间费用率为10.58%,较上年同期上升0.11个百分点。其中,销售费用同比增长14.97%,管理费用同比增长29.01%,研发费用同比增长7.68%,财务费用同比增长1.99%。

资产重大变化方面,截至2023年三季度末,公司应收账款较上年末增加48.82%,占公司总资产比重上升6.76个百分点;交易性金融资产较上年末减少41.52%,占公司总资产比重下降5.43个百分点;货币资金较上年末增加62.34%,占公司总资产比重上升4.29个百分点;在建工程较上年末增加197.20%,占公司总资产比重上升2.58个百分点。

负债重大变化方面,截至2023年三季度末,公司应付票据较上年末增加130.26%,占公司总资产比重上升3.55个百分点;应付账款较上年末增加30.09%,占公司总资产比重上升1.63个百分点;应交税费较上年末增加53.21%,占公司总资产比重上升0.30个百分点;合同负债较上年末增加8.23%,占公司总资产比重下降0.27个百分点。

在偿债能力方面,公司2023年三季度末资产负债率为36.99%,相比上年末上升3.76个百分点;有息资产负债率为8.11%,相比上年末下降0.86个百分点。

2023年前三季度,公司流动比率为1.95,速动比率为1.56。

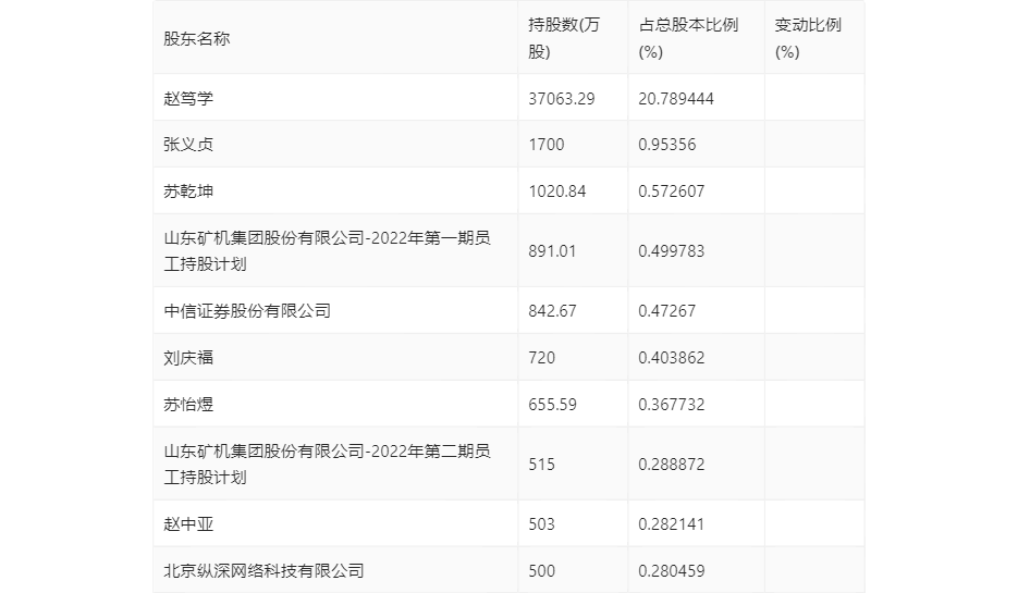
三季报显示,2023年三季度末公司十大流通股东中,新进股东为山东矿机集团股份有限公司-2022年第二期员工持股计划、赵中亚、北京纵深网络科技有限公司,取代了上半年末的周利飞、阮寿国、UBS AG。在具体持股比例上,中信证券股份有限公司、刘庆福持股有所上升,张义贞、苏乾坤、山东矿机集团股份有限公司-2022年第一期员工持股计划持股有所下降。

筹码集中度方面,截至2023年三季度末,公司股东总户数为7.87万户,较上半年末增长了4664户,增幅6.30%;户均持股市值由上半年末的6.02万元上升至6.32万元,增幅为4.98%。

指标注解:
市盈率
=总市值/净利润。当公司亏损时市盈率为负,此时用市盈率估值没有实际意义,往往用市净率或市销率做参考。
市净率
=总市值/净资产。市净率估值法多用于盈利波动较大而净资产相对稳定的公司。
市销率
=总市值/营业收入。市销率估值法通常用于亏损或微利的成长型公司。
文中市盈率和市销率采用TTM方式,即以截至最近一期财报(含预报)12个月的数据计算。市净率采用LF方式,即以最近一期财报数据计算。
市盈率为负时,不显示当期分位数,会导致折线图中断。