
中证智能财讯 国药现代(600420)8月29日披露2023年半年度报告。2023年上半年,公司实现营业总收入64.45亿元,同比增长0.90%;归母净利润3.45亿元,同比增长53.41%;扣非净利润3.22亿元,同比增长65.42%;经营活动产生的现金流量净额为9.12亿元,同比下降28.07%;报告期内,国药现代基本每股收益为0.286元,加权平均净资产收益率为3.20%。

以8月28日收盘价计算,国药现代目前市盈率(TTM)约为17.88倍,市净率(LF)约为1.11倍,市销率(TTM)约为1.03倍。

公司近年市盈率(TTM)、市净率(LF)、市销率(TTM)历史分位图如下所示:



根据半年报,公司第二季度实现营业总收入30.27亿元,同比下降3.67%,环比下降11.41%;归母净利润1.66亿元,同比增长12.57%,环比下降7.54%;扣非净利润1.52亿元,同比增长17.83%,环比下降11.16%。

资料显示,公司主要从事医药产品的研发、生产、销售等业务。
2023年上半年,公司毛利率为39.17%,同比下降1.43个百分点;净利率为7.98%,较上年同期上升2.81个百分点。从单季度指标来看,2023年第二季度公司毛利率为37.66%,同比下降0.86个百分点,环比下降2.85个百分点;净利率为7.94%,较上年同期上升1.77个百分点,较上一季度下降0.09个百分点。

数据显示,2023年上半年公司加权平均净资产收益率为3.20%,较上年同期增长0.62个百分点;公司2023年上半年投入资本回报率为3.29%,较上年同期增长0.78个百分点。

2023上半年,公司经营活动现金流净额为9.12亿元,同比下降28.07%;筹资活动现金流净额-8.63亿元,同比减少9937.50万元;投资活动现金流净额-1.72亿元,上年同期为-1.65亿元。
进一步统计发现,2023年上半年公司自由现金流为7.29亿元,上年同期为-0.96亿元。

2023年上半年,公司营业收入现金比为89.88%,净现比为264.31%。

营运能力方面,2023年上半年,公司总资产周转率为0.33次,上年同期为0.33次(2022年上半年行业平均值为0.21次,公司位居同行业21/111);固定资产周转率为1.13次,上年同期为1.11次(2022年上半年行业平均值为1.21次,公司位居同行业60/111);公司应收账款周转率、存货周转率分别为3.15次、1.65次。

2023年上半年,公司期间费用为18.16亿元,较上年同期减少2.96亿元;期间费用率为28.18%,较上年同期下降4.90个百分点。其中,销售费用同比下降16.12%,管理费用同比下降11.18%,研发费用同比增长1.69%,财务费用由去年同期的-2541.54万元变为-3983.20万元。

资产重大变化方面,截至2023年二季度末,公司固定资产较上年末增加6.36%,占公司总资产比重上升2.85个百分点;在建工程较上年末减少78.72%,占公司总资产比重下降2.55个百分点;应收账款较上年末增加16.18%,占公司总资产比重上升1.96个百分点;货币资金余额较上年末减少5.65%,占公司总资产比重下降0.71个百分点。

负债重大变化方面,截至2023年二季度末,公司应付债券较上年末减少60.52%,占公司总资产比重下降7.74个百分点;短期借款较上年末减少84.42%,占公司总资产比重下降1.38个百分点;合同负债较上年末减少68.02%,占公司总资产比重下降1.13个百分点;应付账款较上年末减少10.44%,占公司总资产比重下降0.36个百分点。

从存货变动来看,截至2023年上半年末,公司存货账面价值为23.03亿元,占净资产的19.13%,较上年末减少1.37亿元。其中,存货跌价准备为6228.88万元,计提比例为2.63%。

偿债能力方面,公司2023年二季度末资产负债率为26.26%,相比上年末减少11.83个百分点;有息资产负债率为5.67%,相比上年末减少11.32个百分点。

2023年上半年,公司流动比率为3.04,速动比率为2.41。

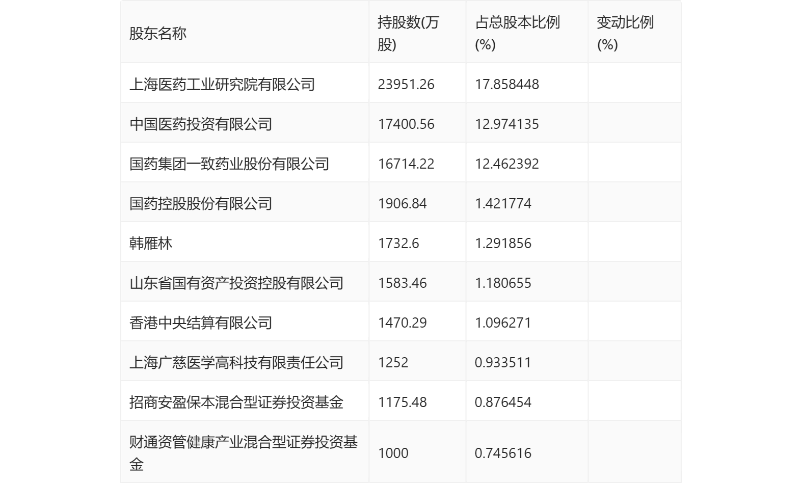
半年报显示,2023年上半年末的公司十大流通股东中,新进股东为香港中央结算有限公司、财通资管健康产业混合型证券投资基金。在具体持股比例上,招商安盈保本混合型证券投资基金持股有所上升,上海医药工业研究院有限公司、中国医药投资有限公司、国药集团一致药业股份有限公司、国药控股股份有限公司、韩雁林、山东省国有资产投资控股有限公司、上海广慈医学高科技有限责任公司持股有所下降。

筹码集中度方面,截至2023年二季度末,公司股东总户数为3.1万户,较一季度末下降了1827户,降幅5.56%;户均持股市值由一季度末的39.02万元上升至48.79万元,增幅为25.04%。

指标注解:
市盈率
=总市值/净利润。当公司亏损时市盈率为负,此时用市盈率估值没有实际意义,往往用市净率或市销率做参考。
市净率
=总市值/净资产。市净率估值法多用于盈利波动较大而净资产相对稳定的公司。
市销率
=总市值/营业收入。市销率估值法通常用于亏损或微利的成长型公司。
文中市盈率和市销率采用TTM方式,即以截至最近一期财报(含预报)12个月的数据计算。市净率采用LF方式,即以最近一期财报数据计算。
市盈率为负时,不显示当期分位数,会导致折线图中断。