
中证智能财讯 新华医疗(600587)8月23日披露2023年半年度报告。2023年上半年,公司实现营业总收入50.73亿元,同比增长14.38%;归母净利润4.59亿元,同比增长42.32%;扣非净利润4.11亿元,同比增长16.74%;经营活动产生的现金流量净额为3.02亿元,上年同期为-6662.13万元;报告期内,新华医疗基本每股收益为1.03元,加权平均净资产收益率为6.86%。
公告称,公司营业收入变化是由于公司本期医疗器械制造产品以及制药装备产品营业收入增长。

以8月22日收盘价计算,新华医疗目前市盈率(TTM)约为19.46倍,市净率(LF)约为1.75倍,市销率(TTM)约为1.25倍。

公司近年市盈率(TTM)、市净率(LF)、市销率(TTM)历史分位图如下所示:



根据半年报,公司第二季度实现营业总收入26.34亿元,同比增长13.43%,环比增长8.00%;归母净利润2.62亿元,同比增长34.65%,环比增长33.42%;扣非净利润2.28亿元,同比增长11.64%,环比增长24.03%。

半年报显示,新华医疗已形成聚焦医疗器械和制药装备两大核心业务,以医疗商贸、医疗服务为延伸的“2+2”的业务结构。
分产品来看,2023年上半年公司主营业务中,医疗器械制造产品收入19.36亿元,占营业收入的38.16%;医疗商贸产品收入15.32亿元,同比下降2.24%,占营业收入的30.20%;制药装备产品收入10.46亿元,同比增长41.13%,占营业收入的20.62%。
2023年上半年,公司毛利率为27.40%,同比上升1.22个百分点;净利率为9.41%,较上年同期上升1.96个百分点。从单季度指标来看,2023年第二季度公司毛利率为28.51%,同比上升1.87个百分点,环比上升2.29个百分点;净利率为10.46%,较上年同期上升1.81个百分点,较上一季度上升2.18个百分点。

分产品看,医疗器械制造产品、医疗商贸产品、制药装备产品2023年上半年毛利率分别为41.01%、9.93%、31.43%。

数据显示,2023年上半年公司加权平均净资产收益率为6.86%,较上年同期增长0.55个百分点;公司2023年上半年投入资本回报率为6.33%,较上年同期增长1.15个百分点。

2023上半年,公司经营活动现金流净额为3.02亿元,同比增加3.69亿元;筹资活动现金流净额9.43亿元,同比增加6.44亿元;投资活动现金流净额-2.69亿元,上年同期为-1.13亿元。
进一步统计发现,2023年上半年公司自由现金流为-4961.35万元,上年同期为-3838.13万元。

2023年上半年,公司营业收入现金比为102.65%,净现比为65.87%。

营运能力方面,2023年上半年,公司总资产周转率为0.37次,上年同期为0.37次(2022年上半年行业平均值为0.25次,公司位居同行业8/42);固定资产周转率为2.36次,上年同期为2.06次(2022年上半年行业平均值为2.18次,公司位居同行业19/42);公司应收账款周转率、存货周转率分别为2.90次、1.19次。

2023年上半年,公司期间费用为8.66亿元,较上年同期增加1.40亿元;期间费用率为17.07%,较上年同期上升0.70个百分点。其中,销售费用同比增长15.46%,管理费用同比增长19.73%,研发费用同比增长43.49%,财务费用同比下降59.58%。
资料显示,销售费用的变动主要因为公司本期销售人员薪酬、差旅费及展会费用增加;管理费用的变动主要因为公司本期管理人员职工薪酬费用增加;财务费用的变动主要因为公司本期带息负债下降;研发费用的变动主要因为公司本期研发投入增加。

资产重大变化方面,截至2023年二季度末,公司货币资金余额较上年末增加53.83%,占公司总资产比重上升5.00个百分点;固定资产较上年末减少1.13%,占公司总资产比重下降1.86个百分点;存货余额较上年末增加4.43%,占公司总资产比重下降1.42个百分点;在建工程较上年末增加71.68%,占公司总资产比重上升1.28个百分点。

负债重大变化方面,截至2023年二季度末,公司短期借款较上年末减少22.24%,占公司总资产比重下降2.29个百分点;应付账款较上年末增加7.15%,占公司总资产比重下降0.55个百分点;合同负债较上年末增加6.64%,占公司总资产比重下降0.65个百分点;长期借款较上年末增加35.71%,占公司总资产比重上升0.17个百分点。

从存货变动来看,截至2023年上半年末,公司存货账面价值为31.63亿元,占净资产的44.62%,较上年末增加1.34亿元。其中,存货跌价准备为9155.3万元,计提比例为2.81%。

偿债能力方面,公司2023年二季度末资产负债率为47.91%,相比上年末减少7.39个百分点;有息资产负债率为6.58%,相比上年末减少2.40个百分点。

2023年上半年,公司流动比率为1.31,速动比率为0.83。

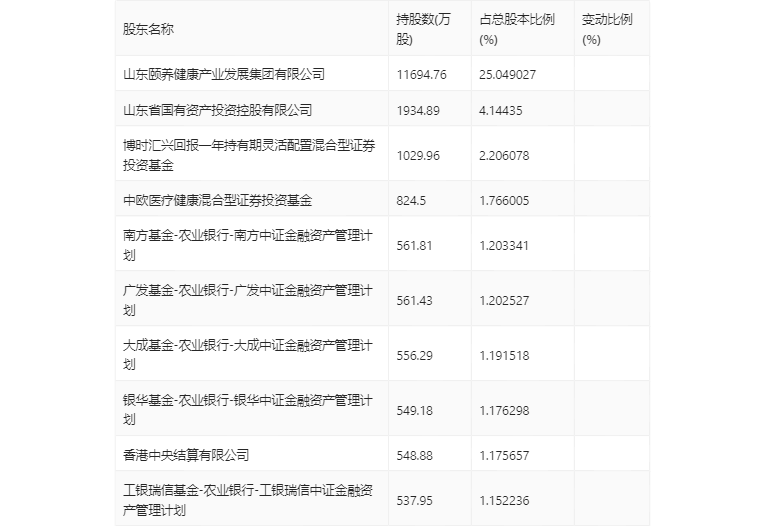
半年报显示,2023年上半年末的公司十大流通股东中,新进股东为中欧医疗健康混合型证券投资基金、香港中央结算有限公司,取代了一季度末的易方达中证金融资产管理计划、博时中证金融资产管理计划。在具体持股比例上,博时汇兴回报一年持有期灵活配置混合型证券投资基金、南方中证金融资产管理计划、广发中证金融资产管理计划、大成中证金融资产管理计划、银华中证金融资产管理计划、工银瑞信中证金融资产管理计划持股有所下降。

筹码集中度方面,截至2023年二季度末,公司股东总户数为1.58万户,较一季度末下降了4497户,降幅22.15%;户均持股市值由一季度末的64.03万元上升至104.38万元,增幅为63.02%。

指标注解:
市盈率
=总市值/净利润。当公司亏损时市盈率为负,此时用市盈率估值没有实际意义,往往用市净率或市销率做参考。
市净率
=总市值/净资产。市净率估值法多用于盈利波动较大而净资产相对稳定的公司。
市销率
=总市值/营业收入。市销率估值法通常用于亏损或微利的成长型公司。
文中市盈率和市销率采用TTM方式,即以截至最近一期财报(含预报)12个月的数据计算。市净率采用LF方式,即以最近一期财报数据计算。
市盈率为负时,不显示当期分位数,会导致折线图中断。