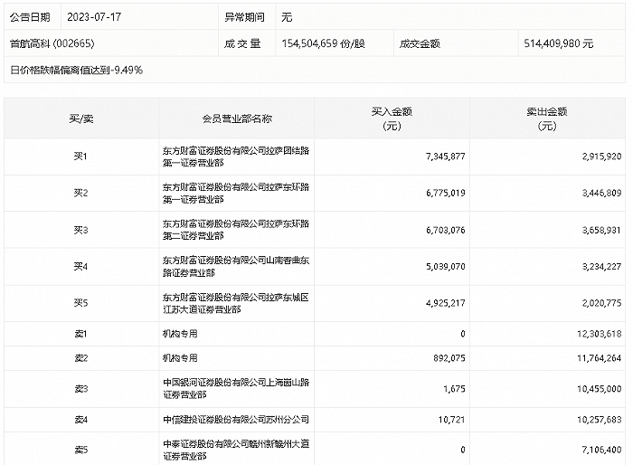
7月17日,首航高科今日跌停,龙虎榜数据显示,上榜营业部席位全天成交9885.64万元,占当日总成交金额比例为19.22%。其中,买入金额为3169.27万元,卖出金额为6716.36万元,合计净卖出3547.09万元。
具体来看,机构买入89.21万元,卖出2406.79万元,合计净卖出2317.58万元。此外,中国银河证券上海崮山路证券营业部、中信建投证券苏州分公司分别卖出1045.50万元、1025.77万元;东方财富证券拉萨团结路第一证券营业部、东方财富证券拉萨东环路第一证券营业部分别买入734.59万元、677.50万元。
