据企查查App显示,11月28日,荣耀终端有限公司发生工商变更,法定代表人、董事长由万飚变更为吴晖。有消息称,此次换帅目的是推进荣耀上市进程。
荣耀新掌舵者吴晖是谁?
11月22日,荣耀终端有限公司发布董事会公告称,依据《公司法》及《公司章程》等相关规定,由公司股东会选举并经董事会选举,吴晖先生将担任公司董事、董事长,万飚担任副董事长。

图源荣耀官网
此前,深圳市水务(集团)有限公司发生工商变更,吴晖卸任法定代表人、董事长,由孙波接任。据公开资料显示,吴晖,1971年2月出生,湖北黄冈人,是武汉大学哲学硕士。吴晖曾在深圳市委办公厅工作十余年,后在湖北省任职,曾担任过咸宁市委副书记,市委政法委书记。2021年吴晖担任深圳市环境水务集团有限公司董事长、深圳市水务集团有限公司董事长。
荣耀并非借壳上市
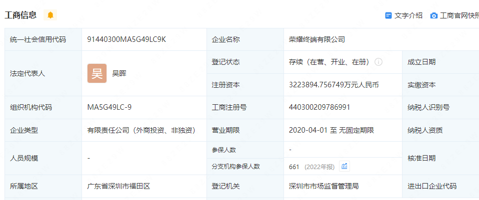
天眼查信息显示,荣耀终端有限公司成立于2020年4月,注册资本约322.39亿人民币,由深圳市鹏程新信息技术合伙企业(有限合伙)、深圳国资协同发展私募基金合伙企业(有限合伙)、京东方A(000725)等共同持股。

深圳市水务(集团)有限公司是深圳市国资委控股的全国性综合水务服务商。深圳环境水务集团则是深圳市委、市政府于2019年在深圳水务集团之上成立的市属国有独资水务控股集团。
去年11 月,荣耀终端有限公司其股东列表中新增包括京东方科技集团股份有限公司、深圳市宝安区投资管理集团有限公司等在内的6位股东。目前荣耀共有15大股东,另外9家包括深圳市智信新信息技术有限公司、深圳市鹏程新信息技术合伙企业(有限合伙)、深圳国资协同发展私募基金合伙企业(有限合伙)、深圳市春芽联合科技合伙企业(有限合伙)等。

荣耀的董事会文件公告称,为了实现公司下一阶段战略发展,公司将吸引多元化资本进入,通过首发上市推动公司登陆资本市场。随着公司走向公开市场的规划逐步启动实施,公司董事会将按照上市公司标准进行调整,董事会成员逐步多元化,以适应公司在新发展阶段的治理需要和监管需要。
上述表态也意味着,荣耀选择IPO,而并非传闻中的借壳上市。
此外,荣耀CEO赵明在近日回应上市问题时表示,让荣耀更加公开透明,让荣耀的资本多元化,是大股东和各位股东的期望。作为CEO要做好本职工作,更好地支持股东和董事会在这方面的战略。
见习编辑 薛锦瑜 审读 吴剑林 二审 范锦桦 三审 田语壮