75岁高龄拿下基金从业资格证的宗庆后,现新变动。
天眼查信息显示,近日,浙江红土创业投资有限公司(简称“红土创投”)发生工商变更,杭州娃哈哈宏振投资有限公司(简称“宏振投资”)退出股东行列,宗庆后卸任红土创投副董事长职务。
公开资料显示,宗庆后42岁创立娃哈哈,曾问鼎中国首富宝座,75岁时取得基金从业资格。此前他曾公开表示:“想自己搞个(私募)基金,帮助小企业。”
此次退出的红土创投为一只创业投资基金,宗庆后的卸任并不意味着其“跨界”脚步的停止。截至11月7日,娃哈哈创投作为LP(有限合伙人)已完成对多只私募股权投资基金的出资,涉及互联网、人工智能、生物医疗等领域。
退股红土创投
天眼查信息显示,近日,红土创投工商信息发生变更,宏振投资退出股东行列,红土创投的注册资本由1.1亿元减至约5702.46万元。同时,宗庆后卸任红土创投副董事长。

公开资料显示,宏振投资成立于2007年12月17日,注册资本1.8亿元,实际控制人为娃哈哈创始人宗庆后。红土创投则成立于2010年4月21日,是深圳市创新投资集团成员,工商信息显示,红土创投的营业期限将于2024年4月20日到期。
记者获悉,宏振投资于2010年红土创投刚成立时即已入股,同时入股的还有西子联合控股有限公司、浙江精工建设产业集团有限公司(现更名为“精工控股集团有限公司”)、横店集团控股有限公司和深圳市星河投资有限公司。红土创投投资了杭州米趣、浙江网竞、深迪半导体、爱侣健康、圣元环保等项目,涉及移动互联网、半导体、大健康、生态环境等投资领域。
娃哈哈的投资版图
从公开资料来看,尽管宗庆后卸任了红土创投的副董事长,但其私募版图仍在扩张。
中国证券投资基金业协会(简称“中基协”)网站信息显示,宗庆后目前担任浙江娃哈哈创业投资有限公司(简称“娃哈哈创投”)的法定代表人、总经理及执行董事。
娃哈哈创投成立于2010年11月,于2021年7月9日完成基金管理人登记,注册资本及实缴资本为3亿元,目前管理规模在0-5亿元,宗庆后通过宏振投资持有娃哈哈创投90%的股份。
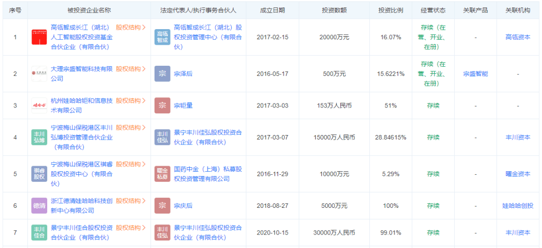
经记者梳理,截至目前,娃哈哈创投作为LP(有限合伙人)已完成对高瓴智成长江(湖北)人工智能股权投资基金合伙企业(有限合伙)(简称“高瓴智成”)、宁波梅山保税港区丰川弘博投资管理合伙企业(有限合伙)(简称“丰川弘博”)、宁波梅山保税港区祺睿股权投资中心(有限合伙)、共青城祺信股权投资合伙企业(有限合伙)等基金的出资,出资额合计8.5亿元,涉及互联网、人工智能、生物医疗等领域。

早些年间,宗庆后就曾在《财富》世界500强峰会上表示:“想自己搞个(私募)基金,想帮小企业,投资有发展前途的中小企业。基金的投资对象并不局限于大消费领域。”
食品饮料企业积极“跨界”
事实上,除了娃哈哈,多家食品饮料实体企业积极跨界创投圈。
比如今年7月,良品铺子发布公告称,为满足公司战略发展需要,公司全资子公司宁波广源聚亿投资有限公司(简称“广源聚亿”)拟作为有限合伙人,认缴出资1亿元,参与设立标的基金,该基金将以股权投资的方式主要投向食品消费品领域,包括但不限于产品品牌、零售类企业、消费品供应链公司、消费科技类企业等。
公司表示,本次投资旨在通过与专业机构合作,实现投资共赢,助力公司在食品消费品领域拓展布局。

另外,绝味食品、洽洽食品、周黑鸭、好想你等企业目前均已在创投圈有所布局。
在多位业内人士看来,伴随着私募行业风险加速出清,股权投资市场涌现更多投资机会,越来越多实业公司将通过跨界私募完善自身商业生态,构建核心竞争力,同时更好地履行社会责任。
责编:孟 妹 校对:冯雯君图编:赵雁旎
审读:朱建华 监制:浦泓毅 签发:潘林青
版权声明
上海证券报微信保留本作品的所有权利,未经书面授权,任何单位或个人不得转载、摘编、链接或以其他方式复制发表,否则将被依法追究法律责任。
微信热线:王老师 021-38967805;版权合作:范老师 021-38967792。