
中证智能财讯 安达维尔(300719)10月24日披露2023年三季报。2023年前三季度,公司实现营业总收入4.14亿元,同比增长57.71%;归母净利润1911.97万元,同比扭亏;扣非净利润1900.43万元,同比扭亏;经营活动产生的现金流量净额为-1.06亿元,上年同期为-8667.42万元;报告期内,安达维尔基本每股收益为0.0749元,加权平均净资产收益率为1.95%。
以10月23日收盘价计算,安达维尔目前市盈率(TTM)约为-192.33倍,市净率(LF)约为3.16倍,市销率(TTM)约为5.59倍。

公司近年市盈率(TTM)、市净率(LF)、市销率(TTM)历史分位图如下所示:



根据三季报,公司第三季度实现营业总收入1.84亿元,同比增长139.57%,环比增长40.89%;归母净利润2264.69万元,同比增长286.90%,环比增长643.44%;扣非净利润2261.8万元,同比增长288.11%,环比增长639.62%。

2023年前三季度,公司毛利率为43.66%,同比下降5.15个百分点;净利率为4.57%,较上年同期上升8.49个百分点。从单季度指标来看,2023年第三季度公司毛利率为45.54%,同比上升9.96个百分点,环比上升5.40个百分点;净利率为12.21%,较上年同期上升28.00个百分点,较上一季度上升15.40个百分点。

数据显示,2023年前三季度公司加权平均净资产收益率为1.95%,较上年同期增长2.97个百分点;公司2023年前三季度投入资本回报率为1.74%,较上年同期增长3.23个百分点。

2023年前三季度,公司经营活动现金流净额为-1.06亿元,同比减少1909.51万元;筹资活动现金流净额8992.54万元,同比增加1.12亿元;投资活动现金流净额-988.96万元,上年同期为-580.21万元。
进一步统计发现,2023年前三季度公司自由现金流为-1.42亿元,上年同期为-1.18亿元。

2023年前三季度,公司营业收入现金比为90.89%,净现比为-553.20%。

2023年前三季度,公司期间费用为1.62亿元,较上年同期增加574.83万元;但期间费用率为39.02%,较上年同期下降20.34个百分点。其中,销售费用同比增长25.03%,管理费用同比增长6.52%,研发费用同比下降10.07%,财务费用同比增长17.54%。

资产重大变化方面,截至2023年三季度末,公司应收账款较上年末增加32.48%,占公司总资产比重上升4.77个百分点;货币资金较上年末减少12.39%,占公司总资产比重下降4.31个百分点;存货较上年末增加39.60%,占公司总资产比重上升4.18个百分点;应收款项融资较上年末减少99.82%,占公司总资产比重下降2.52个百分点。

负债重大变化方面,截至2023年三季度末,公司短期借款较上年末增加111.82%,占公司总资产比重上升5.33个百分点;应付账款较上年末增加95.45%,占公司总资产比重上升4.62个百分点;应付票据较上年末增加298.81%,占公司总资产比重上升1.16个百分点;合同负债较上年末增加70.57%,占公司总资产比重上升0.62个百分点。

在偿债能力方面,公司2023年三季度末资产负债率为31.56%,相比上年末上升9.79个百分点;有息资产负债率为12.42%,相比上年末上升5.27个百分点。

2023年前三季度,公司流动比率为2.89,速动比率为2.00。

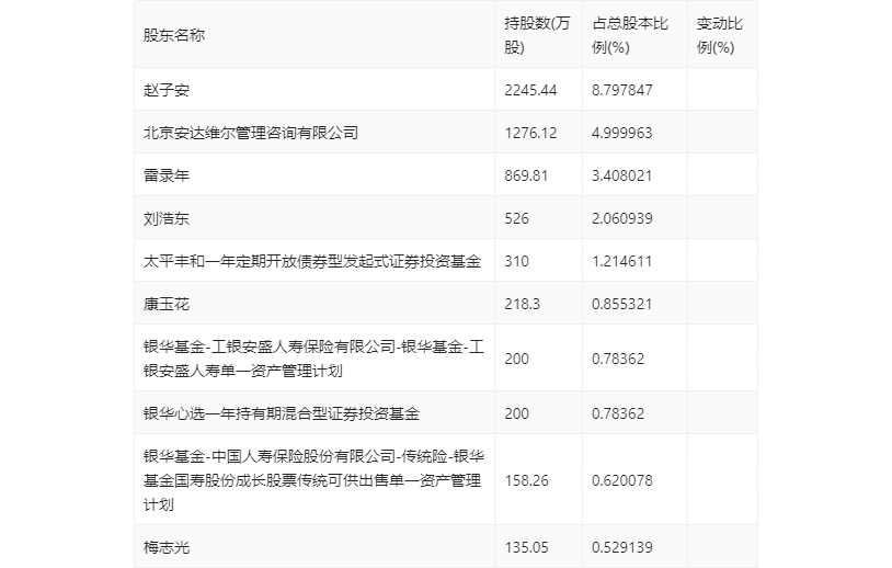
三季报显示,2023年三季度末公司十大流通股东中,新进股东为银华心选一年持有期混合型证券投资基金、银华基金-中国人寿保险股份有限公司-传统险-银华基金国寿股份成长股票传统可供出售单一资产管理计划,取代了上半年末的MORGAN STANLEY & CO. INTERNATIONAL PLC.、华夏银行股份有限公司-华夏智胜先锋股票型证券投资基金(LOF)。在具体持股比例上,太平丰和一年定期开放债券型发起式证券投资基金、康玉花、银华基金-工银安盛人寿保险有限公司-银华基金-工银安盛人寿单一资产管理计划、梅志光持股有所上升。

筹码集中度方面,截至2023年三季度末,公司股东总户数为1.96万户,较上半年末下降了861户,降幅4.21%;户均持股市值由上半年末的17.64万元下降至15.80万元,降幅为10.43%。

指标注解:
市盈率
=总市值/净利润。当公司亏损时市盈率为负,此时用市盈率估值没有实际意义,往往用市净率或市销率做参考。
市净率
=总市值/净资产。市净率估值法多用于盈利波动较大而净资产相对稳定的公司。
市销率
=总市值/营业收入。市销率估值法通常用于亏损或微利的成长型公司。
文中市盈率和市销率采用TTM方式,即以截至最近一期财报(含预报)12个月的数据计算。市净率采用LF方式,即以最近一期财报数据计算。
市盈率为负时,不显示当期分位数,会导致折线图中断。