
中证智能财讯 皓宸医疗(002622)8月31日披露2023年半年度报告。2023年上半年,公司实现营业总收入3.14亿元,同比增长48.04%;归母净利润762.06万元,同比扭亏;扣非净利润578.98万元,同比扭亏;经营活动产生的现金流量净额为1780.82万元,上年同期为-3617.35万元;报告期内,皓宸医疗基本每股收益为0.0091元,加权平均净资产收益率为1.32%。
以8月30日收盘价计算,皓宸医疗目前市盈率(TTM)约为-12.99倍,市净率(LF)约为4.89倍,市销率(TTM)约为4.71倍。

公司近年市盈率(TTM)、市净率(LF)、市销率(TTM)历史分位图如下所示:



根据半年报,公司第二季度实现营业总收入1.84亿元,同比增长42.21%,环比增长41.92%;归母净利润832.76万元,同比增长259.53%,环比增长1277.76%;扣非净利润688.2万元,同比增长207.17%,环比增长730.11%。

半年报称,报告期内,公司主要从事口腔医疗服务业务以及永磁开关及高低压开关成套设备产品的研发、生产和销售业务,目前公司已形成了“口腔医疗服务+实业制造”双主业运营的产业格局。
分产品来看,2023年上半年公司主营业务中,医疗口腔服务收入2.76亿元,同比增长49.86%,占营业收入的87.95%;实业开关产品收入0.37亿元,同比增长56.56%,占营业收入的11.72%。

2023年上半年,公司毛利率为47.64%,同比上升9.76个百分点;净利率为3.75%,较上年同期上升24.67个百分点。从单季度指标来看,2023年第二季度公司毛利率为48.96%,同比上升7.54个百分点,环比上升3.20个百分点;净利率为8.10%,较上年同期上升14.22个百分点,较上一季度上升10.53个百分点。

数据显示,2023年上半年公司加权平均净资产收益率为1.32%,较上年同期增长4.94个百分点;公司2023年上半年投入资本回报率为2.67%,较上年同期增长4.46个百分点。

2023上半年,公司经营活动现金流净额为1780.82万元,同比增加5398.16万元;筹资活动现金流净额-409.19万元,同比增加4239.60万元;投资活动现金流净额1035.84万元,上年同期为4564.14万元。
进一步统计发现,2023年上半年公司自由现金流为1.08亿元,相比上年同期增长108.09%。

2023年上半年,公司营业收入现金比为103.59%,净现比为233.69%。

2023年上半年,公司期间费用为1.63亿元,较上年同期增加2377.96万元;但期间费用率为51.98%,较上年同期下降13.75个百分点。其中,销售费用同比增长36.63%,管理费用同比增长5.8%,研发费用同比增长50.78%,财务费用同比下降1.25%。

资产重大变化方面,截至2023年二季度末,公司预付款项较上年末增加282.51%,占公司总资产比重上升1.77个百分点;货币资金余额较上年末增加20.60%,占公司总资产比重上升1.28个百分点;固定资产较上年末增加0.38%,占公司总资产比重下降0.25个百分点;应收账款较上年末减少8.38%,占公司总资产比重下降0.18个百分点。

负债重大变化方面,截至2023年二季度末,公司一年内到期的非流动负债较上年末增加23.71%,占公司总资产比重上升2.35个百分点;应付账款较上年末增加71.03%,占公司总资产比重上升1.94个百分点;短期借款较上年末增加13.26%,占公司总资产比重上升0.78个百分点;其他流动负债较上年末减少80.68%,占公司总资产比重下降0.35个百分点。

从存货变动来看,截至2023年上半年末,公司存货账面价值为5772.91万元,占净资产的9.93%,较上年末增加402.65万元。其中,存货跌价准备为1283.75万元,计提比例为18.19%。

2023年上半年末,皓宸医疗的商誉达到2.00亿元,相当于同期公司净资产5.81亿元的34.36%。
偿债能力方面,公司2023年二季度末资产负债率为65.41%,相比上年末增加0.19个百分点;有息资产负债率为22.39%,相比上年末减少0.84个百分点。

2023年上半年,公司流动比率为0.34,速动比率为0.28。

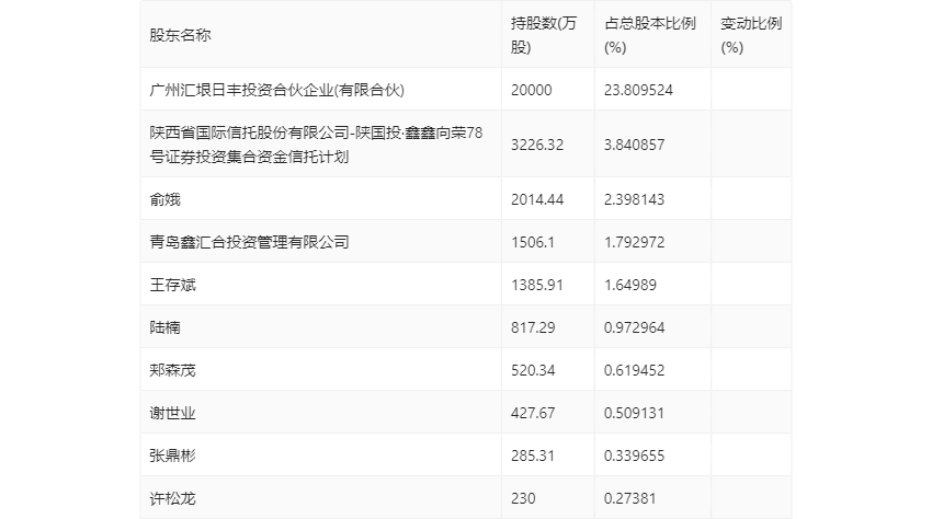
半年报显示,2023年上半年末的公司十大流通股东中,新进股东为许松龙,取代了一季度末的陆其康。在具体持股比例上,俞娥持股有所上升,陆楠、张鼎彬持股有所下降。

筹码集中度方面,截至2023年二季度末,公司股东总户数为4.8万户,较一季度末下降了3262户,降幅6.37%;户均持股市值由一季度末的5.51万元上升至5.53万元,增幅为0.36%。

指标注解:
市盈率
=总市值/净利润。当公司亏损时市盈率为负,此时用市盈率估值没有实际意义,往往用市净率或市销率做参考。
市净率
=总市值/净资产。市净率估值法多用于盈利波动较大而净资产相对稳定的公司。
市销率
=总市值/营业收入。市销率估值法通常用于亏损或微利的成长型公司。
文中市盈率和市销率采用TTM方式,即以截至最近一期财报(含预报)12个月的数据计算。市净率采用LF方式,即以最近一期财报数据计算。
市盈率为负时,不显示当期分位数,会导致折线图中断。