中证智能财讯 常润股份(603201)8月29日披露2023年半年度报告。2023年上半年,公司实现营业总收入12.99亿元,同比下降11.47%;归母净利润6586.58万元,同比下降6.96%;扣非净利润6931.00万元,同比增长4.01%;经营活动产生的现金流量净额为1.27亿元,同比增长0.20%;报告期内,常润股份基本每股收益为0.59元,加权平均净资产收益率为4.99%。


以8月28日收盘价计算,常润股份目前市盈率(TTM)约为13.91倍,市净率(LF)约为1.77倍,市销率(TTM)约为0.9倍。
公司近年市盈率(TTM)、市净率(LF)、市销率(TTM)历史分位图如下所示:
根据半年报,公司第二季度实现营业总收入6.97亿元,同比下降4.61%,环比增长15.81%;归母净利润3860.24万元,同比下降7.36%,环比增长41.59%;扣非净利润4286.45万元,同比增长7.39%,环比增长62.09%。
分产品来看,2023年上半年公司主营业务中,汽车配套零部件收入5.36亿元,占营业收入的41.31%;商用千斤顶及工具收入4.63亿元,占营业收入的35.67%;专业汽保维修设备收入1.56亿元,占营业收入的11.98%。

2023年上半年,公司毛利率为18.22%,同比上升2.34个百分点;净利率为5.45%,较上年同期上升0.42个百分点。从单季度指标来看,2023年第二季度公司毛利率为16.77%,同比上升1.28个百分点,环比下降3.12个百分点;净利率为5.93%,较上年同期上升0.02个百分点,较上一季度上升1.03个百分点。

数据显示,2023年上半年公司加权平均净资产收益率为4.99%,较上年同期下降6.13个百分点;公司2023年上半年投入资本回报率为4.07%,较上年同期下降3.56个百分点。

2023上半年,公司经营活动现金流净额为1.27亿元,同比增长0.20%;筹资活动现金流净额1952.07万元,同比增加5811.66万元,主要系本期企业合并增加普克科技及银行借款同比增加所致;投资活动现金流净额-5872.60万元,上年同期为-2724.29万元,主要系本期募集资金现金管理同比增加、支付并购普克科技股权款及募投项目投入增加所致。
进一步统计发现,2023年上半年公司自由现金流为9226.98万元,相比上年同期下降3.51%。

2023年上半年,公司营业收入现金比为119.04%,净现比为193.27%。

营运能力方面,2023年上半年,公司总资产周转率为0.55次,上年同期为0.78次(2022年上半年行业平均值为0.23次,公司位居同行业1/83);固定资产周转率为3.71次,上年同期为4.29次(2022年上半年行业平均值为1.84次,公司位居同行业14/83);公司应收账款周转率、存货周转率分别为2.54次、2.76次。

2023年上半年,公司期间费用为9996.39万元,较上年同期减少246.37万元;但期间费用率为7.70%,较上年同期上升0.72个百分点。其中,销售费用同比增长17.47%,管理费用同比增长12.89%,研发费用同比下降43.28%,财务费用由去年同期的-557.50万元变为-1301.76万元。
资料显示,销售费用的变动主要因为本期销售推广活动及差旅费同比增加;财务费用的变动主要因为募集资金利息收入及受LPR下降影响利息支出同比减少;研发费用的变动主要因为本期新增研发项目数量减少。

资产重大变化方面,截至2023年二季度末,公司存货余额较上年末减少17.29%,占公司总资产比重下降4.07个百分点;货币资金余额较上年末增加11.61%,占公司总资产比重上升1.56个百分点;在建工程较上年末增加69.21%,占公司总资产比重上升1.29个百分点;预付款项较上年末增加252.69%,占公司总资产比重上升0.57个百分点。

负债重大变化方面,截至2023年二季度末,公司短期借款较上年末增加55.18%,占公司总资产比重上升1.37个百分点;应付账款较上年末增加6.45%,占公司总资产比重上升0.06个百分点;其他流动负债较上年末减少42.93%,占公司总资产比重下降0.45个百分点;一年内到期的非流动负债较上年末增加3.07%,占公司总资产比重下降0.26个百分点。

从存货变动来看,截至2023年上半年末,公司存货账面价值为3.48亿元,占净资产的26.41%,较上年末减少7285.46万元。其中,存货跌价准备为1332.46万元,计提比例为3.68%。

偿债能力方面,公司2023年二季度末资产负债率为42.95%,相比上年末增加0.88个百分点;有息资产负债率为12.98%,相比上年末增加1.12个百分点。

2023年上半年,公司流动比率为1.84,速动比率为1.48。

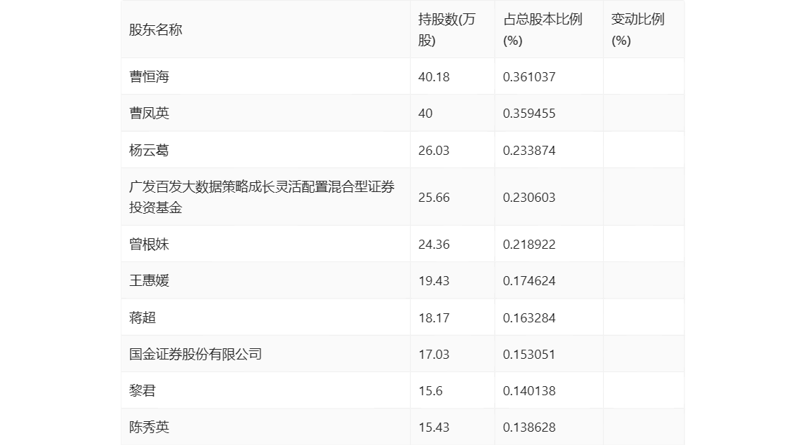
半年报显示,2023年上半年末的公司十大流通股东中,新进股东为广发百发大数据策略成长灵活配置混合型证券投资基金、蒋超、陈秀英,取代了一季度末的陈德豪、李佳、董云龙。在具体持股比例上,曹凤英、杨云葛、王惠媛持股有所上升,曾根妹、国金证券股份有限公司持股有所下降。

筹码集中度方面,截至2023年二季度末,公司股东总户数为1万户,较一季度末下降了22户,降幅0.22%;户均持股市值由一季度末的25.48万元下降至25.44万元,降幅为0.16%。

指标注解:
市盈率
=总市值/净利润。当公司亏损时市盈率为负,此时用市盈率估值没有实际意义,往往用市净率或市销率做参考。
市净率
=总市值/净资产。市净率估值法多用于盈利波动较大而净资产相对稳定的公司。
市销率
=总市值/营业收入。市销率估值法通常用于亏损或微利的成长型公司。
文中市盈率和市销率采用TTM方式,即以截至最近一期财报(含预报)12个月的数据计算。市净率采用LF方式,即以最近一期财报数据计算。
市盈率为负时,不显示当期分位数,会导致折线图中断。