
中证智能财讯 万东医疗(600055)8月29日披露2023年半年度报告。2023年上半年,公司实现营业总收入5.94亿元,同比增长30.19%;归母净利润7604.07万元,同比增长28.21%;扣非净利润7018.87万元,同比增长29.93%;经营活动产生的现金流量净额为2320.70万元,同比增长11.15%;报告期内,万东医疗基本每股收益为0.108元,加权平均净资产收益率为1.64%。

以8月28日收盘价计算,万东医疗目前市盈率(TTM)约为64.12倍,市净率(LF)约为2.68倍,市销率(TTM)约为9.78倍。

公司近年市盈率(TTM)、市净率(LF)、市销率(TTM)历史分位图如下所示:



根据半年报,公司第二季度实现营业总收入3.39亿元,同比增长37.95%,环比增长32.99%;归母净利润4560.27万元,同比增长31.50%,环比增长49.82%;扣非净利润4090.58万元,同比增长34.25%,环比增长39.69%。

半年报显示,公司主营业务为大型医学影像设备的研发、生产制造、销售和售后服务。
2023年上半年,公司毛利率为40.73%,同比下降3.48个百分点;净利率为13.06%,较上年同期上升0.01个百分点。从单季度指标来看,2023年第二季度公司毛利率为41.27%,同比上升0.02个百分点,环比上升1.26个百分点;净利率为14.14%,较上年同期上升0.24个百分点,较上一季度上升2.51个百分点。
数据显示,2023年上半年公司加权平均净资产收益率为1.64%,较上年同期下降0.08个百分点;公司2023年上半年投入资本回报率为1.02%,较上年同期下降0.20个百分点。

2023上半年,公司经营活动现金流净额为2320.70万元,同比增长11.15%,主要系销售回款增加所致;筹资活动现金流净额-8557.99万元,同比减少21.48亿元,主要系去年同期非公开发行股票募集资金到账所致;投资活动现金流净额-4.73亿元,上年同期为-2.89亿元,主要系使用暂时闲置资金购买理财产品所致。
进一步统计发现,2023年上半年公司自由现金流为-4.07亿元,上年同期为-2.16亿元。

2023年上半年,公司营业收入现金比为131.43%,净现比为30.52%。

营运能力方面,2023年上半年,公司总资产周转率为0.11次,上年同期为0.12次(2022年上半年行业平均值为0.25次,公司位居同行业37/42);固定资产周转率为3.52次,上年同期为2.69次(2022年上半年行业平均值为2.06次,公司位居同行业13/42);公司应收账款周转率、存货周转率分别为1.87次、1.14次。

2023年上半年,公司期间费用为1.71亿元,较上年同期增加3268.12万元;但期间费用率为28.73%,较上年同期下降1.52个百分点。其中,销售费用同比增长34.52%,管理费用同比增长17.01%,研发费用同比增长30.86%,财务费用由去年同期的-2481.81万元变为-4050.19万元。
资料显示,销售费用的变动主要因为推进营销变革,营销队伍扩大;管理费用的变动主要因为股份支付增加;财务费用的变动主要因为利息收入增加;研发费用的变动主要因为公司持续加大研发投入。

资产重大变化方面,截至2023年二季度末,公司货币资金余额较上年末减少16.07%,占公司总资产比重下降9.90个百分点;存货余额较上年末增加31.15%,占公司总资产比重上升1.57个百分点;预付款项较上年末减少16.71%,占公司总资产比重下降0.23个百分点;应收账款较上年末增加3.57%,占公司总资产比重上升0.21个百分点。

负债重大变化方面,截至2023年二季度末,公司合同负债较上年末增加29.65%,占公司总资产比重上升0.37个百分点;应付账款较上年末减少6.38%,占公司总资产比重下降0.31个百分点;其他流动负债较上年末减少39.53%,占公司总资产比重下降0.27个百分点;一年内到期的非流动负债较上年末减少77.27%,占公司总资产比重下降0.09个百分点。

从存货变动来看,截至2023年上半年末,公司存货账面价值为3.5亿元,占净资产的7.6%,较上年末增加8306.23万元。其中,存货跌价准备为2825.38万元,计提比例为7.48%。

偿债能力方面,公司2023年二季度末资产负债率为10.50%,相比上年末增加0.01个百分点;有息资产负债率为0.03%,相比上年末减少0.09个百分点。

2023年上半年,公司流动比率为8.54,速动比率为7.83。

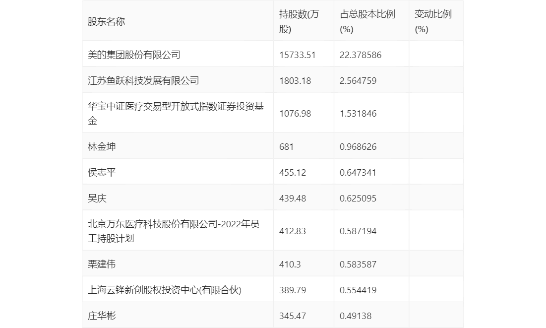
半年报显示,2023年上半年末的公司十大流通股东中,新进股东为庄华彬,取代了一季度末的赵家礼。在具体持股比例上,华宝中证医疗交易型开放式指数证券投资基金、林金坤、吴庆、栗建伟持股有所上升,北京万东医疗科技股份有限公司-2022年员工持股计划、上海云锋新创股权投资中心(有限合伙)持股有所下降。

筹码集中度方面,截至2023年二季度末,公司股东总户数为3.06万户,较一季度末增长了105户,增幅0.34%;户均持股市值由一季度末的56.72万元下降至47.86万元,降幅为15.62%。

指标注解:
市盈率
=总市值/净利润。当公司亏损时市盈率为负,此时用市盈率估值没有实际意义,往往用市净率或市销率做参考。
市净率
=总市值/净资产。市净率估值法多用于盈利波动较大而净资产相对稳定的公司。
市销率
=总市值/营业收入。市销率估值法通常用于亏损或微利的成长型公司。
文中市盈率和市销率采用TTM方式,即以截至最近一期财报(含预报)12个月的数据计算。市净率采用LF方式,即以最近一期财报数据计算。
市盈率为负时,不显示当期分位数,会导致折线图中断。