
中证智能财讯 戎美股份(301088)8月29日披露2023年半年度报告。2023年上半年,公司实现营业总收入3.92亿元,同比增长1.44%;归母净利润5624.78万元,同比下降24.87%;扣非净利润3511.23万元,同比下降35.26%;经营活动产生的现金流量净额为5625.65万元,同比增长28.78%;报告期内,戎美股份基本每股收益为0.2467元,加权平均净资产收益率为2.17%。
报告期内,公司合计非经常性损益为2113.55万元,其中除同公司正常经营业务相关的有效套期保值业务外,持有交易性金融资产、交易性金融负债产生的公允价值变动损益,以及处置交易性金融资产、交易性金融负债和可供出售金融资产取得的投资收益为2805.63万元。

以8月28日收盘价计算,戎美股份目前市盈率(TTM)约为25.01倍,市净率(LF)约为1.46倍,市销率(TTM)约为3.89倍。

公司近年市盈率(TTM)、市净率(LF)、市销率(TTM)历史分位图如下所示:



根据半年报,公司第二季度实现营业总收入1.86亿元,同比增长1.30%,环比下降10.30%;归母净利润1990.4万元,同比下降26.37%,环比下降45.23%;扣非净利润929.05万元,同比下降46.19%,环比下降64.02%。

半年报显示,公司的主要业务是基于互联网平台,依托“戎美RUMERE”品牌,从事服装服饰等产品的企划设计、供应链管理和销售业务。
分产品来看,2023年上半年公司主营业务中,上衣收入1.33亿元,同比下降5.64%,占营业收入的33.95%;外套收入0.83亿元,同比增长2.01%,占营业收入的21.11%;裤类收入0.66亿元,同比下降6.85%,占营业收入的16.82%。

2023年上半年,公司毛利率为39.55%,同比下降2.54个百分点;净利率为14.33%,较上年同期下降5.02个百分点。从单季度指标来看,2023年第二季度公司毛利率为39.89%,同比上升0.92个百分点,环比上升0.64个百分点;净利率为10.72%,较上年同期下降4.03个百分点,较上一季度下降6.85个百分点。

分产品看,上衣、外套、裤类2023年上半年毛利率分别为37.92%、40.53%、43.86%。

数据显示,2023年上半年公司加权平均净资产收益率为2.17%,较上年同期下降0.86个百分点;公司2023年上半年投入资本回报率为2.02%,较上年同期下降0.91个百分点。

2023上半年,公司经营活动现金流净额为5625.65万元,同比增长28.78%;筹资活动现金流净额-114.16万元,同比增加100.05万元;投资活动现金流净额1098.26万元,上年同期为1.69亿元。
进一步统计发现,2023年上半年公司自由现金流为2226.62万元,相比上年同期下降91.85%。

2023年上半年,公司营业收入现金比为113.90%,净现比为100.02%。

2023年上半年,公司期间费用为8050.23万元,较上年同期增加864.67万元;期间费用率为20.51%,较上年同期上升1.94个百分点。其中,销售费用同比增长9.57%,管理费用同比增长32.56%,研发费用同比增长14.66%,财务费用由去年同期的-185.08万元变为-406.29万元。

资产重大变化方面,截至2023年二季度末,公司货币资金余额较上年末增加16.12%,占公司总资产比重上升2.56个百分点;存货余额较上年末减少10.47%,占公司总资产比重下降1.44个百分点;预付款项较上年末减少16.37%,占公司总资产比重下降0.36个百分点;固定资产较上年末减少0.38%,占公司总资产比重下降0.05个百分点。

负债重大变化方面,截至2023年二季度末,公司应付账款较上年末减少25.28%,占公司总资产比重下降0.88个百分点;其他流动负债较上年末减少48.17%,占公司总资产比重下降0.01个百分点。

从存货变动来看,截至2023年上半年末,公司存货账面价值为3.24亿元,占净资产的12.74%,较上年末减少3785.84万元。其中,存货跌价准备为1.21亿元,计提比例为27.27%。

偿债能力方面,公司2023年二季度末资产负债率为6.67%,相比上年末增加1.34个百分点;有息资产负债率为0.00%,相比上年末减少0.04个百分点。

2023年上半年,公司流动比率为13.49,速动比率为11.62。

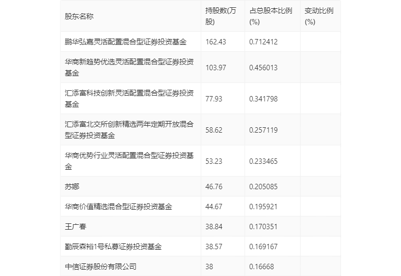
半年报显示,2023年上半年末的公司十大流通股东中,新进股东为汇添富科技创新灵活配置混合型证券投资基金、汇添富北交所创新精选两年定期开放混合型证券投资基金、华商价值精选混合型证券投资基金、王广春、中信证券股份有限公司,取代了一季度末的勤辰金选森裕1号私募证券投资基金、尹睿彬、勤辰森裕2号私募证券投资基金、国源不争2号私募证券投资基金、国源不争1号私募证券投资基金。在具体持股比例上,华商新趋势优选灵活配置混合型证券投资基金、华商优势行业灵活配置混合型证券投资基金、苏娜持股有所上升,鹏华弘嘉灵活配置混合型证券投资基金、勤辰森裕1号私募证券投资基金持股有所下降。

筹码集中度方面,截至2023年二季度末,公司股东总户数为2.42万户,较一季度末下降了1359户,降幅5.32%;户均持股市值由一季度末的16.46万元上升至16.85万元,增幅为2.37%。

指标注解:
市盈率
=总市值/净利润。当公司亏损时市盈率为负,此时用市盈率估值没有实际意义,往往用市净率或市销率做参考。
市净率
=总市值/净资产。市净率估值法多用于盈利波动较大而净资产相对稳定的公司。
市销率
=总市值/营业收入。市销率估值法通常用于亏损或微利的成长型公司。
文中市盈率和市销率采用TTM方式,即以截至最近一期财报(含预报)12个月的数据计算。市净率采用LF方式,即以最近一期财报数据计算。
市盈率为负时,不显示当期分位数,会导致折线图中断。