
中证智能财讯 天威视讯(002238)8月25日披露2023年半年度报告。2023年上半年,公司实现营业总收入6.22亿元,同比下降11.52%;归母净利润6307.98万元,同比增长14.63%;扣非净利润2083.31万元,同比下降37.73%;经营活动产生的现金流量净额为1.82亿元,同比增长57.00%;报告期内,天威视讯基本每股收益为0.08元,加权平均净资产收益率为2.70%。
报告期内,公司合计非经常性损益为4224.68万元,其中计入当期损益的政府补助为3940.13万元。
以8月24日收盘价计算,天威视讯目前市盈率(TTM)约为46.77倍,市净率(LF)约为2.41倍,市销率(TTM)约为3.87倍。

公司近年市盈率(TTM)、市净率(LF)、市销率(TTM)历史分位图如下所示:



根据半年报,公司第二季度实现营业总收入3.28亿元,同比下降10.01%,环比增长11.38%;归母净利润4433.91万元,同比增长10.53%,环比增长136.59%;扣非净利润1096.23万元,同比下降59.36%,环比增长11.06%。

资料显示,公司主营业务为向用户提供有线数字业务(包括基本收视、增值业务)、互联网宽带接入服务、视频购物服务和政企项目服务。
分产品来看,2023年上半年公司主营业务中,有线电视服务收入5.65亿元,同比下降7.58%,占营业收入的90.87%;电视购物收入0.34亿元,同比下降45.13%,占营业收入的5.41%。
2023年上半年,公司毛利率为31.52%,同比上升1.69个百分点;净利率为9.35%,较上年同期上升1.63个百分点。从单季度指标来看,2023年第二季度公司毛利率为31.30%,同比下降0.07个百分点,环比下降0.47个百分点;净利率为12.84%,较上年同期上升1.80个百分点,较上一季度上升7.37个百分点。

分产品看,有线电视服务、电视购物2023年上半年毛利率分别为30.28%、29.74%。
数据显示,2023年上半年公司加权平均净资产收益率为2.70%,较上年同期增长0.31个百分点;公司2023年上半年投入资本回报率为1.94%,较上年同期下降0.04个百分点。

2023上半年,公司经营活动现金流净额为1.82亿元,同比增长57.00%;筹资活动现金流净额1.40亿元,同比增加2.44亿元;投资活动现金流净额-5.48亿元,上年同期为-1.98亿元。
进一步统计发现,2023年上半年公司自由现金流为-4.42亿元,上年同期为-1.76亿元。

2023年上半年,公司营业收入现金比为130.99%,净现比为288.68%。

营运能力方面,2023年上半年,公司总资产周转率为0.15次,上年同期为0.19次(2022年上半年行业平均值为0.12次,公司位居同行业3/14);固定资产周转率为0.60次,上年同期为0.70次(2022年上半年行业平均值为0.76次,公司位居同行业5/14);公司应收账款周转率、存货周转率分别为3.15次、14.71次。

2023年上半年,公司期间费用为1.71亿元,较上年同期增加410.72万元;期间费用率为27.55%,较上年同期上升3.76个百分点。其中,销售费用同比增长2.96%,管理费用同比增长5.19%,研发费用同比下降16.95%,财务费用由去年同期的-553.83万元变为-384.29万元。

资产重大变化方面,截至2023年二季度末,公司货币资金余额较上年末减少19.46%,占公司总资产比重下降6.14个百分点;在建工程较上年末增加31.90%,占公司总资产比重上升1.93个百分点;固定资产较上年末减少0.38%,占公司总资产比重下降0.88个百分点;预付款项较上年末增加88.90%,占公司总资产比重上升0.35个百分点。

负债重大变化方面,截至2023年二季度末,公司应付账款较上年末减少24.59%,占公司总资产比重下降4.16个百分点;短期借款较上年末增加44.27%,占公司总资产比重上升2.02个百分点;合同负债较上年末增加5.07%,占公司总资产比重上升0.17个百分点;一年内到期的非流动负债较上年末减少18.73%,占公司总资产比重下降0.15个百分点。

从存货变动来看,截至2023年上半年末,公司存货账面价值为3049.7万元,占净资产的1.33%,较上年末增加307.81万元。其中,存货跌价准备为97.01万元,计提比例为3.08%。

偿债能力方面,公司2023年二季度末资产负债率为43.66%,相比上年末增加2.33个百分点;有息资产负债率为11.27%,相比上年末增加5.48个百分点。

2023年上半年,公司流动比率为1.04,速动比率为1.02。

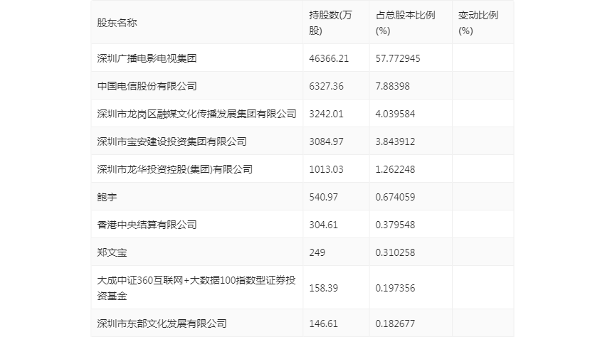
半年报显示,2023年上半年末的公司十大流通股东中,新进股东为郑文宝、大成中证360互联网+大数据100指数型证券投资基金,取代了一季度末的华泰证券股份有限公司、周云琦。在具体持股比例上,香港中央结算有限公司持股有所下降。

筹码集中度方面,截至2023年二季度末,公司股东总户数为2.9万户,较一季度末下降了2614户,降幅8.28%;户均持股市值由一季度末的20.23万元下降至19.20万元,降幅为5.09%。

指标注解:
市盈率
=总市值/净利润。当公司亏损时市盈率为负,此时用市盈率估值没有实际意义,往往用市净率或市销率做参考。
市净率
=总市值/净资产。市净率估值法多用于盈利波动较大而净资产相对稳定的公司。
市销率
=总市值/营业收入。市销率估值法通常用于亏损或微利的成长型公司。
文中市盈率和市销率采用TTM方式,即以截至最近一期财报(含预报)12个月的数据计算。市净率采用LF方式,即以最近一期财报数据计算。
市盈率为负时,不显示当期分位数,会导致折线图中断。