
中证智能财讯 紫光股份(000938)8月25日披露2023年半年度报告。2023年上半年,公司实现营业总收入360.45亿元,同比增长4.78%;归母净利润10.22亿元,同比增长6.53%;扣非净利润8.45亿元,同比下降3.43%;经营活动产生的现金流量净额为-22.07亿元,上年同期为-16.36亿元;报告期内,紫光股份基本每股收益为0.357元,加权平均净资产收益率为3.16%。
以8月24日收盘价计算,紫光股份目前市盈率(TTM)约为32.96倍,市净率(LF)约为2.23倍,市销率(TTM)约为0.97倍。

公司近年市盈率(TTM)、市净率(LF)、市销率(TTM)历史分位图如下所示:



根据半年报,公司第二季度实现营业总收入195.17亿元,同比增长2.39%,环比增长18.08%;归母净利润5.83亿元,同比下降0.69%,环比增长32.85%;扣非净利润5.08亿元,同比下降0.76%,环比增长50.62%。

资料显示,公司作为全球新一代云计算基础设施建设和行业智慧应用服务的领先者,提供技术领先的网络、计算、存储、云计算、安全和智能终端等全栈ICT基础设施及服务。
分产品来看,2023年上半年公司主营业务中,ICT基础设施及服务收入248.08亿元,同比增长12.11%,占营业收入的68.82%;IT产品分销与供应链服务收入128.14亿元,同比下降10.96%,占营业收入的35.55%;合并抵消收入16.40亿元,同比下降25.73%,占营业收入的4.55%。

2023年上半年,公司毛利率为20.32%,同比下降1.33个百分点;净利率为5.00%,较上年同期上升0.11个百分点。从单季度指标来看,2023年第二季度公司毛利率为19.74%,同比下降1.70个百分点,环比下降1.27个百分点;净利率为5.27%,较上年同期下降0.15个百分点,较上一季度上升0.58个百分点。

分产品看,ICT基础设施及服务、IT产品分销与供应链服务2023年上半年毛利率分别为25.44%、7.46%。

数据显示,2023年上半年公司加权平均净资产收益率为3.16%,较上年同期增长0.01个百分点;公司2023年上半年投入资本回报率为3.86%,较上年同期下降0.18个百分点。

2023上半年,公司经营活动现金流净额为-22.07亿元,同比减少5.71亿元;筹资活动现金流净额33.48亿元,同比增加32.09亿元;投资活动现金流净额1.04亿元,上年同期为5.86亿元。
进一步统计发现,2023年上半年公司自由现金流为-17.63亿元,上年同期为-19.26亿元。

2023年上半年,公司营业收入现金比为111.67%,净现比为-215.94%。

营运能力方面,2023年上半年,公司总资产周转率为0.47次,上年同期为0.50次(2022年上半年行业平均值为0.20次,公司位居同行业7/133);固定资产周转率为34.48次,上年同期为35.56次(2022年上半年行业平均值为5.00次,公司位居同行业10/133);公司应收账款周转率、存货周转率分别为2.46次、1.43次。

2023年上半年,公司期间费用为59.39亿元,较上年同期增加5.77亿元;期间费用率为16.48%,较上年同期上升0.89个百分点。其中,销售费用同比增长5.71%,管理费用同比增长5.45%,研发费用同比增长14.47%,财务费用同比增长29.62%。

资产重大变化方面,截至2023年二季度末,公司应收账款较上年末增加24.79%,占公司总资产比重上升3.13个百分点;存货余额较上年末减少2.24%,占公司总资产比重下降2.10个百分点;货币资金余额较上年末增加12.31%,占公司总资产比重上升0.87个百分点;预付款项较上年末增加64.88%,占公司总资产比重上升0.73个百分点。

负债重大变化方面,截至2023年二季度末,公司应付账款较上年末增加21.62%,占公司总资产比重上升2.03个百分点;长期借款较上年末增加1074.88%,占公司总资产比重上升2.73个百分点;合同负债较上年末减少16.13%,占公司总资产比重下降2.34个百分点;短期借款较上年末增加32.18%,占公司总资产比重上升1.40个百分点。


2023年上半年末,紫光股份的商誉达到139.92亿元,相当于同期公司净资产328.65亿元的42.57%。
偿债能力方面,公司2023年二季度末资产负债率为49.48%,相比上年末增加0.56个百分点;有息资产负债率为10.41%,相比上年末增加3.58个百分点。

2023年上半年,公司流动比率为1.64,速动比率为1.05。

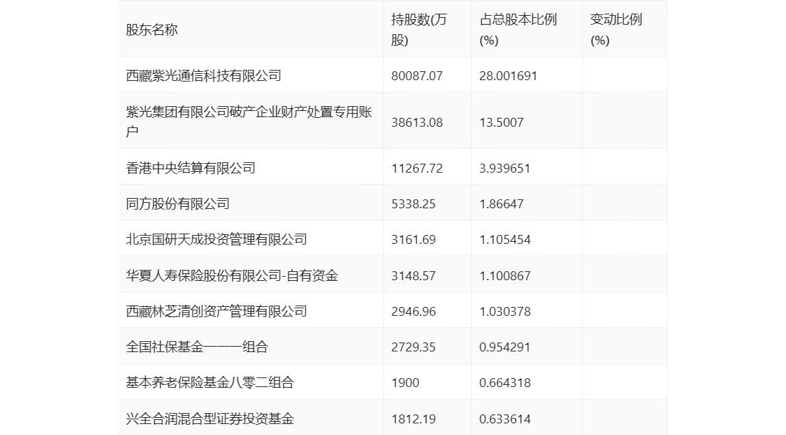
半年报显示,2023年上半年末的公司十大流通股东中,新进股东为基本养老保险基金八零二组合、兴全合润混合型证券投资基金,取代了一季度末的北京屹唐同舟股权投资中心(有限合伙)、全国社保基金一一三组合。在具体持股比例上,香港中央结算有限公司持股有所上升,紫光集团有限公司破产企业财产处置专用账户、同方股份有限公司、北京国研天成投资管理有限公司、华夏人寿保险股份有限公司-自有资金、西藏林芝清创资产管理有限公司、全国社保基金一一一组合持股有所下降。

筹码集中度方面,截至2023年二季度末,公司股东总户数为12.74万户,较一季度末增长了1.19万户,增幅10.26%;户均持股市值由一季度末的72.50万元下降至71.50万元,降幅为1.38%。

指标注解:
市盈率
=总市值/净利润。当公司亏损时市盈率为负,此时用市盈率估值没有实际意义,往往用市净率或市销率做参考。
市净率
=总市值/净资产。市净率估值法多用于盈利波动较大而净资产相对稳定的公司。
市销率
=总市值/营业收入。市销率估值法通常用于亏损或微利的成长型公司。
文中市盈率和市销率采用TTM方式,即以截至最近一期财报(含预报)12个月的数据计算。市净率采用LF方式,即以最近一期财报数据计算。
市盈率为负时,不显示当期分位数,会导致折线图中断。