
中证智能财讯 西王食品(000639)8月25日披露2023年半年度报告。2023年上半年,公司实现营业总收入27.33亿元,同比下降6.40%;归母净利润亏损5126.10万元,上年同期亏损1473.66万元;扣非净利润亏损5300.03万元,上年同期亏损2445.49万元;经营活动产生的现金流量净额为5923.97万元,同比增长68.69%;报告期内,西王食品基本每股收益为-0.05元,加权平均净资产收益率为-1.54%。
以8月24日收盘价计算,西王食品目前市盈率(TTM)约为-7.5倍,市净率(LF)约为1.47倍,市销率(TTM)约为0.83倍。

公司近年市盈率(TTM)、市净率(LF)、市销率(TTM)历史分位图如下所示:



根据半年报,公司第二季度实现营业总收入13.12亿元,同比下降17.14%,环比下降7.62%;归母净利润-902.11万元,同比下降256.24%,环比增长78.64%;扣非净利润-736.99万元,同比下降19.70%,环比增长83.85%。

分产品来看,2023年上半年公司主营业务中,营养补给品收入13.08亿元,同比增长3.63%,占营业收入的47.88%;植物油收入11.34亿元,同比下降14.64%,占营业收入的41.49%。
2023年上半年,公司毛利率为17.79%,同比下降1.19个百分点;净利率为-2.30%,较上年同期下降1.81个百分点。从单季度指标来看,2023年第二季度公司毛利率为19.65%,同比上升2.24个百分点,环比上升3.57个百分点;净利率为-1.09%,较上年同期下降1.67个百分点,较上一季度上升2.33个百分点。

分产品看,营养补给品、植物油2023年上半年毛利率分别为25.35%、14.28%。

数据显示,2023年上半年公司加权平均净资产收益率为-1.54%,较上年同期下降1.15个百分点;公司2023年上半年投入资本回报率为-0.40%,较上年同期下降0.34个百分点。

2023上半年,公司经营活动现金流净额为5923.97万元,同比增长68.69%;筹资活动现金流净额-5356.97万元,同比减少6346.80万元;投资活动现金流净额-1.58亿元,上年同期为-8925.62万元。
进一步统计发现,2023年上半年公司自由现金流为2583.68万元,上年同期为-7990.88万元。

2023年上半年,公司营业收入现金比为106.48%,净现比为-115.56%。

营运能力方面,2023年上半年,公司总资产周转率为0.39次,上年同期为0.37次(2022年上半年行业平均值为0.44次,公司位居同行业15/24);固定资产周转率为4.55次,上年同期为4.83次(2022年上半年行业平均值为1.53次,公司位居同行业3/24);公司应收账款周转率、存货周转率分别为8.94次、2.29次。

2023年上半年,公司期间费用为5.56亿元,较上年同期减少777.76万元;但期间费用率为20.35%,较上年同期上升1.03个百分点。其中,销售费用同比下降6.06%,管理费用同比增长5.73%,研发费用同比下降32.72%,财务费用同比增长65.65%。

资产重大变化方面,截至2023年二季度末,公司无形资产较上年末增加3.71%,占公司总资产比重上升1.68个百分点;预付款项较上年末减少39.07%,占公司总资产比重下降0.92个百分点;存货余额较上年末减少4.31%,占公司总资产比重下降0.53个百分点;应收账款较上年末减少6.90%,占公司总资产比重下降0.29个百分点。

负债重大变化方面,截至2023年二季度末,公司一年内到期的非流动负债较上年末增加924.00%,占公司总资产比重上升11.03个百分点;长期借款较上年末减少100.00%,占公司总资产比重下降10.72个百分点;合同负债较上年末减少40.98%,占公司总资产比重下降1.16个百分点;应付账款较上年末减少6.90%,占公司总资产比重下降0.32个百分点。

从存货变动来看,截至2023年上半年末,公司存货账面价值为9.57亿元,占净资产的28.69%,较上年末减少4316.22万元。其中,存货跌价准备为4510.65万元,计提比例为4.5%。

偿债能力方面,公司2023年二季度末资产负债率为44.05%,相比上年末减少0.58个百分点;有息资产负债率为28.72%,相比上年末增加0.72个百分点。

2023年上半年,公司流动比率为1.10,速动比率为0.75。

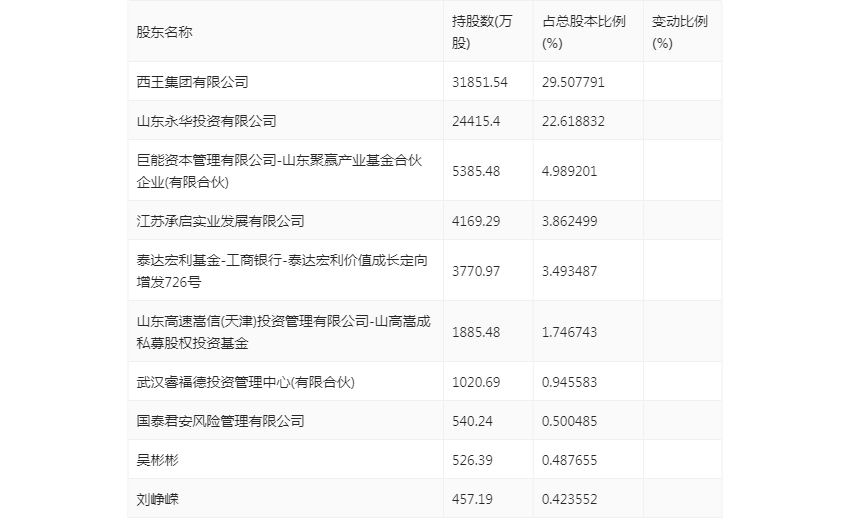
半年报显示,2023年上半年末的公司十大流通股东中,新进股东为吴彬彬,取代了一季度末的株洲市国有资产投资控股集团有限公司。在具体持股比例上,武汉睿福德投资管理中心(有限合伙)持股有所下降。

值得注意的是,根据半年报数据,西王食品51.94%股份处于质押状态。其中,第一大股东西王集团有限公司质押3.17亿股公司股份,占其全部持股的99.37%。
筹码集中度方面,截至2023年二季度末,公司股东总户数为2.54万户,较一季度末下降了40户,降幅0.16%;户均持股市值由一季度末的21.76万元下降至19.54万元,降幅为10.20%。

指标注解:
市盈率
=总市值/净利润。当公司亏损时市盈率为负,此时用市盈率估值没有实际意义,往往用市净率或市销率做参考。
市净率
=总市值/净资产。市净率估值法多用于盈利波动较大而净资产相对稳定的公司。
市销率
=总市值/营业收入。市销率估值法通常用于亏损或微利的成长型公司。
文中市盈率和市销率采用TTM方式,即以截至最近一期财报(含预报)12个月的数据计算。市净率采用LF方式,即以最近一期财报数据计算。
市盈率为负时,不显示当期分位数,会导致折线图中断。