
中证智能财讯 燕京啤酒(000729)8月22日披露2023年半年度报告。2023年上半年,公司实现营业总收入76.25亿元,同比增长10.38%;归母净利润5.14亿元,同比增长46.57%;扣非净利润4.38亿元,同比增长40.11%;经营活动产生的现金流量净额为18.34亿元,同比增长3.67%;报告期内,燕京啤酒基本每股收益为0.1823元,加权平均净资产收益率为3.76%。

以8月21日收盘价计算,燕京啤酒目前市盈率(TTM)约为57.62倍,市净率(LF)约为2.13倍,市销率(TTM)约为2.13倍。

公司近年市盈率(TTM)、市净率(LF)、市销率(TTM)历史分位图如下所示:



根据半年报,公司第二季度实现营业总收入40.99亿元,同比增长7.65%,环比增长16.23%;归母净利润4.49亿元,同比增长28.47%,环比增长595.95%;扣非净利润3.82亿元,同比增长13.06%,环比增长575.49%。

半年报显示,公司主营啤酒、水、啤酒原料、饮料、酵母、饲料等产品的制造和销售。
分产品来看,2023年上半年公司主营业务中,啤酒收入70.61亿元,同比增长9.51%,占营业收入的92.61%;饲料收入0.77亿元,同比增长63.36%,占营业收入的1.01%;饮料收入0.32亿元,同比下降3.89%,占营业收入的0.42%。
2023年上半年,公司毛利率为41.56%,同比上升1.66个百分点;净利率为7.98%,较上年同期上升2.00个百分点。从单季度指标来看,2023年第二季度公司毛利率为45.66%,同比上升1.40个百分点,环比上升8.88个百分点;净利率为12.66%,较上年同期上升2.64个百分点,较上一季度上升10.11个百分点。

数据显示,2023年上半年公司加权平均净资产收益率为3.76%,较上年同期增长1.18个百分点;公司2023年上半年投入资本回报率为3.45%,较上年同期增长1.04个百分点。

2023上半年,公司经营活动现金流净额为18.34亿元,同比增长3.67%;筹资活动现金流净额13.97亿元,同比增加6.08亿元,主要系银行贷款增加所致;投资活动现金流净额-26.46亿元,上年同期为-23.4亿元。
进一步统计发现,2023年上半年公司自由现金流为9.67亿元,相比上年同期下降13.01%。

2023年上半年,公司营业收入现金比为121.81%,净现比为356.91%。

营运能力方面,2023年上半年,公司总资产周转率为0.35次,上年同期为0.34次(2022年上半年行业平均值为0.16次,公司位居同行业3/16);固定资产周转率为0.96次,上年同期为0.83次(2022年上半年行业平均值为0.76次,公司位居同行业7/16);公司应收账款周转率、存货周转率分别为27.51次、1.11次。

2023年上半年,公司期间费用为18.71亿元,较上年同期增加1.51亿元;但期间费用率为24.53%,较上年同期下降0.37个百分点。其中,销售费用同比增长4.11%,管理费用同比增长14.02%,研发费用同比增长9.89%,财务费用由去年同期的-7097.86万元变为-8558.43万元。

资产重大变化方面,截至2023年二季度末,公司货币资金余额较上年末增加43.51%,占公司总资产比重上升8.08个百分点;固定资产较上年末减少2.50%,占公司总资产比重下降5.24个百分点;存货余额较上年末减少6.00%,占公司总资产比重下降3.31个百分点;预付款项较上年末增加167.26%,占公司总资产比重上升0.80个百分点。

负债重大变化方面,截至2023年二季度末,公司短期借款较上年末增加473.70%,占公司总资产比重上升5.93个百分点;应付账款较上年末增加10.13%,占公司总资产比重下降0.18个百分点;合同负债较上年末减少4.87%,占公司总资产比重下降0.91个百分点;其他流动负债较上年末减少7.83%,占公司总资产比重下降0.15个百分点。

从存货变动来看,截至2023年上半年末,公司存货账面价值为38.93亿元,占净资产的27.92%,较上年末减少2.48亿元。其中,存货跌价准备为6480.11万元,计提比例为1.64%。

偿债能力方面,公司2023年二季度末资产负债率为36.23%,相比上年末增加5.17个百分点;有息资产负债率为7.43%,相比上年末增加5.88个百分点。

2023年上半年,公司流动比率为1.63,速动比率为1.16。

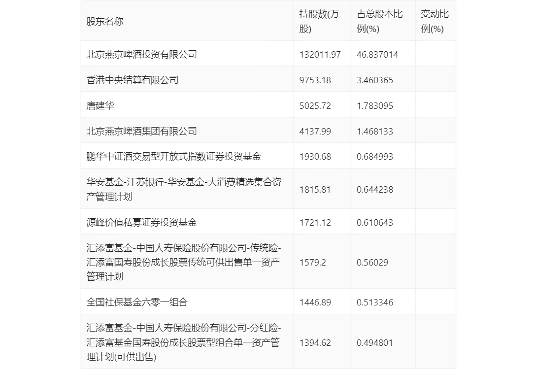
半年报显示,2023年上半年末的公司十大流通股东中,新进股东为华安基金-江苏银行-华安基金-大消费精选集合资产管理计划、汇添富基金-中国人寿保险股份有限公司-传统险-汇添富国寿股份成长股票传统可供出售单一资产管理计划、全国社保基金六零一组合、汇添富基金-中国人寿保险股份有限公司-分红险-汇添富基金国寿股份成长股票型组合单一资产管理计划(可供出售)。在具体持股比例上,鹏华中证酒交易型开放式指数证券投资基金持股有所上升,香港中央结算有限公司、源峰价值私募证券投资基金持股有所下降。

筹码集中度方面,截至2023年二季度末,公司股东总户数为5.75万户,较一季度末增长了8054户,增幅16.29%;户均持股市值由一季度末的79.85万元下降至61.12万元,降幅为23.46%。

指标注解:
市盈率
=总市值/净利润。当公司亏损时市盈率为负,此时用市盈率估值没有实际意义,往往用市净率或市销率做参考。
市净率
=总市值/净资产。市净率估值法多用于盈利波动较大而净资产相对稳定的公司。
市销率
=总市值/营业收入。市销率估值法通常用于亏损或微利的成长型公司。
文中市盈率和市销率采用TTM方式,即以截至最近一期财报(含预报)12个月的数据计算。市净率采用LF方式,即以最近一期财报数据计算。
市盈率为负时,不显示当期分位数,会导致折线图中断。