
中证智能财讯 龙净环保(600388)8月18日披露2023年半年度报告。2023年上半年,公司实现营业总收入49.41亿元,同比增长1.07%;归母净利润4.28亿元,同比增长12.09%;扣非净利润2.94亿元,同比下降9.39%;经营活动产生的现金流量净额为9029.88万元,同比增长185.83%;报告期内,龙净环保基本每股收益为0.4元,加权平均净资产收益率为5.61%。
报告期内,公司合计非经常性损益为1.34亿元,其中单独进行减值测试的应收款项、合同资产减值准备转回为9403.57万元。

以8月17日收盘价计算,龙净环保目前市盈率(TTM)约为21.46倍,市净率(LF)约2.36倍,市销率(TTM)约1.53倍。

公司近年市盈率(TTM)、市净率(LF)、市销率(TTM)历史分位图如下所示:

根据半年报,公司第二季度实现营业总收入25.23亿元,同比下降14.33%,环比增长4.34%;归母净利润2.43亿元,同比增长19.15%,环比增长31.43%;扣非净利润1.36亿元,同比下降18.98%,环比下降13.96%。

分产品来看,2023年上半年公司主营业务中,环保设备制造收入44.33亿元,同比增长1.91%,占营业收入的89.72%;项目运营收入收入3.65亿元,同比下降11.75%,占营业收入的7.38%;清洁能源收入0.12亿元,占营业收入的0.24%。

2023年上半年,公司毛利率为23.25%,同比下降0.80个百分点;净利率为8.63%,较上年同期上升0.78个百分点。从单季度指标来看,2023年第二季度公司毛利率为24.80%,同比上升2.52个百分点,环比上升3.18个百分点;净利率为9.70%,较上年同期上升2.68个百分点,较上一季度上升2.18个百分点。

数据显示,2023年上半年公司加权平均净资产收益率为5.61%,较上年同期增长0.22个百分点;公司2023年上半年投入资本回报率为3.84%,较上年同期增长0.11个百分点。

2023上半年,公司经营活动现金流净额为9029.88万元,同比增长185.83%;筹资活动现金流净额1.17亿元,同比增加4.85亿元;投资活动现金流净额9.58亿元,上年同期为2.48亿元。
进一步统计发现,2023年上半年公司自由现金流为10.45亿元,相比上年同期增长446.25%。

2023年上半年,公司营业收入现金比为73.88%,净现比为21.10%。

营运能力方面,2023年上半年,公司总资产周转率为0.19次,上年同期为0.18次(2022年上半年行业平均值为0.21次,公司位居同行业16/28);固定资产周转率为2.24次,上年同期为2.37次(2022年上半年行业平均值为2.94次,公司位居同行业16/28);公司应收账款周转率、存货周转率分别为1.64次、0.53次。

2023年上半年,公司期间费用为7.42亿元,较上年同期减少696.53万元;期间费用率为15.02%,较上年同期下降0.30个百分点。其中,销售费用同比增长8.3%,管理费用同比增长4.44%,研发费用同比下降7.88%,财务费用同比下降14.32%。

资产重大变化方面,截至2023年二季度末,公司货币资金余额较上年末增加53.95%,占公司总资产比重上升4.35个百分点;存货余额较上年末减少8.40%,占公司总资产比重下降1.62个百分点;在建工程较上年末增加16.63%,占公司总资产比重上升0.76个百分点;应收账款较上年末增加1.03%,占公司总资产比重上升0.45个百分点。

负债重大变化方面,截至2023年二季度末,公司合同负债较上年末减少7.45%,占公司总资产比重下降1.25个百分点;应付账款较上年末减少7.79%,占公司总资产比重下降0.91个百分点;长期借款较上年末增加13.91%,占公司总资产比重上升1.21个百分点;一年内到期的非流动负债较上年末增加12.36%,占公司总资产比重上升0.40个百分点。

从存货变动来看,截至2023年上半年末,公司存货账面价值为67.99亿元,占净资产的88.04%,较上年末减少6.23亿元。其中,存货跌价准备为9517.55万元,计提比例为1.38%。

偿债能力方面,公司2023年二季度末资产负债率为69%,相比上年末减少2.32个百分点;有息资产负债率为20.90%,相比上年末增加1.55个百分点。

2023年上半年,公司流动比率为1.32,速动比率为0.80。

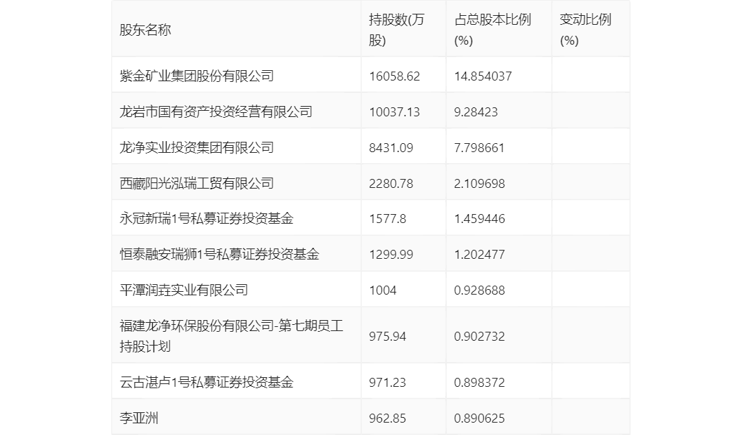
半年报显示,2023年上半年末的公司十大流通股东中,持股最多的为紫金矿业集团股份有限公司,占比14.854%。在具体持股比例上,永冠新瑞1号私募证券投资基金、恒泰融安瑞狮1号私募证券投资基金持股有所上升,紫金矿业集团股份有限公司、龙岩市国有资产投资经营有限公司、龙净实业投资集团有限公司、西藏阳光泓瑞工贸有限公司、平潭润垚实业有限公司、第七期员工持股计划、云古湛卢1号私募证券投资基金、李亚洲持股有所下降。

筹码集中度方面,截至2023年二季度末,公司股东总户数为4.47万户,较一季度末下降了3026户,降幅6.35%;户均持股市值由一季度末的39.84万元上升至43.51万元,增幅为9.21%。

指标注解:
市盈率
=总市值/净利润。当公司亏损时市盈率为负,此时用市盈率估值没有实际意义,往往用市净率或市销率做参考。
市净率
=总市值/净资产。市净率估值法多用于盈利波动较大而净资产相对稳定的公司。
市销率
=总市值/营业收入。市销率估值法通常用于亏损或微利的成长型公司。
文中市盈率和市销率采用TTM方式,即以截至最近一期财报(含预报)12个月的数据计算。市净率采用LF方式,即以最近一期财报数据计算。
市盈率为负时,不显示当期分位数,会导致折线图中断。