
中证智能财讯 稳健医疗(300888)8月16日披露2023年半年度报告。2023年上半年,公司实现营业总收入42.67亿元,同比下降17.28%;归母净利润6.82亿元,同比下降23.66%;扣非净利润5.50亿元,同比下降32.97%;经营活动产生的现金流量净额为1.58亿元,同比下降80.26%;报告期内,稳健医疗基本每股收益为1.1599元,加权平均净资产收益率为5.71%

以8月15日收盘价计算,稳健医疗目前市盈率(TTM)约为17.27倍,市净率(LF)约2.14倍,市销率(TTM)约2.38倍。

公司近年市盈率(TTM)、市净率(LF)、市销率(TTM)历史分位图如下所示:

根据半年报,公司第二季度实现营业总收入19.15亿元,同比下降32.48%,环比下降18.60%;归母净利润3.05亿元,同比下降43.13%,环比下降19.17%;扣非净利润2.4亿元,同比下降51.22%,环比下降22.47%。

分产品来看,2023年上半年公司主营业务中,医疗耗材-感染防护产品收入7.34亿元,占营业收入的17.21%;医疗耗材-传统伤口护理与包扎产品收入5.70亿元,占营业收入的13.35%;健康生活消费品-干湿棉柔巾收入5.45亿元,占营业收入的12.78%。

2023年上半年,公司毛利率为51.45%,同比上升2.64个百分点;净利率为16.55%,较上年同期下降0.85个百分点。从单季度指标来看,2023年第二季度公司毛利率为52.05%,同比上升2.40个百分点,环比上升1.08个百分点;净利率为16.62%,较上年同期下降2.42个百分点,较上一季度上升0.13个百分点。

分产品看,医疗耗材-感染防护产品、医疗耗材-传统伤口护理与包扎产品、健康生活消费品-干湿棉柔巾2023年毛利率分别为53.30%、36.40%、54.17%。
盈利能力方面, 2023年半年度公司加权平均净资产收益率为5.71%,同比下降2.46个百分点。公司2023年半年度投入资本回报率为4.56%,较上年同期下降2.44个百分点。

2023上半年,公司经营活动现金流净额为1.58亿元,同比下降80.26%;筹资活动现金流净额-6.79亿元,同比减少8.71亿元;投资活动现金流净额3.80亿元,上年同期为-9.67亿元。
进一步统计发现,2023年上半年公司自由现金流为10.77亿元,相比上年同期增长51.85%。

2023年上半年,公司营业收入现金比为101.73%,净现比为23.21%。

营运能力方面,2023年上半年,公司总资产周转率为0.24次,上年同期为0.36次(2022年上半年行业平均值为0.34次,公司位居同行业6/14);固定资产周转率为1.83次,上年同期为3.03次(2022年上半年行业平均值为1.40次,公司位居同行业3/14);公司应收账款周转率、存货周转率分别为4.92次、1.39次。

2023年上半年,公司期间费用为13.92亿元,较上年同期减少4870.80万元;但期间费用率为32.62%,较上年同期上升4.69个百分点。其中,销售费用同比增长1.08%,管理费用同比下降11.0%,研发费用同比下降18.44%,财务费用由去年同期的-7361.92万元变为-5279.44万元。

资产重大变化方面,截至2023年二季度末,公司在建工程较上年末增加33.04%,占公司总资产比重上升1.72个百分点;固定资产较上年末增加2.14%,占公司总资产比重上升1.06个百分点;预付款项较上年末减少40.93%,占公司总资产比重下降0.47个百分点;货币资金余额较上年末减少4.06%,占公司总资产比重上升0.47个百分点。

负债重大变化方面,截至2023年二季度末,公司短期借款较上年末减少23.19%,占公司总资产比重下降2.30个百分点;合同负债较上年末减少57.77%,占公司总资产比重下降1.71个百分点;应付账款较上年末减少28.04%,占公司总资产比重下降1.44个百分点;其他流动负债较上年末减少67.40%,占公司总资产比重下降0.21个百分点。

偿债能力方面,公司2023年二季度末资产负债率为29.87%,相比上年末减少3.33个百分点;有息资产负债率为12.35%,相比上年末减少1.32个百分点。

2023年上半年,公司流动比率为2.50,速动比率为2.17。

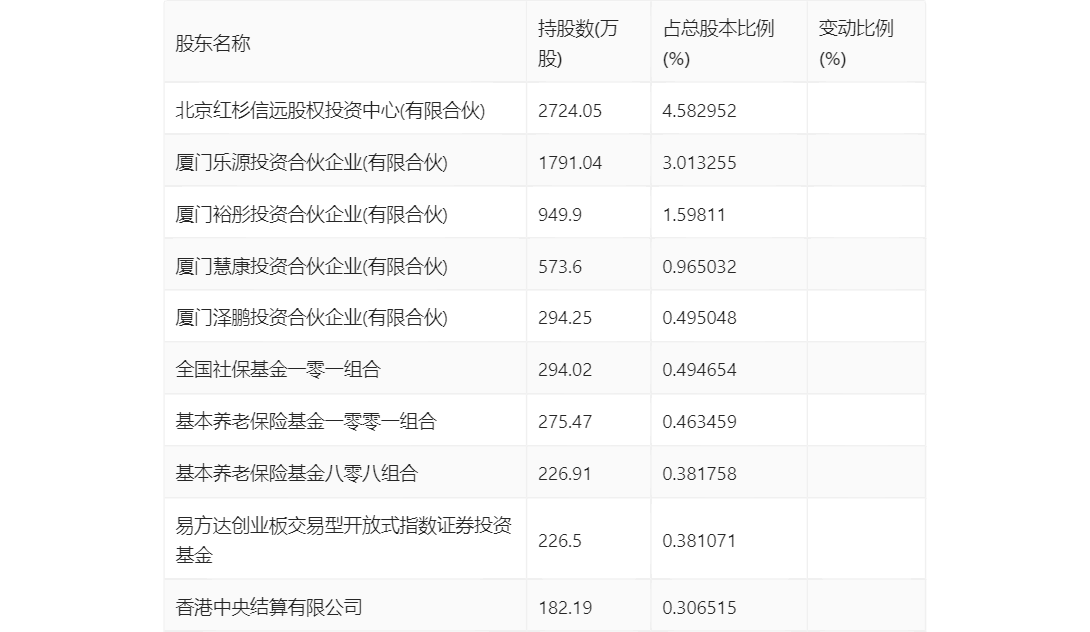
半年报显示,2023年上半年末的公司十大流通股东中,新进股东为基本养老保险基金一零零一组合,取代了一季度末的郑君辉。在具体持股比例上,北京红杉信远股权投资中心(有限合伙)、厦门乐源投资合伙企业(有限合伙)、厦门裕彤投资合伙企业(有限合伙)、厦门慧康投资合伙企业(有限合伙)、厦门泽鹏投资合伙企业(有限合伙)、全国社保基金一零一组合、基本养老保险基金八零八组合、易方达创业板交易型开放式指数证券投资基金持股有所上升,香港中央结算有限公司持股有所下降。

筹码集中度方面,截至2023年二季度末,公司股东总户数为2.78万户,较一季度末下降了343户,降幅1.22%;户均持股市值由一季度末的100.46万元下降至89.22万元,降幅为11.19%。

指标注解:
市盈率
=总市值/净利润。当公司亏损时市盈率为负,此时用市盈率估值没有实际意义,往往用市净率或市销率做参考。
市净率
=总市值/净资产。市净率估值法多用于盈利波动较大而净资产相对稳定的公司。
市销率
=总市值/营业收入。市销率估值法通常用于亏损或微利的成长型公司。
文中市盈率和市销率采用TTM方式,即以截至最近一期财报(含预报)12个月的数据计算。市净率采用LF方式,即以最近一期财报数据计算。
市盈率为负时,不显示当期分位数,会导致折线图中断。