“上市公司的钱难道不该是大股东的吗?”

作者 | 市值风云
编辑 | 小白
2010年,西王集团借壳金德发展,以1.3亿现金购买全部资产,同时以发行股票的形式,将旗下山东西王食品有限公司注入上市公司,主营业务变更为玉米油生产销售。次年,金德发展更名为西王食品(000639.SZ,“公司”)。
借壳成功后,公司营收大幅上涨,2022年营收60.7亿,超借壳之时的5倍,但却出现增收不增利的情况,自2018年开始,公司利润下滑明显,时有亏损,且一亏就抹掉过去几年的收成。

(制图:市值风云APP)
近年来,大豆、玉米等食用油原材料价格涨幅较大,给企业成本端带来不小的压力,除公司外,可比公司金龙鱼(300999.SZ)、道道全(002852.SZ)等食用油企业的毛利率亦有一定的下滑。

(制图:市值风云APP)

(来源:Choice)
然而,如果说毛利率下降还能怪大环境,那公司自身各种各样的问题,才是评价这家公司的关键。
蛇吞象LBO,商誉减值巨额亏损
2016年,为收购Kerr公司,公司借款30亿,并成立子公司西王青岛(公司出资占比75%,春华资本出资占比25%)。
西王青岛以39亿元收购了Kerr公司80%的股权(剩余20%股权后续收购),并表后产生24.3亿巨额商誉,11亿无形资产,公司持股60%。
收购时Kerr估值高达48.8亿,收购前公司总资产仅22.2亿,此次收购使公司资产负债率从2015年年末的22%上升至58.4%,有息负债率由5.7%上升至46.6%。

(来源:关于收购Kerr Investment Holding Corp.100%股份的公告)

(制图:市值风云APP)
与可比公司相比,公司的有息负债率原本位于较低水平,收购Kerr公司之后有息负债率明显上升,超过可比公司,此后由于定增资金到账,公司有息负债率得到一定缓解。

(制图:市值风云APP)
Kerr为北美运动营养保健品经营商,品牌包括Muscle Tech(肌肉科技)、Six Star、Hydroxycut等,其中知名度较高的要数蛋白粉品牌Muscle Tech。
然而,这个外来和尚非但不会念经,反而还宰了公司一刀。这笔蛇吞象并购效果远未达到预期,Kerr净利润拾阶而下,非常顺滑,2018年5,664万美元,2022年一季度开始出现亏损。

(制图:市值风云APP)
可以说,公司是拿着真金白银不远万里高价捡了个雷回来,堪称商业奇才。
随后,公司不得不在2019年、2022年分别计提商誉减值15.6亿、2.3亿;计提无形资产减值损失1.3亿、5.6亿。这也导致2019年、2022年公司净亏损高达9.6亿、7.5亿,两年亏光了自公司借壳以来近7成净利润。
2022年末,Kerr商誉仅剩1.5亿,减值比例高达92.6%。

(来源:2022年年报)
大存大贷,借钱向母公司输血
收购Kerr之后,公司有息负债高企,与2015年相比,2016年公司有息负债由1亿上升至31.1亿。
高额的有息负债也带来高额的财务费用。2017年财务费用占营收比例高达4.4%,更是占到净利润的6成,利润侵蚀严重。后续虽有所下降,但依然高于可比公司。

(制图:市值风云APP)
除了债权融资,股权融资自然也少不了。
早在2016年,公司便发布定增计划,募集16.7亿(扣除发行费后还剩16.5亿)用于收购Kerr,该笔定增于2018年完成。

(来源:关于以非公开发行股票募集资金置换预先已投入募投项目自筹资金的公告)
与2015年相比,2018年公司有息负债足足增加33.5亿,加上定增16.5亿,总计50亿。而由于公司持股西王青岛75%,按第一期收购时的估值48.8亿计算,公司所付对价约为36.6亿。
那么,这多出来的13.4亿拿去做什么了?
原来,有一大部分资金被存入了关联方西王集团旗下的财务公司西王财务(以下简称“财务公司”)中。2018年末,公司在财务公司的存款余额为11.3亿,2017年末,财务公司的存款余额则为0。

(来源:2018年年报)
财务公司于2016年开始为公司提供服务,2018年定增款到账后,2019年开始,公司在财务公司的存款余额始终在14.9亿以上。而公司的有息负债则始终居高不下,自2019年开始一直在20亿左右。
公司借了如此之多的有息负债,却从未从财务公司处贷过款。

(制图:市值风云APP)
同时,公司在财务公司的存款余额占账面货币资金的比例逐年上升,2022年末已高达97.3%。

(制图:市值风云APP)
那么,公司把钱都放在财务公司,是不是因为利息高呢?非也,虽然公司披露财务公司的存款利率略高于商业银行,但也远低于公司的贷款利率,两者存在约2个百分点的利差,从公司每年高额的财务费用也可看出这一点。

(来源:关于深圳证券交易所《2021年年报问询函》的回复公告)

(来源:关于深圳证券交易所《2021年年报问询函》的回复公告)
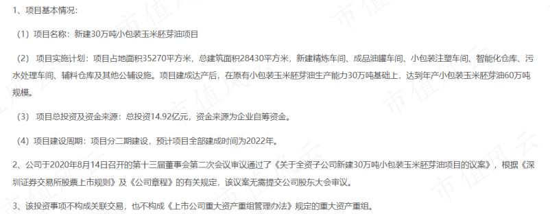
公司表示,货币资金的主要用途是用于建设30万吨小包装玉米胚芽油项目,该项目2020年立项,总投资14.9亿,预计2022年建成。
(来源:关于深圳证券交易所《2021年年报问询函》的回复公告)

(来源:关于全资子公司新建30万吨小包装玉米胚芽油项目的公告)
可结果呢?2021年,该项目的在建工程增加金额为1亿,2022年仅1,465万,原定2022年建成的项目,2022年年末项目完成进度仅23%。
工程进展如此缓慢,是没钱呢,还是没钱呢?15亿流动资金储备拿去还钱不香吗?

(来源:2022年年报)
或者说,项目的存在就只是公司将大额存款放入关联方财务公司的借口和遮羞布?
2022年年末,母公司西王集团,以及西王集团旗下的永华投资对公司股份的质押比例高达98.7%、100%。

(来源:2022年年报)
且公司表示,西王集团与永华投资在质押到期后均不打算赎回,而是沟通展期方案。

(来源:关于深圳证券交易所《2021年年报问询函》的回复公告)
可以说,母公司手头相当紧!就在今年五月,永华投资2,568万股公司股票被司法拍卖。

(关于公司持股5%以上股东部分股份将被司法拍卖的提示性公告)
根据企查查,这两家公司均被限高、被执行。
(来源:企查查)
(来源:企查查)
西王集团2019年爆发债务危机,百亿债券大面积违约,差一步进入破产重整,随后与债权人达成和解,两个方案二选一:
方案一:50%留债6年分4期清偿+50%转为上市公司股票和拟证券化资产;
方案二:10年分8期清偿。
这个时间点恰好与公司出现开始15亿大额存款的时间重合,那么这15亿财务公司存款到底是真的用于经营,还是通过财务公司在给母公司西王集团输血?
在此等情况下,母公司自身难保,公司还将15亿放入母公司旗下的财务公司那里,这笔钱真的能拿得回来吗?
姊妹公司也靠它,一人撑起一大家
2020年12月,公司购买资产收益权理财产品3.5亿元,该产品基础资产为隆远贸易尚未收回的应收账款。对此,公司仅在年报中有所披露,并未在事件发生之时发布公告。
(来源:2020年年报)
根据《深圳证券交易所上市公司规范运作指引》6.1.6条,上市公司证券投资总额占公司最近一期经审计净资产10%以上且绝对金额超过1,000万元人民币的,应当在投资之前经董事会审议通过并及时履行信息披露义务。
公司2019年经审计净资产为41亿,此次金额几乎擦线而过,既无需信批,也无需经董事会审议。
而在公司购买理财产品后1个月时间里,隆远贸易便将这3.5亿中的2.4亿支付给公司的关联方西王特钢。

(来源:关于深圳证券交易所2020年年报问询函的回复公告)
这下真相大白了,公司表面购买理财产品,实为变相向关联方西王特钢输血,这也可以解释公司为何将金额控制在4亿以下跳过信批和董事会审议流程。
在年报问询函的回复中,公司表示隆远贸易与西王特钢或公司不存在关联关系。

(来源:关于深圳证券交易所2020年年报问询函的回复公告)
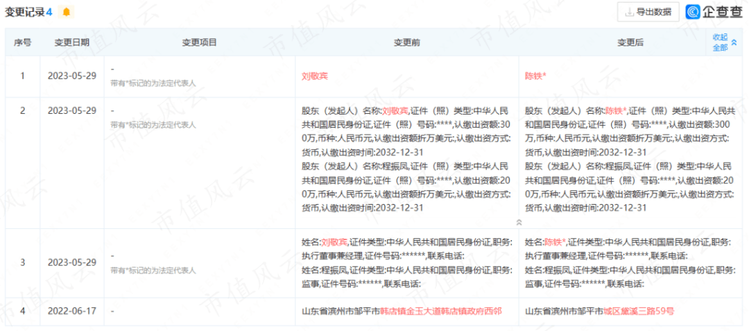
根据企查查,隆远贸易法人及实控人为刘敬宾,山东盛嘉投资有限公司(以下简称“盛嘉投资”)的原法人及实控人也是刘敬宾,今年五月份刚刚变更为陈铁。

(来源:企查查)
盛嘉投资旗下有且仅有一家100%控股的子公司,西王荣华国际贸易有限公司(以下简称“西王荣华”)。

(来源:企查查)
并非碰巧重名,该公司的原股东及发起人正是西王集团。
(来源:企查查)
而刘敬宾虽然当下不再控股西王荣华,但其旗下的山东永荣国际贸易有限公司原发起人却是西王荣华。
(来源:企查查)
如此千丝万缕的联系,若说毫无关联,鬼才信呢。
突然出现的第一大供应商,信披瑕疵
与疑似关联方的可疑交易还不仅仅理财产品这一件事,2021年,公司突然冒出来一个采购金额高达13.9亿的供应商——青岛荣林盛嘉国际贸易有限公司(以下简称“荣林盛嘉”),公司对其预付款为0.8亿,仅次于原第一大供应商西王淀粉。

(来源:关于对深圳证券交易所关注函的回复公告)
先不看别的,大家对“盛嘉”这个名字有没有一点眼熟,还记不记得刘敬宾旗下的山东盛嘉投资有限公司?
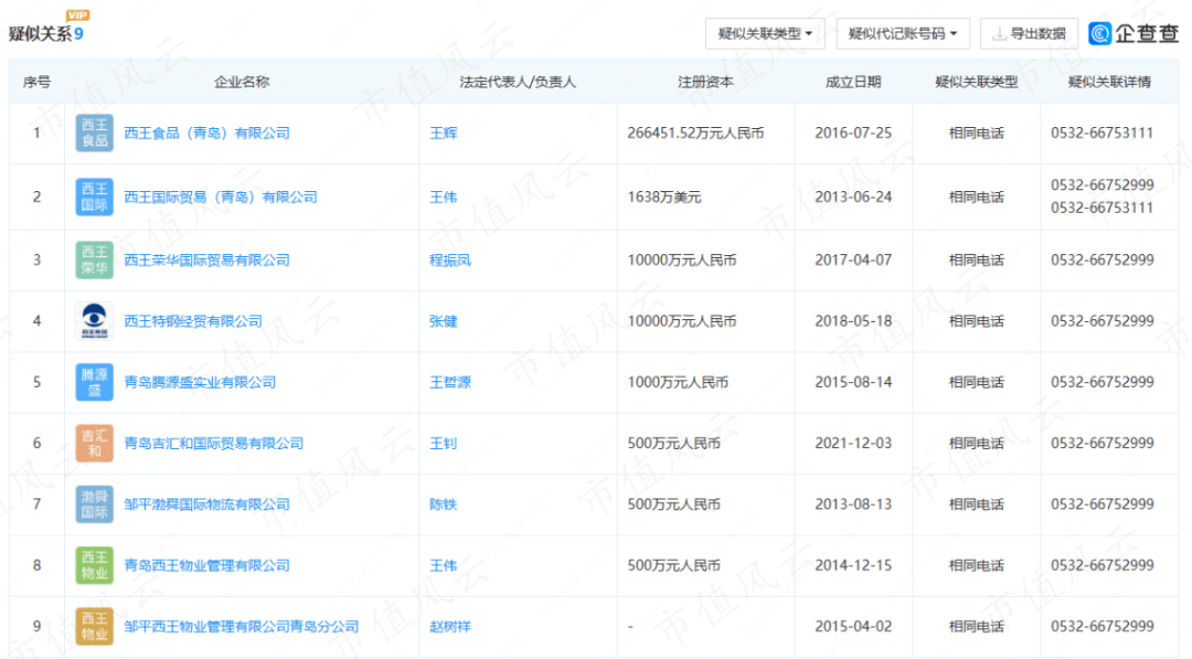
荣林盛嘉的电话号码也与多家西王系企业关联。

(来源:企查查)
预付款方面,除了荣林盛嘉的0.8亿,更有西王淀粉的1.9亿预付款。2021年公司总预付款金额高达3.5亿,这也导致当年经营性现金流为负。

(制图:市值风云APP)
公司表示2021年预付款上涨是因为原材料价格上涨因而与供应商签订锁价合同。但可比公司2021年预付款金额并未见明显上升。
2021年末,金龙鱼预付款同比下降16.4%,道道全同比下降28.6%,而公司则大幅上升181.6%。

(制图:市值风云APP)
如果说荣林盛嘉究竟是否属于关联方还有一定争议,那么西王淀粉的关联方身份可是公司自己说的。西王淀粉除了2021年为公司第二大供应商外,在2018-20年均为公司第一大供应商。
(来源:关于对深圳证券交易所关注函的回复公告)

(来源:关于深圳证券交易所2020年年报问询函的回复公告)
但在2018-21年的年报中,公司披露前五名供应商采购额中关联方采购额占年度采购总额比例均为0%。
这算什么?睁眼说瞎话?
(来源:2021年年报)
免责声明:本报告(文章)是基于上市公司的公众公司属性、以上市公司根据其法定义务公开披露的信息(包括但不限于临时公告、定期报告和官方互动平台等)为核心依据的独立第三方研究;市值风云力求报告(文章)所载内容及观点客观公正,但不保证其准确性、完整性、及时性等;本报告(文章)中的信息或所表述的意见不构成任何投资建议,市值风云不对因使用本报告所采取的任何行动承担任何责任。
以上内容为市值风云APP原创
未获授权 转载必究