
自卷入“破产重整”风波后,(02777.HK)分别于7月13日下午和晚间进行了两次回应。
钛媒体APP注意到,7月13日下午,针对被两家公司申请破产重整事项,方面回应称:“公司目前资产高于负债,不存在资不抵债情况,且经营正常,不具备破产原因。”
当天深夜,富力地产再于联交所发布澄清公告称,公司尚未收到与被指控的申请相关的任何法院文件;正就金额约2000万元的若干票据纠纷与申请人进行协商,并未达成和解协议;公司净资产为正值,不存在资不抵债的情况;且经营活动维持正常。

受此影响,公司股价迎来大跳水,7月14日港股开盘仅10分钟,富力地产股价便跌超7%,截至今天港股收盘,公司股价报收1.16港元,跌5.69%,当前公司总市值约43.53亿港元。

票据纠纷不断
7月12日,广州市广丰混凝土有限公司(以下简称“广丰混凝土”)和广东祥正商贸有限公司(以下简称“祥正商贸”)两家公司,同时向广东省广州市中级人民法院申请对进行破产清算。
据悉,及下属公司广州天力建筑工程有限公司(以下简称“天力建筑”)与广丰混凝土、祥正商贸存在票据纠纷,标的共约2000万元。虽然已多次表示公司不存在资不抵债,但似乎并不足以让申请人信服。

天眼查信息显示,今年年初,广丰混凝土、祥正商贸就曾以被申请人天力建筑不能清偿到期债务,并且资产不足以清偿全部债务为由,向法院申请对天力建筑进行破产清算。
不过在法院审查期间,广丰混凝土和祥正商贸分别于4月21日、 5月11日向法院提出撤回破产清算的申请。
本以为事件就此告一段落,但三个月不到,上述两家公司再次提出破产重整申请,而这次针对的对象直接是天力建筑背后的富力地产。
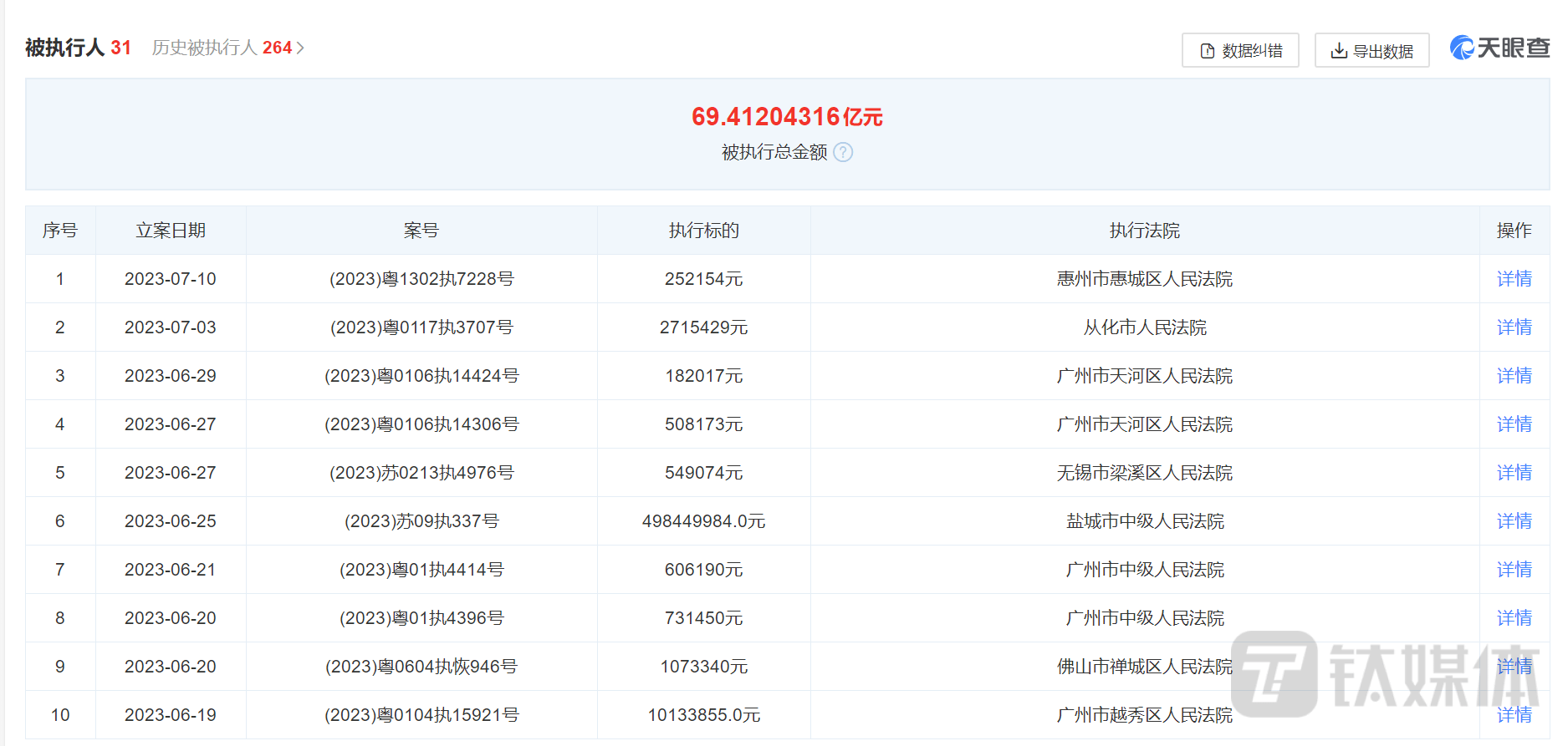
天眼查信息显示,富力地产早已官司缠身,因未按时履行法律义务而被法院强制执行的案件有31条,涉及被强制执行的金额约69.41亿元。同时待开庭的案件共有36条,其中不乏合同纠纷、债务纠纷、票据纠纷等多种案由。

公开信息显示,于1994年8月在广州成立,后于2005年赴港上市,是一家以房地产开发为主营业务,同时在酒店发展、商业运营、文体旅游、互联网产贸、医疗康养及设计建造等领域多元发展的综合性集团。
公司最初由张力、李思廉共同创立,曾与、、雅居乐集团、等合称为“华南五虎”。2007年,以161亿元的销售额排名行业第四,仅次于万科、绿地控股和中海地产,位居“华南五虎”之首。
2022年11月30日,创始人之一的张力因涉嫌一宗美国行贿案被当地警方控制,公司陷入水深火热之中,如今大半年时间过去,仅李思廉独挑大梁。
艰难求生
的转折点发生在2017年,当年公司以近190亿元的总价从万达地产手中收购了73家酒店资产,凭借手握89家酒店成为全球最大豪华酒店业主。
但高调加码酒店业务后,迎接的不是持续的高光,而是业绩的“一蹶不振”。据悉,购买酒店占用了公司大量的资金,但这些酒店的经营情况并不理想。2018年-2019年,酒店业务的营业额分别为70.86亿元、70.95亿元,增幅并不明显。
进入2019年之后,的经营情况每况愈下,最近两年更是陷入亏损状态。
年报数据显示,2019年-2022年,公司营收分别为908.14亿元、858.92亿元、762.3亿元、351.93亿元,同比增长18.16%、-5.42%、-11.25%、-53.83%;归母净利润分别96.72亿元、90.05亿元、-164.69亿元、-157.37亿元。

对于持续的亏损,公司将原因归咎于房地产行业处于下行周期、疫情导致经济放缓、进而导致销售下降。但事实上,早年间的大手笔买酒店就已经使公司负重前行了,同时多笔境外债务的到期也让“本不富裕”的更加雪上加霜。
为挽回局势,开始投身“卖卖卖”。2022年,先后出售位于北京、福州、镇江的3间酒店,所得款项总额约12.45亿元。
同时,公司也在出售海外资产,包括向一名开发合作伙伴出售一项英国发展项目的50%所有权股份,代价为26.6亿港元;出售位于澳洲布里斯班已竣工发展项目的剩余单位,并以9000万澳元出售作个性化房地产发展项目用途的地块。
据了解,2022年通过卖资产获得约49亿元的资金流入。
债务方面,去年7月,宣布,完成10笔美元债的整体展期,合计约49.43亿美元,还款期限全部延长3-4年。11月份,又宣布,已发行的全部境内债券共8笔获得展期,加权平均到期期限从4个月左右延长至3年以上,总额约135亿元。
今年4月,表示,公司目前拥有约104个开发项目,预计可售货值超过1250亿元。另外,公司仍持有相当规模且可自由支配的优质资产组合,并将继续与潜在买家及投资者接洽。
最新数据显示,今年1月-5月,总销售收入约105.6亿元,同比减少51.63%,销售面积约65.8万平方米,同比减少62.42%。销售情况仍待提升。
不仅于此,也在通过开源节流的方式控制成本。年报数据显示,2022年,拥有正式员工约27162人,较2021年的35207人减少22.85%;总员工成本约22.12亿元,较2021年的35.12亿元减少37.02%。(本文首发于钛媒体 APP,作者|陈伟纳)