中化岩土集团股份有限公司 关于向银行申请授信额度的公告
证券时报
2023-05-30 07:10:24
0

原标题:中化岩土集团股份有限公司 关于向银行申请授信额度的公告

本公司及董事会全体成员保证信息披露内容的真实、准确和完整,没有虚假记载、误导性陈述或重大遗漏。

中化岩土集团股份有限公司(以下简称“公司”)第四届董事会第二十九次临时会议于2023年5月29日审议通过了《关于向银行申请授信额度的议案》。根据公司生产经营和资金周转需要,公司拟向以下银行申请授信额度:

1.向中国建设银行股份有限公司北京大兴支行申请综合授信额度人民币13,000万元,授信期限为1年,具体授信方案以银行实际审批通过结果为准。

2.向中国银行北京首都机场支行申请授信总量不超过8,000万元人民币,授信期限为1年,具体授信方案以银行实际审批通过结果为准。

公司向上述银行申请的授信方案最终以银行实际审批通过结果为准,具体融资金额将视公司运营资金的实际需求确定。公司授权公司财务总监全权代表公司签署上述授信额度内的授信(包括但不限于授信、借款、保函、担保、抵押、融资、开户、销户等)有关的合同、协议、凭证等法律文件,由此产生的法律、经济责任全部由本公司承担。

特此公告。

中化岩土集团股份有限公司

董事会

2023年05月29日

证券代码:002542 证券简称:中化岩土 公告编号:2023-050

中化岩土集团股份有限公司

关于调整公司组织架构的公告

本公司及董事会全体成员保证信息披露内容的真实、准确和完整,没有虚假记载、误导性陈述或重大遗漏。

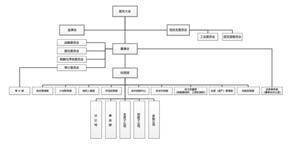
中化岩土集团股份有限公司(以下简称“公司”)于2023年5月29日召开第四届董事会第二十九次临时会议,会议审议通过了《关于调整公司组织架构的议案》。为进一步明确公司部门职能,提高工作效率,结合公司战略发展规划,公司对组织架构进行调整。本次组织架构调整是对公司内部管理机构的调整,不会对公司生产经营活动产生重大影响。调整后的公司组织架构图详见附件。

特此公告。

中化岩土集团股份有限公司

董事会

2023年05月29日

附件:

证券代码:002542 证券简称:中化岩土 公告编号:2023-049

中化岩土集团股份有限公司

第四届董事会第二十九次

临时会议决议公告

本公司及董事会全体成员保证信息披露内容的真实、准确和完整,没有虚假记载、误导性陈述或重大遗漏。

中化岩土集团股份有限公司(以下简称“公司”)董事会于2023年5月25日以电话通知、电子邮件、现场通知等方式发出了召开公司第四届董事会第二十九次临时会议的通知,于2023年5月29日在北京市大兴区科苑路13号公司会议室以现场与通讯同时进行的方式召开。会议应出席董事9人,实际出席董事9人。会议由公司董事长刘明俊先生召集并主持,公司监事、高级管理人员列席了会议。

本次会议的召集、召开和表决程序符合《中华人民共和国公司法》和《中化岩土集团股份有限公司章程》的有关规定,会议有效。本次会议审议通过如下议案:

一、关于调整公司组织架构的议案

表决结果:9票同意、0票弃权、0票反对。

为进一步明确公司部门职能,提高工作效率,结合公司战略发展规划,同意公司对组织架构进行调整。本次组织架构调整是对公司内部管理机构的调整,不会对公司生产经营活动产生重大影响。

《关于调整公司组织架构的公告》发布于《证券时报》和巨潮资讯网。

二、关于向银行申请授信额度的议案

表决结果:9票同意、0票弃权、0票反对。

根据公司生产经营和资金周转需要,同意公司向以下银行申请授信额度:

1.向中国建设银行股份有限公司北京大兴支行申请综合授信额度人民币13,000万元,授信期限为1年,具体授信方案以银行实际审批通过结果为准。

2.向中国银行北京首都机场支行申请授信总量不超过8,000万元人民币,授信期限为1年,具体授信方案以银行实际审批通过结果为准。

《关于向银行申请授信额度的公告》发布于《证券时报》和巨潮资讯网。

特此公告。

中化岩土集团股份有限公司

董事会

2023年05月29日

本版导读

相关内容

热门资讯

希荻微的芯片突围战:“外延扩张... 来源:时代周报-时代在线 来源|时代商业研究院 作者|孙华秋 编辑|韩迅 在半导体国产化的关键赛道...
抖音长图文功能上线:最多可发布... 用户浏览时,长图文会以类似视频的形式出现在推荐流中,包含背景图、自动滚动的文字及背景音乐,点击可进入...
城市24小时 | 最“缺电”的... 加快构建新型能源体系的紧迫感 我国单机容量最大抽水蓄能电站首台机组并网发电 12月25日,三峡集团浙...
市场监管总局开展规范光伏行业价... 上证报中国证券网讯 据市场监管总局12月26日消息,12月26日,市场监管总局在安徽合肥对光伏行业开...
沪深两所宣布2026年推出降费... 北京商报讯(记者 李海媛)12月26日,上交所发布《关于暂免收取部分2026年度费用的通知》,推出2...
环球园艺启动港交所IPO:全球... 据港交所官方披露,环球园艺有限公司(以下简称“环球园艺”)已于2025年12月19日向港交所递交上市...
【前瞻分析】2025年中国防火... 行业主要上市公司:深信服(300454.SZ);天融信(002212.SZ);山石网科(688030...
白银现货大涨创新高,LOF基金... 红星资本局12月26日消息,白银连日大涨,A股市场唯一一只“纯白银”基金近日备受关注。 继昨日发布停...
贾国龙,被梦想反咬了一口 “我们肯定是在止血,我们还很虚弱。” 当被问及西贝眼下的状态时,西贝一位运营负责人停顿了一下,说。 ...
1美元=6.99人民币!人民币... 最近,离岸人民币对美元汇率一度升破7.0元关口,创15个月以来新高。尽管后来人民币对美元汇率又跌回“...
没有西安公积金,可以在西安贷款... 宝子们好呀 最近有小伙伴问小编 在外地缴纳的公积金 可以在西安贷款买房吗? 今天小编就来为大家解答一...
越来越多美企拿AI当裁员借口?... 财联社12月26日讯(编辑 刘蕊)过去,美国企业通常会有两种裁员情况:一种是投资者欢呼雀跃的裁员,另...
酒店RWA+NFG首发2000... 酒店RWA解决方案:私域电商系统商业逻辑与应用场景 核心思路:瞄准传统酒店重资产痛点——投资大、资金...
官宣!这家老牌公募基金迎新总经... 老牌公募基金官宣新任总经理! 12月26日,诺德基金发布《高级管理人员变更公告》,任命刘翔为诺德基金...
康瑞新材IPO:业绩腰斩、套现... 作为深耕精密金属材料领域24年的老牌企业,江苏康瑞新材料科技股份有限公司(下称“康瑞新材”)的IPO...
中国人民银行发布《银行间外汇市... 记者12月26日从中国人民银行获悉,为规范和发展外汇市场,扩大高水平对外开放,保障各方合法权益,防范...
TRAE发布首份年度产品报告:... 12 月 26 日,字节跳动旗下 AI 编程工具 TRAE 发布 2025 年度产品报告。 2025...
供需博弈加剧!碳酸锂期货突破1... 华夏时报记者 叶青 北京报道 “近期碳酸锂期货持续上涨,这与短期内供给端干扰因素驱动有关。12月中旬...
当阿布扎比遇见未来金融:孙宇晨... 12月的阿尔玛利亚岛,海风轻拂着The GrandSteps活动中心的阶梯。这里没有传统的银行家低语...
一周热榜精选:贵金属全面失序狂... 贵金属持续刷新纪录,白银LOF情绪急转!美国GDP超预期却隐忧浮现,美军频繁出手多线施压。日本预算点...