
中证智能财讯 上海电影(601595)10月31日披露2023年三季报。2023年前三季度,公司实现营业总收入6.29亿元,同比增长88.24%;归母净利润1.25亿元,同比扭亏;扣非净利润6615.26万元,同比扭亏;经营活动产生的现金流量净额为9430.95万元,同比增长434.44%;报告期内,上海电影基本每股收益为0.28元,加权平均净资产收益率为7.65%。
报告期内,公司合计非经常性损益为5836.85万元,其中持有金融资产负债公允价值变动损益以及相关投资收益为2953.79万元,少数股东权益影响额(税后)为-1131.58万元。


公告显示,公司前三季度营业收入变化主要由于报告期内控股影院营业收入提升,期间得益于市场恢复,电影票房表现突出。
以10月30日收盘价计算,上海电影目前市盈率(TTM)约为-148.05倍,市净率(LF)约为4.97倍,市销率(TTM)约为12.34倍。

公司近年市盈率(TTM)、市净率(LF)、市销率(TTM)历史分位图如下所示:



根据三季报,公司第三季度实现营业总收入2.57亿元,同比增长132.10%,环比增长32.43%;归母净利润5868.08万元,同比增长679.42%,环比增长96.49%;扣非净利润4285.02万元,同比增长2008.95%,环比增长13965.71%。

资料显示,公司的主营业务为电影发行及放映业务,具体包括电影发行和版权销售、院线经营、影院投资、开发和经营、广告营销、电子票务、技术服务等。
2023年前三季度,公司毛利率为25.52%,同比上升24.18个百分点;净利率为22.35%,较上年同期上升70.44个百分点。从单季度指标来看,2023年第三季度公司毛利率为26.85%,同比上升19.37个百分点,环比上升1.40个百分点;净利率为25.76%,较上年同期上升17.88个百分点,较上一季度上升6.88个百分点。

数据显示,2023年前三季度公司加权平均净资产收益率为7.65%,较上年同期增长16.38个百分点;公司2023年前三季度投入资本回报率为5.82%,较上年同期增长10.96个百分点。

2023年前三季度,公司经营活动现金流净额为9430.95万元,同比增长434.44%,主要系报告期内控股影院营业收入提升,且加强应收款项目常管理所致;筹资活动现金流净额-1.85亿元,同比减少1.78亿元;投资活动现金流净额-3.46亿元,上年同期为1.28亿元。
进一步统计发现,2023年前三季度公司自由现金流为-2.30亿元,上年同期为-0.17亿元。

2023年前三季度,公司营业收入现金比为281.17%,净现比为75.74%。

2023年前三季度,公司期间费用为7267.36万元,较上年同期增加341.64万元;但期间费用率为11.55%,较上年同期下降9.16个百分点。其中,销售费用同比增长3.13%,管理费用同比增长21.77%,财务费用同比下降73.6%。

资产重大变化方面,截至2023年三季度末,公司货币资金较上年末减少38.90%,占公司总资产比重下降17.20个百分点;交易性金融资产较上年末增加328.63%,占公司总资产比重上升6.48个百分点;固定资产较上年末增加277.99%,占公司总资产比重上升5.35个百分点;长期股权投资较上年末增加122.91%,占公司总资产比重上升5.07个百分点。

负债重大变化方面,截至2023年三季度末,公司一年内到期的非流动负债较上年末减少44.61%,占公司总资产比重下降2.51个百分点;租赁负债较上年末减少9.16%,占公司总资产比重下降1.81个百分点;应付账款较上年末增加23.87%,占公司总资产比重上升1.50个百分点;其他应付款(含利息和股利)较上年末增加38.13%,占公司总资产比重上升1.01个百分点。

在偿债能力方面,公司2023年三季度末资产负债率为40.21%,相比上年末下降1.53个百分点;有息资产负债率为3.45%,相比上年末下降2.51个百分点。

2023年前三季度,公司流动比率为2.13,速动比率为2.11。

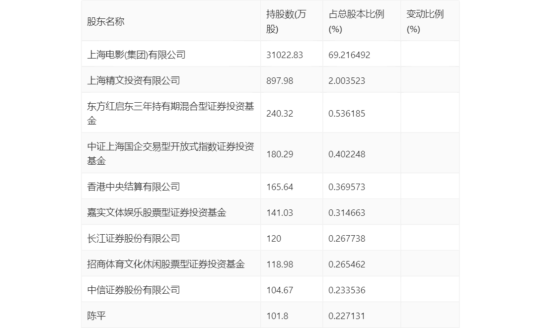
三季报显示,2023年三季度末公司十大流通股东中,新进股东为中证上海国企交易型开放式指数证券投资基金、长江证券股份有限公司、中信证券股份有限公司、陈平,取代了上半年末的李宁、科威特政府投资局-自有资金、中银主题策略混合型证券投资基金、中银收益混合型证券投资基金。在具体持股比例上,东方红启东三年持有期混合型证券投资基金、招商体育文化休闲股票型证券投资基金持股有所上升,香港中央结算有限公司持股有所下降。

筹码集中度方面,截至2023年三季度末,公司股东总户数为4.82万户,较上半年末增长了492户,增幅1.03%;户均持股市值由上半年末的26.52万元下降至20.20万元,降幅为23.83%。

指标注解:
市盈率
=总市值/净利润。当公司亏损时市盈率为负,此时用市盈率估值没有实际意义,往往用市净率或市销率做参考。
市净率
=总市值/净资产。市净率估值法多用于盈利波动较大而净资产相对稳定的公司。
市销率
=总市值/营业收入。市销率估值法通常用于亏损或微利的成长型公司。
文中市盈率和市销率采用TTM方式,即以截至最近一期财报(含预报)12个月的数据计算。市净率采用LF方式,即以最近一期财报数据计算。
市盈率为负时,不显示当期分位数,会导致折线图中断。