
中证智能财讯 武商集团(000501)10月31日披露2023年三季报。2023年前三季度,公司实现营业总收入54.38亿元,同比增长11.86%;归母净利润1.19亿元,同比下降64.28%;扣非净利润9617.96万元,同比下降69.20%;经营活动产生的现金流量净额为16.93亿元,同比增长109.94%;报告期内,武商集团基本每股收益为0.15元,加权平均净资产收益率为1.09%。
公告显示,归母净利润变化主要由于利润总额同比减少。
以10月30日收盘价计算,武商集团目前市盈率(TTM)约为72.91倍,市净率(LF)约为0.61倍,市销率(TTM)约为0.96倍。

公司近年市盈率(TTM)、市净率(LF)、市销率(TTM)历史分位图如下所示:



根据三季报,公司第三季度实现营业总收入17.13亿元,同比增长15.11%,环比增长2.58%;归母净利润146.41万元,同比下降97.70%,环比增长109.88%;扣非净利润-1293.23万元,同比下降127.74%,环比增长34.88%。

资料显示,公司主要从事购物中心及超市业态的商品销售业务。
2023年前三季度,公司毛利率为46.77%,同比上升2.54个百分点;净利率为2.18%,较上年同期下降4.64个百分点。从单季度指标来看,2023年第三季度公司毛利率为46.61%,同比上升2.80个百分点,环比下降1.10个百分点;净利率为0.09%,较上年同期下降4.19个百分点,较上一季度上升0.98个百分点。

数据显示,2023年前三季度公司加权平均净资产收益率为1.09%,较上年同期下降1.98个百分点;公司2023年前三季度投入资本回报率为1.29%,较上年同期下降0.65个百分点。

2023年前三季度,公司经营活动现金流净额为16.93亿元,同比增长109.94%,主要系销售商品、提供劳务收到的现金增加所致;筹资活动现金流净额7.04亿元,同比减少11.19亿元,主要系偿还债务支付的现金增加所致;投资活动现金流净额-12.80亿元,上年同期为-18.36亿元,主要系购建固定资产、无形资产和其他长期资产支付的现金减少所致。
进一步统计发现,2023年前三季度公司自由现金流为-8.11亿元,上年同期为-15.73亿元。

2023年前三季度,公司营业收入现金比为259.17%,净现比为1428.53%。

2023年前三季度,公司期间费用为22.00亿元,较上年同期增加6.36亿元;期间费用率为40.45%,较上年同期上升8.29个百分点。其中,销售费用同比增长35.67%,管理费用同比下降2.72%,财务费用同比增长235.73%。
资料显示,销售费用的变动主要因为武商梦时代、南昌武商MALL在建项目完工转入固定资产,折旧、摊销费用增加;财务费用的变动主要因为利息费用增加。

资产重大变化方面,截至2023年三季度末,公司在建工程较上年末减少73.74%,占公司总资产比重下降4.49个百分点;固定资产较上年末增加12.41%,占公司总资产比重上升3.38个百分点;货币资金较上年末增加49.09%,占公司总资产比重上升3.17个百分点;无形资产较上年末减少1.89%,占公司总资产比重下降1.51个百分点。

负债重大变化方面,截至2023年三季度末,公司短期借款较上年末增加38.60%,占公司总资产比重上升1.77个百分点,主要系银行贷款增加;应付债券较上年末增加67.86%,占公司总资产比重上升1.10个百分点;长期借款较上年末增加6.07%,占公司总资产比重上升0.23个百分点;合同负债较上年末增加7.38%,占公司总资产比重上升0.35个百分点。

在偿债能力方面,公司2023年三季度末资产负债率为66.06%,相比上年末上升1.23个百分点;有息资产负债率为31.27%,相比上年末上升2.25个百分点。

2023年前三季度,公司流动比率为0.45,速动比率为0.33。

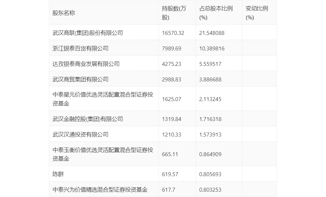
三季报显示,2023年三季度末公司十大流通股东中,新进股东为陈群、中泰兴为价值精选混合型证券投资基金,取代了上半年末的君厚知存价值共享私募证券投资基金、香港中央结算有限公司。在具体持股比例上,中泰玉衡价值优选灵活配置混合型证券投资基金持股有所下降。

筹码集中度方面,截至2023年三季度末,公司股东总户数为3.52万户,较上半年末增长了499户,增幅1.44%;户均持股市值由上半年末的21.95万元下降至20.21万元,降幅为7.93%。

指标注解:
市盈率
=总市值/净利润。当公司亏损时市盈率为负,此时用市盈率估值没有实际意义,往往用市净率或市销率做参考。
市净率
=总市值/净资产。市净率估值法多用于盈利波动较大而净资产相对稳定的公司。
市销率
=总市值/营业收入。市销率估值法通常用于亏损或微利的成长型公司。
文中市盈率和市销率采用TTM方式,即以截至最近一期财报(含预报)12个月的数据计算。市净率采用LF方式,即以最近一期财报数据计算。
市盈率为负时,不显示当期分位数,会导致折线图中断。