
中证智能财讯 紫金银行(601860)10月31日披露2023年三季报。2023年前三季度,公司实现营业总收入33.90亿元,同比增长0.43%;归母净利润13.49亿元,同比增长5.80%;扣非净利润13.26亿元,同比增长5.44%;经营活动产生的现金流量净额为59.36亿元,同比增长46.22%;报告期内,紫金银行基本每股收益为0.37元,加权平均净资产收益率为7.54%。

以10月30日收盘价计算,紫金银行目前市盈率(TTM)约为5.66倍,市净率(LF)约为0.52倍,市销率(TTM)约为2.1倍。

公司近年市盈率(TTM)、市净率(LF)、市销率(TTM)历史分位图如下所示:



根据三季报,公司第三季度实现营业总收入11.87亿元,同比下降1.72%,环比增长6.76%;归母净利润4.78亿元,同比增长5.97%,环比下降1.82%;扣非净利润4.72亿元,同比增长6.90%,环比下降0.30%。

资料显示,公司经营范围包括:吸收公众存款;发放短期、中期和长期贷款;办理国内结算,办理票据承兑与贴现,代理发行、代理兑付、承销政府债券,买卖政府债券和金融债券;从事同业拆借;从事银行卡业务,代理收付款项及代理保险业务,提供保管箱服务;外汇存款、外汇贷款,外汇汇款,外币兑换,国际结算,外汇票据的承兑和贴现,外汇担保,外汇同业拆借,资信调查、资信和见证业务,结售汇业务,基金销售业务,经银行业监督管理机构批准的其他业务。(依法须经批准的项目,经相关部门批准后方可开展经营活动)
盈利能力方面, 2023年前三季度公司加权平均净资产收益率为7.54%,同比下降0.2个百分点。

2023年前三季度,公司经营活动现金流净额为59.36亿元,同比增长46.22%;筹资活动现金流净额-6.75亿元,同比增加48.42亿元;投资活动现金流净额-84.57亿元,上年同期为41.18亿元。

资产重大变化方面,截至2023年三季度末,公司债权投资合计较上年末增加188.68%,占公司总资产比重上升3.03个百分点;其他债权投资合计较上年末增加2.23%,占公司总资产比重下降1.14个百分点;货币资金较上年末减少4.76%,占公司总资产比重下降0.71个百分点;买入返售金融资产较上年末减少28.07%,占公司总资产比重下降0.61个百分点。

负债重大变化方面,截至2023年三季度末,公司吸收存款及同业存款较上年末增加11.83%,占公司总资产比重上升1.68个百分点;卖出回购金融资产款较上年末减少81.91%,占公司总资产比重下降1.64个百分点;向中央银行借款较上年末增加37.68%,占公司总资产比重上升0.53个百分点;拆入资金较上年末增加12.92%,占公司总资产比重上升0.07个百分点。

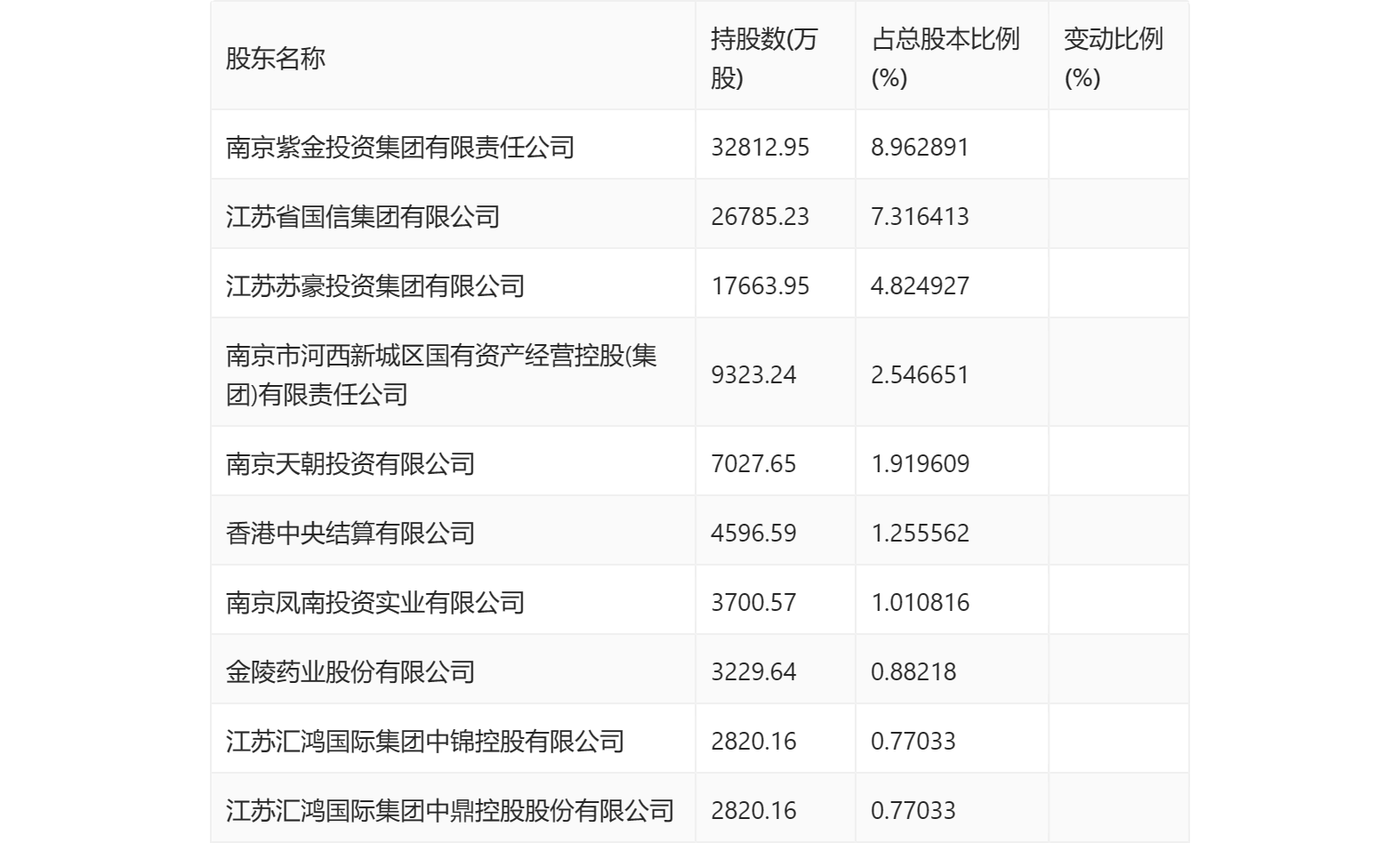
三季报显示,2023年三季度末公司十大流通股东中,新进股东为香港中央结算有限公司,取代了上半年末的南京江北新区产业投资集团有限公司。在具体持股比例上,南京紫金投资集团有限责任公司、江苏省国信集团有限公司、江苏苏豪投资集团有限公司、南京市河西新城区国有资产经营控股(集团)有限责任公司、南京天朝投资有限公司、南京凤南投资实业有限公司、金陵药业股份有限公司持股有所下降。

筹码集中度方面,截至2023年三季度末,公司股东总户数为7.47万户,较上半年末增长了4421户,增幅6.29%;户均持股市值由上半年末的13.07万元上升至13.13万元,增幅为0.46%。

指标注解:
市盈率
=总市值/净利润。当公司亏损时市盈率为负,此时用市盈率估值没有实际意义,往往用市净率或市销率做参考。
市净率
=总市值/净资产。市净率估值法多用于盈利波动较大而净资产相对稳定的公司。
市销率
=总市值/营业收入。市销率估值法通常用于亏损或微利的成长型公司。
文中市盈率和市销率采用TTM方式,即以截至最近一期财报(含预报)12个月的数据计算。市净率采用LF方式,即以最近一期财报数据计算。
市盈率为负时,不显示当期分位数,会导致折线图中断。