
中证智能财讯 嘉友国际(603871)10月27日披露2023年三季报。2023年前三季度,公司实现营业总收入51.01亿元,同比增长33.95%;归母净利润7.55亿元,同比增长61.61%;扣非净利润7.44亿元,同比增长63.47%;经营活动产生的现金流量净额为16.70亿元,同比增长245.85%;报告期内,嘉友国际基本每股收益为1.08元,加权平均净资产收益率为17.07%。


公告显示,公司前三季度营业收入变化主要由于业务规模增长导致收入增加。
以10月26日收盘价计算,嘉友国际目前市盈率(TTM)约为11.45倍,市净率(LF)约为2.4倍,市销率(TTM)约为1.81倍。

公司近年市盈率(TTM)、市净率(LF)、市销率(TTM)历史分位图如下所示:



根据三季报,公司第三季度实现营业总收入22.93亿元,同比增长13.90%,环比增长87.31%;归母净利润2.51亿元,同比增长44.29%,环比下降16.74%;扣非净利润2.5亿元,同比增长45.21%,环比下降14.45%。

资料显示,公司业务包括跨境多式联运综合物流服务、供应链贸易、陆港运营。
2023年前三季度,公司毛利率为18.77%,同比上升2.06个百分点;净利率为14.82%,较上年同期上升2.56个百分点。从单季度指标来看,2023年第三季度公司毛利率为14.79%,同比上升2.19个百分点,环比下降13.96个百分点;净利率为10.98%,较上年同期上升2.32个百分点,较上一季度下降13.67个百分点。

数据显示,2023年前三季度公司加权平均净资产收益率为17.07%,较上年同期增长2.70个百分点;公司2023年前三季度投入资本回报率为16.66%,较上年同期增长4.83个百分点。

2023年前三季度,公司经营活动现金流净额为16.70亿元,同比增长245.85%,主要系业务回款增加所致;筹资活动现金流净额-2.58亿元,同比减少7939.93万元;投资活动现金流净额-1.28亿元,上年同期为-3.29亿元。
进一步统计发现,2023年前三季度公司自由现金流为16.60亿元,相比上年同期增长3439.27%。

2023年前三季度,公司营业收入现金比为115.04%,净现比为221.25%。

2023年前三季度,公司期间费用为8765.16万元,较上年同期增加3853.21万元;期间费用率为1.72%,较上年同期上升0.43个百分点。其中,销售费用同比增长87.7%,管理费用同比增长41.76%,研发费用同比增长21.78%,财务费用由去年同期的-2024.41万元变为-1088.13万元。

资产重大变化方面,截至2023年三季度末,公司货币资金较上年末增加136.31%,占公司总资产比重上升17.48个百分点;存货较上年末减少44.78%,占公司总资产比重下降7.93个百分点;预付款项较上年末减少24.23%,占公司总资产比重下降3.92个百分点;固定资产较上年末减少2.41%,占公司总资产比重下降2.43个百分点。

负债重大变化方面,截至2023年三季度末,公司应付账款较上年末增加65.94%,占公司总资产比重上升4.43个百分点;其他应付款(含利息和股利)较上年末增加106.23%,占公司总资产比重上升0.62个百分点;合同负债较上年末增加14.89%,占公司总资产比重下降0.19个百分点;应交税费较上年末增加46.72%,占公司总资产比重上升0.38个百分点。

在偿债能力方面,公司2023年三季度末资产负债率为26.38%,相比上年末上升5.29个百分点;有息资产负债率为0.54%,相比上年末上升0.50个百分点。

2023年前三季度,公司流动比率为2.13,速动比率为1.86。

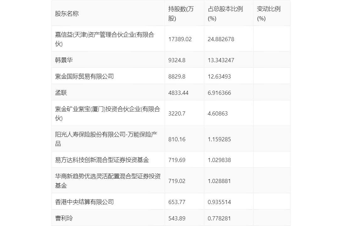
三季报显示,2023年三季度末公司十大流通股东中,新进股东为易方达科技创新混合型证券投资基金,取代了上半年末的交银施罗德新生活力灵活配置混合型证券投资基金。在具体持股比例上,华商新趋势优选灵活配置混合型证券投资基金、香港中央结算有限公司持股有所上升,曹利玲持股有所下降。

筹码集中度方面,截至2023年三季度末,公司股东总户数为1.17万户,较上半年末下降了2556户,降幅17.98%;户均持股市值由上半年末的77.25万元上升至107.50万元,增幅为39.16%。

指标注解:
市盈率
=总市值/净利润。当公司亏损时市盈率为负,此时用市盈率估值没有实际意义,往往用市净率或市销率做参考。
市净率
=总市值/净资产。市净率估值法多用于盈利波动较大而净资产相对稳定的公司。
市销率
=总市值/营业收入。市销率估值法通常用于亏损或微利的成长型公司。
文中市盈率和市销率采用TTM方式,即以截至最近一期财报(含预报)12个月的数据计算。市净率采用LF方式,即以最近一期财报数据计算。
市盈率为负时,不显示当期分位数,会导致折线图中断。