
中证智能财讯 龙江交通(601188)10月27日披露2023年三季报。2023年前三季度,公司实现营业总收入4.79亿元,同比增长38.07%;归母净利润1.81亿元,同比增长13.20%;扣非净利润1.91亿元,同比增长16.96%;经营活动产生的现金流量净额为2909.19万元,同比下降68.43%;报告期内,龙江交通基本每股收益为0.1379元,加权平均净资产收益率为3.95%。


公告显示,公司前三季度营业收入变化主要由于一是通行费收入同比增加7432.1万元,增幅36.11%,二是信通地产收入同比增加1771.16万元,增幅34.01%,三是龙运现代收入同比增加1404.82万元,增幅41.41%。
以10月26日收盘价计算,龙江交通目前市盈率(TTM)约为40.44倍,市净率(LF)约为1.27倍,市销率(TTM)约为10.3倍。

公司近年市盈率(TTM)、市净率(LF)、市销率(TTM)历史分位图如下所示:



根据三季报,公司第三季度实现营业总收入1.97亿元,同比增长28.61%,环比增长26.73%;归母净利润6343.67万元,同比增长6.94%,环比增长14.84%;扣非净利润6552.67万元,同比增长1.23%,环比增长16.23%。

资料显示,公司主营业务为高速公路收费管理。公司拥有哈尔滨到大庆段高速公路特许经营权,公司以为过往车辆提供通行服务并按照政府收费标准收取车辆通行费的方式获得经营收益。通行费收入是公司收入的核心来源。
2023年前三季度,公司毛利率为47.10%,同比上升2.32个百分点;净利率为39.14%,较上年同期下降8.22个百分点。从单季度指标来看,2023年第三季度公司毛利率为43.69%,同比上升2.90个百分点,环比下降2.92个百分点;净利率为31.11%,较上年同期下降8.99个百分点,较上一季度下降8.63个百分点。

数据显示,2023年前三季度公司加权平均净资产收益率为3.95%,较上年同期增长0.45个百分点;公司2023年前三季度投入资本回报率为3.79%,较上年同期增长0.51个百分点。

2023年前三季度,公司经营活动现金流净额为2909.19万元,同比下降68.43%,主要系子公司龙翼投资年初开始囤货,经营活动现金流出增幅大于流入增幅所致;筹资活动现金流净额-7441.18万元,同比增加5207.51万元;投资活动现金流净额9614.01万元,上年同期为-2.79亿元。
进一步统计发现,2023年前三季度公司自由现金流为7225.17万元,上年同期为-22195.40万元。

2023年前三季度,公司营业收入现金比为118.36%,净现比为16.03%。

2023年前三季度,公司期间费用为5357.62万元,较上年同期增加2167.75万元;期间费用率为11.18%,较上年同期上升1.99个百分点。其中,销售费用同比增长5.09%,管理费用同比增长43.74%,研发费用为129.49万元,财务费用由去年同期的-1087.98万元变为-762.75万元。

资产重大变化方面,截至2023年三季度末,公司存货较上年末增加70.32%,占公司总资产比重上升5.14个百分点;预付款项较上年末减少78.72%,占公司总资产比重下降3.44个百分点;其他流动资产较上年末减少7.41%,占公司总资产比重下降1.58个百分点;固定资产较上年末减少5.99%,占公司总资产比重下降1.49个百分点。

负债重大变化方面,截至2023年三季度末,公司其他应付款(含利息和股利)较上年末减少7.38%,占公司总资产比重下降0.35个百分点;合同负债较上年末减少26.49%,占公司总资产比重下降0.17个百分点;应付账款较上年末减少16.05%,占公司总资产比重下降0.15个百分点;应交税费较上年末增加39.44%,占公司总资产比重上升0.09个百分点。

在偿债能力方面,公司2023年三季度末资产负债率为9.05%,相比上年末下降0.65个百分点;有息资产负债率为0.02%,相比上年末基本持平。

2023年前三季度,公司流动比率为5.47,速动比率为4.04。

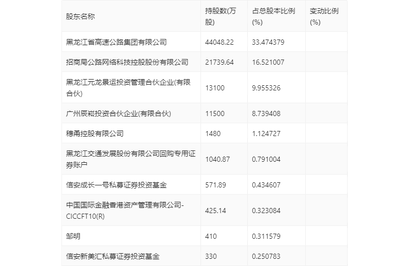
三季报显示,2023年三季度末公司十大流通股东中,新进股东为穗甬控股有限公司、黑龙江交通发展股份有限公司回购专用证券账户、中国国际金融香港资产管理有限公司-CICCFT10(R),取代了上半年末的山西证券股份有限公司约定购回式证券交易专用证券账户、广发证券股份有限公司、马琳琳。在具体持股比例上,信安成长一号私募证券投资基金、邹明、信安新美汇私募证券投资基金持股有所下降。

筹码集中度方面,截至2023年三季度末,公司股东总户数为5.52万户,较上半年末增长了1.66万户,增幅42.89%;户均持股市值由上半年末的11.44万元下降至10.29万元,降幅为10.05%。

指标注解:
市盈率
=总市值/净利润。当公司亏损时市盈率为负,此时用市盈率估值没有实际意义,往往用市净率或市销率做参考。
市净率
=总市值/净资产。市净率估值法多用于盈利波动较大而净资产相对稳定的公司。
市销率
=总市值/营业收入。市销率估值法通常用于亏损或微利的成长型公司。
文中市盈率和市销率采用TTM方式,即以截至最近一期财报(含预报)12个月的数据计算。市净率采用LF方式,即以最近一期财报数据计算。
市盈率为负时,不显示当期分位数,会导致折线图中断。