
中证智能财讯 中科创达(300496)10月21日披露2023年三季报。2023年前三季度,公司实现营业总收入38.76亿元,同比增长0.57%;归母净利润6.06亿元,同比下降5.18%;扣非净利润5.28亿元,同比下降12.65%;经营活动产生的现金流量净额为5.45亿元,同比增长274.27%;报告期内,中科创达基本每股收益为1.323元,加权平均净资产收益率为6.50%。

以10月20日收盘价计算,中科创达目前市盈率(TTM)约为42.24倍,市净率(LF)约为3.24倍,市销率(TTM)约为5.68倍。

公司近年市盈率(TTM)、市净率(LF)、市销率(TTM)历史分位图如下所示:



根据三季报,公司第三季度实现营业总收入13.92亿元,同比增长1.03%,环比增长5.53%;归母净利润2.18亿元,同比下降11.51%,环比下降0.71%;扣非净利润1.72亿元,同比下降28.84%,环比下降12.93%。

2023年前三季度,公司毛利率为40.76%,同比下降0.27个百分点;净利率为13.21%,较上年同期下降2.34个百分点。从单季度指标来看,2023年第三季度公司毛利率为39.81%,同比上升3.06个百分点,环比下降1.90个百分点;净利率为12.82%,较上年同期下降3.98个百分点,较上一季度上升0.17个百分点。

数据显示,2023年前三季度公司加权平均净资产收益率为6.50%,较上年同期下降5.28个百分点;公司2023年前三季度投入资本回报率为4.79%,较上年同期下降2.70个百分点。

2023年前三季度,公司经营活动现金流净额为5.45亿元,同比增长274.27%,主要系报告期公司业务规模增长,经营活动现金流入增长大于流出所致;筹资活动现金流净额-1.09亿元,同比减少30.99亿元,主要系上期收到股权融资款所致;投资活动现金流净额-3.31亿元,上年同期为-3.49亿元。
进一步统计发现,2023年前三季度公司自由现金流为-1.33亿元,上年同期为-4.96亿元。

2023年前三季度,公司营业收入现金比为106.62%,净现比为89.94%。

营运能力方面,2023年前三季度,公司公司总资产周转率为0.35次,上年同期为0.43次(2022年前三季度行业平均值为0.30次,公司位居同行业35/131);公司应收账款周转率、存货周转率分别为2.08次、2.52次。

2023年前三季度,公司期间费用为11.49亿元,较上年同期增加1.36亿元;期间费用率为29.64%,较上年同期上升3.37个百分点。其中,销售费用同比增长12.6%,管理费用同比增长0.36%,研发费用同比增长30.5%,财务费用由去年同期的-54.93万元变为-4569.20万元。
资料显示,财务费用的变动主要因为报告期利息收入增加;研发费用的变动主要因为报告期内公司在大模型、自动驾驶、机器人方面的研发投入增加。

资产重大变化方面,截至2023年三季度末,公司无形资产较上年末增加73.84%,占公司总资产比重上升3.56个百分点;开发支出较上年末减少56.65%,占公司总资产比重下降1.72个百分点;其他权益工具投资合计较上年末减少12.69%,占公司总资产比重下降1.44个百分点;货币资金较上年末增加2.25%,占公司总资产比重下降1.20个百分点。

负债重大变化方面,截至2023年三季度末,公司合同负债较上年末增加91.99%,占公司总资产比重上升2.64个百分点,主要系报告期收到客户款项增加;应付职工薪酬较上年末减少29.90%,占公司总资产比重下降0.85个百分点;递延所得税负债较上年末减少34.78%,占公司总资产比重下降0.31个百分点;其他流动负债较上年末减少39.11%,占公司总资产比重下降0.23个百分点。

在偿债能力方面,公司2023年三季度末资产负债率为13.59%,相比上年末上升0.43个百分点;有息资产负债率为0.50%,相比上年末下降0.10个百分点。

2023年前三季度,公司流动比率为5.76,速动比率为5.05。

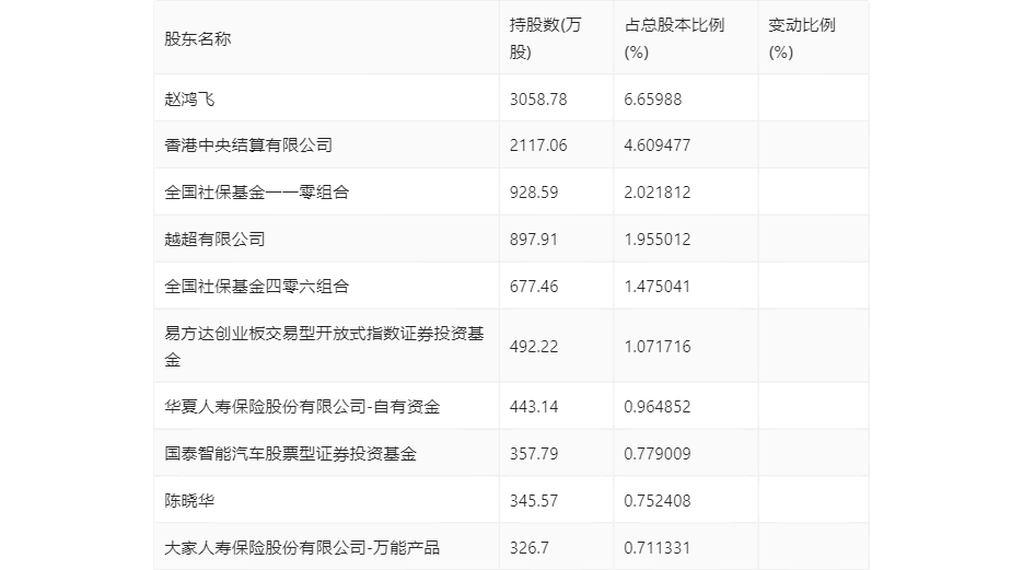
三季报显示,2023年三季度末公司十大流通股东中,新进股东为大家人寿保险股份有限公司-万能产品,取代了上半年末的嘉实新兴产业股票型证券投资基金。在具体持股比例上,易方达创业板交易型开放式指数证券投资基金、华夏人寿保险股份有限公司-自有资金持股有所上升,赵鸿飞、香港中央结算有限公司、全国社保基金一一零组合、越超有限公司、全国社保基金四零六组合、国泰智能汽车股票型证券投资基金、陈晓华持股有所下降。

筹码集中度方面,截至2023年三季度末,公司股东总户数为6.44万户,较上半年末增长了9367户,增幅17.03%;户均持股市值由上半年末的80.30万元下降至54.63万元,降幅为31.97%。

指标注解:
市盈率
=总市值/净利润。当公司亏损时市盈率为负,此时用市盈率估值没有实际意义,往往用市净率或市销率做参考。
市净率
=总市值/净资产。市净率估值法多用于盈利波动较大而净资产相对稳定的公司。
市销率
=总市值/营业收入。市销率估值法通常用于亏损或微利的成长型公司。
文中市盈率和市销率采用TTM方式,即以截至最近一期财报(含预报)12个月的数据计算。市净率采用LF方式,即以最近一期财报数据计算。
市盈率为负时,不显示当期分位数,会导致折线图中断。