据报道,有消息称,威马汽车创始人、董事长沈晖借口参加德国慕尼黑车展,随后转机直飞美国纽约,留下高达近400亿元的投资和债务以及被欠薪的威马员工。
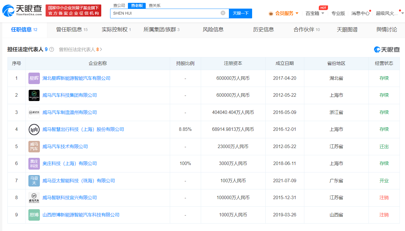
天眼查App显示,SHEN HUI(沈晖)目前共关联10余家公司,其中9家为存续状态,包括威马汽车科技集团有限公司、威马智慧出行科技(上海)股份有限公司、威马汽车制造温州有限公司等。在上述企业中,沈晖担任多家公司法定代表人、董事长、执行董事、总经理。
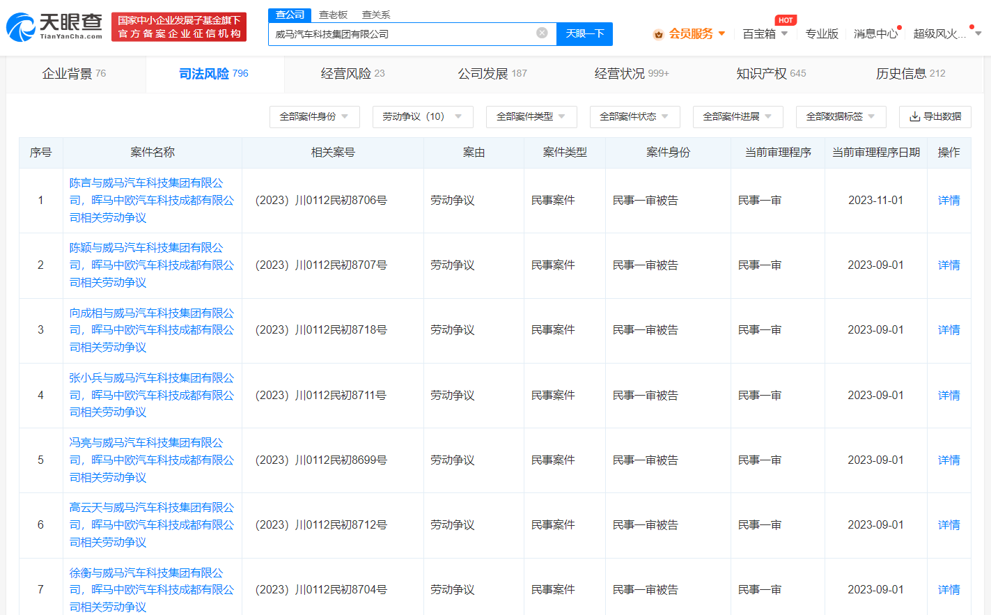
值得一提的是,近日,威马汽车科技集团有限公司申请破产审查,该公司成立于2012年5月,注册资本60亿人民币,由苏州威马智慧出行科技有限公司全资持股。风险信息显示,该公司今年以来新增多条劳动仲裁和劳动争议案件开庭公告。


