
中证智能财讯 莱克电气(603355)8月30日披露2023年半年度报告。2023年上半年,公司实现营业总收入36.50亿元,同比下降19.07%;归母净利润5.74亿元,同比增长19.08%;扣非净利润5.53亿元,同比增长16.07%;经营活动产生的现金流量净额为5.12亿元,同比下降6.59%;报告期内,莱克电气基本每股收益为1元,加权平均净资产收益率为13.99%。
公告称,公司营业收入变化主要由于报告期内,主要受全球经济,尤其是欧美需求紧缩等影响,公司家电产品整机出口业务及消费品电机收入同比下降。

以8月29日收盘价计算,莱克电气目前市盈率(TTM)约为14.19倍,市净率(LF)约为4.0倍,市销率(TTM)约为1.89倍。

公司近年市盈率(TTM)、市净率(LF)、市销率(TTM)历史分位图如下所示:



根据半年报,公司第二季度实现营业总收入18.22亿元,同比下降15.61%,环比下降0.28%;归母净利润3.89亿元,同比增长43.51%,环比增长109.63%;扣非净利润3.84亿元,同比增长43.72%,环比增长126.97%。

资料显示,公司是一家以高心技术,从事研发、制造和销售环境清洁与健康生活小家电的企业。
2023年上半年,公司毛利率为28.58%,同比上升6.41个百分点;净利率为15.73%,较上年同期上升5.04个百分点。从单季度指标来看,2023年第二季度公司毛利率为28.04%,同比上升6.66个百分点,环比下降1.08个百分点;净利率为21.31%,较上年同期上升8.77个百分点,较上一季度上升11.15个百分点。

数据显示,2023年上半年公司加权平均净资产收益率为13.99%,较上年同期增长0.23个百分点;公司2023年上半年投入资本回报率为6.72%,较上年同期下降1.97个百分点。

2023上半年,公司经营活动现金流净额为5.12亿元,同比下降6.59%,主要系报告期内财务费用利息收入的增加部分抵消了因收入下降带来经营现金流下降的影响所致;筹资活动现金流净额9784.06万元,同比减少4.32亿元,主要系报告期内银行贷款净增加减少所致;投资活动现金流净额3.67亿元,上年同期为-1.86亿元,主要系报告期内收回到期的银行结构性存款所致。
进一步统计发现,2023年上半年公司自由现金流为14.58亿元,相比上年同期增长97.03%。

2023年上半年,公司营业收入现金比为109.61%,净现比为89.20%。

2023年上半年,公司期间费用为3.63亿元,较上年同期减少663.89万元;但期间费用率为9.94%,较上年同期上升1.74个百分点。其中,销售费用同比增长44.61%,管理费用同比下降11.61%,研发费用同比增长9.25%,财务费用由去年同期的-1.53亿元变为-2.47亿元。
资料显示,销售费用的变动主要因为报告期内公司家电内销业务营销费用增加;财务费用的变动主要因为报告期内汇兑收益和利息收入增加;研发费用的变动主要因为报告期内公司持续加大研发投入。

资产重大变化方面,截至2023年二季度末,公司货币资金余额较上年末增加25.66%,占公司总资产比重上升9.09个百分点;应收账款较上年末减少9.34%,占公司总资产比重下降1.70个百分点;存货余额较上年末减少12.21%,占公司总资产比重下降1.62个百分点;在建工程较上年末减少13.61%,占公司总资产比重下降0.60个百分点。

负债重大变化方面,截至2023年二季度末,公司一年内到期的非流动负债较上年末增加3552.11%,占公司总资产比重上升6.40个百分点;短期借款较上年末减少14.93%,占公司总资产比重下降3.64个百分点;长期借款较上年末减少50.00%,占公司总资产比重下降2.45个百分点;应付账款较上年末减少19.22%,占公司总资产比重下降2.58个百分点。

从存货变动来看,截至2023年上半年末,公司存货账面价值为9.89亿元,占净资产的25.92%,较上年末减少1.38亿元。其中,存货跌价准备为1.05亿元,计提比例为9.56%。

偿债能力方面,公司2023年二季度末资产负债率为65.03%,相比上年末增加1.09个百分点;有息资产负债率为35.96%,相比上年末增加0.16个百分点。

2023年上半年,公司流动比率为1.53,速动比率为1.35。

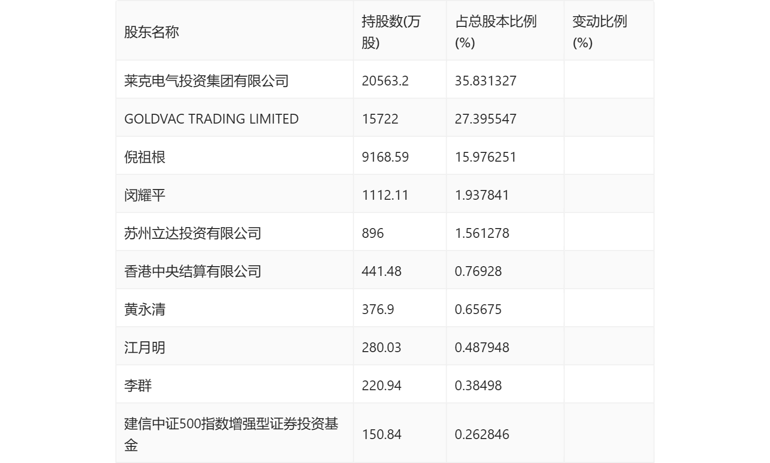
半年报显示,2023年上半年末的公司十大流通股东中,持股最多的为莱克电气投资集团有限公司,占比35.83%。十大流通股东名单相比2023年一季报维持不变。在具体持股比例上,莱克电气投资集团有限公司、GOLDVAC TRADING LIMITED、倪祖根、闵耀平、苏州立达投资有限公司、江月明、李群持股有所上升,香港中央结算有限公司、黄永清、建信中证500指数增强型证券投资基金持股有所下降。

筹码集中度方面,截至2023年二季度末,公司股东总户数为1.28万户,较一季度末增长了1640户,增幅14.76%;户均持股市值由一季度末的151.15万元下降至114.35万元,降幅为24.35%。

指标注解:
市盈率
=总市值/净利润。当公司亏损时市盈率为负,此时用市盈率估值没有实际意义,往往用市净率或市销率做参考。
市净率
=总市值/净资产。市净率估值法多用于盈利波动较大而净资产相对稳定的公司。
市销率
=总市值/营业收入。市销率估值法通常用于亏损或微利的成长型公司。
文中市盈率和市销率采用TTM方式,即以截至最近一期财报(含预报)12个月的数据计算。市净率采用LF方式,即以最近一期财报数据计算。
市盈率为负时,不显示当期分位数,会导致折线图中断。