
中证智能财讯 乐普医疗(300003)8月26日披露2023年半年度报告。2023年上半年,公司实现营业收入43.01亿元,同比下降19.35%;归母净利润9.61亿元,同比下降24.17%;扣非净利润9.05亿元,同比下降28.38%;经营活动产生的现金流量净额为1.42亿元,同比下降87.97%;报告期内,乐普医疗基本每股收益为0.5163元,加权平均净资产收益率为6.39%。
以8月25日收盘价计算,乐普医疗目前市盈率(TTM)约为18.09倍,市净率(LF)约为2.18倍,市销率(TTM)约为3.58倍。

公司近年市盈率(TTM)、市净率(LF)、市销率(TTM)历史分位图如下所示:



根据半年报,公司第二季度实现营业总收入18.64亿元,同比下降33.05%,环比下降23.51%;归母净利润3.65亿元,同比下降49.55%,环比下降38.93%;扣非净利润3.42亿元,同比下降52.19%,环比下降39.11%。

资料显示,公司主要从事泛心血管疾病相关的医疗器械、药品的研发、生产和销售工作,致力于搭建泛心血管领域的医疗器械、药品、医疗服务及健康管理一体化平台。
分产品来看,2023年上半年公司主营业务中,医疗器械收入20.16亿元,同比下降32.58%,占营业收入的46.87%;药品收入15.99亿元,占营业收入的37.18%;医疗服务及健康管理收入6.86亿元,同比增长15.23%,占营业收入的15.96%。

2023年上半年,公司毛利率为64.90%,同比上升2.80个百分点;净利率为23.20%,较上年同期下降1.12个百分点。从单季度指标来看,2023年第二季度公司毛利率为62.21%,同比上升1.58个百分点,环比下降4.74个百分点;净利率为20.37%,较上年同期下降6.02个百分点,较上一季度下降5.00个百分点。

分产品看,医疗器械、药品、医疗服务及健康管理2023年上半年毛利率分别为67.21%、69.74%、46.81%。
盈利能力方面, 2023年半年度公司加权平均净资产收益率为6.39%,同比下降4.3个百分点。公司2023年半年度投入资本回报率为4.77%,较上年同期下降2.94个百分点。

2023上半年,公司经营活动现金流净额为1.42亿元,同比下降87.97%;筹资活动现金流净额-7866.63万元,同比增加7.59亿元;投资活动现金流净额-6.03亿元,上年同期为-7.47亿元。
进一步统计发现,2023年上半年公司自由现金流为-4.36亿元,上年同期为7.30亿元。

2023年上半年,公司营业收入现金比为105.22%,净现比为14.74%。

营运能力方面,2023年上半年,公司总资产周转率为0.18次,上年同期为0.25次(2022年上半年行业平均值为0.22次,公司位居同行业15/45);固定资产周转率为1.64次,上年同期为2.34次(2022年上半年行业平均值为1.64次,公司位居同行业13/45);公司应收账款周转率、存货周转率分别为2.43次、0.64次。

2023年上半年,公司期间费用为16.58亿元,较上年同期减少3524.94万元;但期间费用率为38.55%,较上年同期上升6.80个百分点。其中,销售费用同比下降2.34%,管理费用同比增长3.43%,研发费用同比增长0.4%,财务费用同比下降45.84%。

资产重大变化方面,截至2023年二季度末,公司货币资金余额较上年末减少10.97%,占公司总资产比重下降2.41个百分点;应收账款较上年末减少14.64%,占公司总资产比重下降1.13个百分点;存货余额较上年末增加8.24%,占公司总资产比重上升0.78个百分点;在建工程较上年末增加9.96%,占公司总资产比重上升0.63个百分点。

负债重大变化方面,截至2023年二季度末,公司短期借款较上年末增加129.88%,占公司总资产比重上升2.02个百分点;一年内到期的非流动负债较上年末减少30.61%,占公司总资产比重下降1.94个百分点;长期借款较上年末增加61.81%,占公司总资产比重上升1.85个百分点;合同负债较上年末减少61.02%,占公司总资产比重下降1.82个百分点。

从存货变动来看,截至2023年上半年末,公司存货账面价值为24.53亿元,占净资产的15.6%,较上年末增加1.87亿元。其中,存货跌价准备为4463.53万元,计提比例为1.79%。

偿债能力方面,公司2023年二季度末资产负债率为30.33%,相比上年末减少2.81个百分点;有息资产负债率为19.11%,相比上年末增加2.04个百分点。

2023年上半年,公司流动比率为2.50,速动比率为1.89。

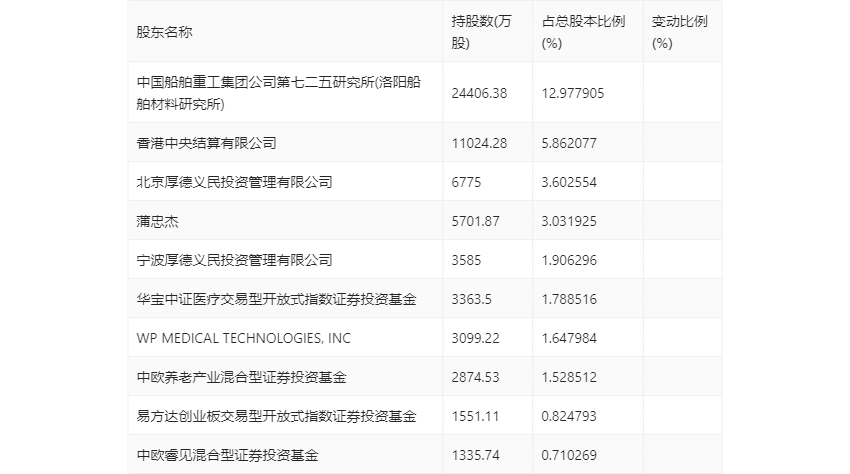
半年报显示,2023年上半年末的公司十大流通股东中,新进股东为易方达创业板交易型开放式指数证券投资基金、中欧睿见混合型证券投资基金,取代了一季度末的澳门金融管理局-自有资金、熊晴川。在具体持股比例上,香港中央结算有限公司、华宝中证医疗交易型开放式指数证券投资基金、中欧养老产业混合型证券投资基金持股有所上升,中国船舶重工集团公司第七二五研究所(洛阳船舶材料研究所)、北京厚德义民投资管理有限公司持股有所下降。

筹码集中度方面,截至2023年二季度末,公司股东总户数为7.79万户,较一季度末下降了6039户,降幅7.19%;户均持股市值由一季度末的51.94万元上升至54.59万元,增幅为5.10%。

指标注解:
市盈率
=总市值/净利润。当公司亏损时市盈率为负,此时用市盈率估值没有实际意义,往往用市净率或市销率做参考。
市净率
=总市值/净资产。市净率估值法多用于盈利波动较大而净资产相对稳定的公司。
市销率
=总市值/营业收入。市销率估值法通常用于亏损或微利的成长型公司。
文中市盈率和市销率采用TTM方式,即以截至最近一期财报(含预报)12个月的数据计算。市净率采用LF方式,即以最近一期财报数据计算。
市盈率为负时,不显示当期分位数,会导致折线图中断。