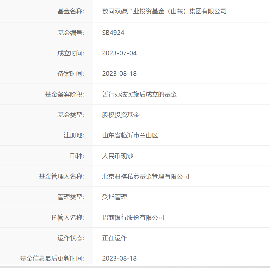
投资界消息,近日,临沂城投集团旗下致同双碳产业投资基金(山东)集团有限公司(以下简称“致同双碳基金”)成功获得中国证券投资基金业协会的备案。该基金作为产业投资母基金,正式进入投资运作阶段,开启投资基金带动产业引育和发展的新格局。

致同双碳基金是为了促进全市新能源产业转型升级和建设“绿色低碳生态临沂”总目标而设立的市场化基金。该基金总规模50亿元(一期规模20亿元),由临沂城投集团联合市财政局联合发起设立。该基金定位于产业母基金,在后续的运作过程中将秉持“国资引领、市场化运作”的原则,优选子基金管理人,按照“1+N”的运作模式,分别组建子基金,主要投向光伏、风电、动力电池、氢能、储能、新能源汽车、碳管理7个领域,充分发挥国有资本产业引导、杠杆撬动的作用。
来源:临沂城投集团 致同资本
获取更多LP资讯,来👉VC情报局
https://vc.pedaily.cn/lp/index