
中证智能财讯 中新赛克(002912)8月25日披露2023年半年度报告。2023年上半年,公司实现营业总收入3.10亿元,同比增长108.49%;归母净利润7382.75万元,同比扭亏;扣非净利润4849.64万元,同比扭亏;经营活动产生的现金流量净额为-1.34亿元,上年同期为-1.50亿元;报告期内,中新赛克基本每股收益为0.43元,加权平均净资产收益率为4.63%。
报告期内,公司合计非经常性损益为2533.10万元,其中计入当期损益的政府补助为2594.40万元。
以8月24日收盘价计算,中新赛克目前市盈率(TTM)约为109.1倍,市净率(LF)约为3.83倍,市销率(TTM)约为10.47倍。

公司近年市盈率(TTM)、市净率(LF)、市销率(TTM)历史分位图如下所示:



根据半年报,公司第二季度实现营业总收入9484.72万元,同比增长57.42%,环比下降55.96%;归母净利润1478.36万元,同比增长129.09%,环比下降74.96%;扣非净利润723.07万元,同比增长113.84%,环比下降82.48%。

分产品来看,2023年上半年公司主营业务中,宽带网产品收入2.04亿元,同比增长199.26%,占营业收入的65.78%;移动网产品收入0.51亿元,同比增长50.43%,占营业收入的16.38%;网络内容安全产品收入0.21亿元,同比增长45.42%,占营业收入的6.66%。

2023年上半年,公司毛利率为83.62%,同比上升12.84个百分点;净利率为23.80%,较上年同期上升94.73个百分点。从单季度指标来看,2023年第二季度公司毛利率为75.40%,同比上升13.71个百分点,环比下降11.84个百分点;净利率为15.59%,较上年同期上升99.93个百分点,较上一季度下降11.83个百分点。

分产品看,宽带网产品、移动网产品2023年上半年毛利率分别为93.44%、65.30%。

数据显示,2023年上半年公司加权平均净资产收益率为4.63%,较上年同期增长11.12个百分点;公司2023年上半年投入资本回报率为4.10%,较上年同期增长12.52个百分点。

2023上半年,公司经营活动现金流净额为-1.34亿元,同比增加1557.22万元;筹资活动现金流净额-3291.87万元,同比增加7680.53万元;投资活动现金流净额-1.98亿元,上年同期为1.27亿元。
进一步统计发现,2023年上半年公司自由现金流为-3.59亿元,上年同期为-1.32亿元。

2023年上半年,公司营业收入现金比为85.49%,净现比为-182.14%。

营运能力方面,2023年上半年,公司总资产周转率为0.16次,上年同期为0.07次(2022年上半年行业平均值为0.17次,公司位居同行业58/61);固定资产周转率为1.66次,上年同期为0.75次(2022年上半年行业平均值为5.45次,公司位居同行业52/61);公司应收账款周转率、存货周转率分别为1.09次、0.18次。

2023年上半年,公司期间费用为2.20亿元,较上年同期增加568.53万元;但期间费用率为71.04%,较上年同期下降73.24个百分点。其中,销售费用同比增长15.38%,管理费用同比增长4.44%,研发费用同比下降7.04%,财务费用由去年同期的-2496.87万元变为-2474.90万元。

资产重大变化方面,截至2023年二季度末,公司货币资金余额较上年末减少34.96%,占公司总资产比重下降18.09个百分点;应收账款较上年末增加90.01%,占公司总资产比重上升8.78个百分点;预付款项较上年末增加200.70%,占公司总资产比重上升0.44个百分点;存货余额较上年末增加3.95%,占公司总资产比重上升0.39个百分点。

负债重大变化方面,截至2023年二季度末,公司应付账款较上年末减少41.04%,占公司总资产比重下降2.16个百分点;合同负债较上年末增加13.20%,占公司总资产比重上升0.81个百分点;一年内到期的非流动负债较上年末增加104.66%,占公司总资产比重上升0.11个百分点;其他流动负债较上年末减少5.20%,占公司总资产比重不变。

从存货变动来看,截至2023年上半年末,公司存货账面价值为2.85亿元,占净资产的17.46%,较上年末增加1083.84万元。其中,存货跌价准备为3163.14万元,计提比例为9.99%。

偿债能力方面,公司2023年二季度末资产负债率为17.88%,相比上年末减少2.82个百分点;有息资产负债率为0.44%,相比上年末增加0.33个百分点。

2023年上半年,公司流动比率为4.83,速动比率为3.94。

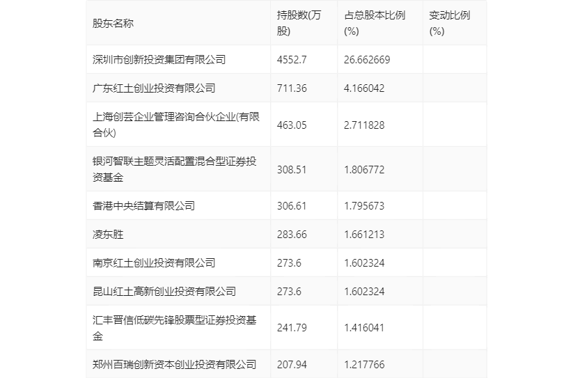
半年报显示,2023年上半年末的公司十大流通股东中,新进股东为银河智联主题灵活配置混合型证券投资基金、香港中央结算有限公司,取代了一季度末的平潭综合实验区因纽特投资有限公司、汇丰晋信动态策略混合型证券投资基金。在具体持股比例上,深圳市创新投资集团有限公司、广东红土创业投资有限公司、凌东胜、南京红土创业投资有限公司、昆山红土高新创业投资有限公司、郑州百瑞创新资本创业投资有限公司持股有所上升,上海创芸企业管理咨询合伙企业(有限合伙)、汇丰晋信低碳先锋股票型证券投资基金持股有所下降。

筹码集中度方面,截至2023年二季度末,公司股东总户数为1.88万户,较一季度末下降了1103户,降幅5.55%;户均持股市值由一季度末的35.16万元上升至40.03万元,增幅为13.85%。

指标注解:
市盈率
=总市值/净利润。当公司亏损时市盈率为负,此时用市盈率估值没有实际意义,往往用市净率或市销率做参考。
市净率
=总市值/净资产。市净率估值法多用于盈利波动较大而净资产相对稳定的公司。
市销率
=总市值/营业收入。市销率估值法通常用于亏损或微利的成长型公司。
文中市盈率和市销率采用TTM方式,即以截至最近一期财报(含预报)12个月的数据计算。市净率采用LF方式,即以最近一期财报数据计算。
市盈率为负时,不显示当期分位数,会导致折线图中断。