
中证智能财讯 中瓷电子(003031)8月25日披露2023年半年度报告。2023年上半年,公司实现营业总收入7.00亿元,同比增长10.60%;归母净利润7886.21万元,同比增长1.18%;扣非净利润7046.79万元,同比增长6.83%;经营活动产生的现金流量净额为1.55亿元,同比增长1453.35%;报告期内,中瓷电子基本每股收益为0.38元,加权平均净资产收益率为6.09%。
以8月24日收盘价计算,中瓷电子目前市盈率(TTM)约为135.2倍,市净率(LF)约为15.15倍,市销率(TTM)约为14.74倍。

公司近年市盈率(TTM)、市净率(LF)、市销率(TTM)历史分位图如下所示:



根据半年报,公司第二季度实现营业总收入3.71亿元,同比增长8.89%,环比增长12.91%;归母净利润4271.86万元,同比增长1.01%,环比增长18.19%;扣非净利润3677.47万元,同比增长6.07%,环比增长9.15%。

资料显示,公司是专业从事电子陶瓷系列产品研发、生产和销售的高新技术企业,致力于成为世界一流的电子陶瓷产品供应商。
分产品来看,2023年上半年公司主营业务中,通信器件用电子陶瓷外壳收入5.20亿元,同比增长10.25%,占营业收入的74.21%;消费电子陶瓷外壳及基板收入0.95亿元,同比增长0.11%,占营业收入的13.59%;汽车电子件收入0.48亿元,同比增长46.60%,占营业收入的6.79%。

2023年上半年,公司毛利率为25.90%,同比下降2.24个百分点;净利率为11.26%,较上年同期下降1.05个百分点。从单季度指标来看,2023年第二季度公司毛利率为24.63%,同比下降2.65个百分点,环比下降2.69个百分点;净利率为11.50%,较上年同期下降0.90个百分点,较上一季度上升0.51个百分点。

分产品看,通信器件用电子陶瓷外壳、消费电子陶瓷外壳及基板2023年上半年毛利率分别为25.32%、29.57%。

数据显示,2023年上半年公司加权平均净资产收益率为6.09%,较上年同期下降0.60个百分点;公司2023年上半年投入资本回报率为5.97%,较上年同期下降0.67个百分点。

进一步统计发现,2023年上半年公司自由现金流为1.14亿元,相比上年同期增长511.94%。

2023年上半年,公司营业收入现金比为98.77%,净现比为197.07%。

营运能力方面,2023年上半年,公司总资产周转率为0.37次,上年同期为0.38次(2022年上半年行业平均值为0.28次,公司位居同行业7/28);固定资产周转率为1.93次,上年同期为1.81次(2022年上半年行业平均值为3.13次,公司位居同行业22/28);公司应收账款周转率、存货周转率分别为2.40次、1.63次。

2023年上半年,公司期间费用为1.05亿元,较上年同期增加64.11万元;但期间费用率为15.03%,较上年同期下降1.49个百分点。其中,销售费用同比增长73.31%,管理费用同比增长15.6%,研发费用同比下降5.63%,财务费用由去年同期的-565.17万元变为-547.50万元。

资产重大变化方面,截至2023年二季度末,公司应收账款较上年末增加46.48%,占公司总资产比重上升4.22个百分点;货币资金余额较上年末增加45.63%,占公司总资产比重上升4.10个百分点;固定资产较上年末增加2.76%,占公司总资产比重下降1.53个百分点;在建工程较上年末增加18.96%,占公司总资产比重上升1.06个百分点。

负债重大变化方面,截至2023年二季度末,公司应付账款较上年末增加61.97%,占公司总资产比重上升5.51个百分点;合同负债较上年末增加26.37%,占公司总资产比重上升0.21个百分点;其他流动负债较上年末增加196.08%,占公司总资产比重上升0.06个百分点。

从存货变动来看,截至2023年上半年末,公司存货账面价值为3.3亿元,占净资产的24.73%。根据财报,公司本期没有计提存货跌价准备。

偿债能力方面,公司2023年二季度末资产负债率为32.56%,相比上年末增加3.13个百分点;有息资产负债率为0.00%,相比上年末持平。

2023年上半年,公司流动比率为2.16,速动比率为1.59。

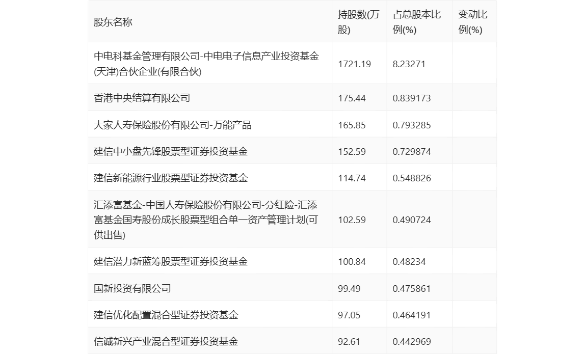
半年报显示,2023年上半年末的公司十大流通股东中,新进股东为大家人寿保险股份有限公司-万能产品、汇添富基金-中国人寿保险股份有限公司-分红险-汇添富基金国寿股份成长股票型组合单一资产管理计划(可供出售)、国新投资有限公司、信诚新兴产业混合型证券投资基金,取代了一季度末的陈高文、泰康人寿保险有限责任公司-分红-个人分红-019L-FH002深、景顺长城基金-中国人寿保险股份有限公司-分红险-景顺长城基金国寿股份成长股票型组合单一资产管理计划(可供出售)、基本养老保险基金一二零四组合。在具体持股比例上,香港中央结算有限公司、建信新能源行业股票型证券投资基金持股有所上升,建信中小盘先锋股票型证券投资基金、建信潜力新蓝筹股票型证券投资基金、建信优化配置混合型证券投资基金持股有所下降。

筹码集中度方面,截至2023年二季度末,公司股东总户数为1.08万户,较一季度末下降了2416户,降幅18.23%;户均持股市值由一季度末的140.44万元上升至256.74万元,增幅为82.81%。

指标注解:
市盈率
=总市值/净利润。当公司亏损时市盈率为负,此时用市盈率估值没有实际意义,往往用市净率或市销率做参考。
市净率
=总市值/净资产。市净率估值法多用于盈利波动较大而净资产相对稳定的公司。
市销率
=总市值/营业收入。市销率估值法通常用于亏损或微利的成长型公司。
文中市盈率和市销率采用TTM方式,即以截至最近一期财报(含预报)12个月的数据计算。市净率采用LF方式,即以最近一期财报数据计算。
市盈率为负时,不显示当期分位数,会导致折线图中断。