
中证智能财讯 春雪食品(605567)8月25日披露2023年半年度报告。2023年上半年,公司实现营业总收入13.77亿元,同比增长22.53%;归母净利润1373.01万元,同比下降67.84%;扣非净利润416.95万元,同比下降89.27%;经营活动产生的现金流量净额为9285.76万元,同比增长284.97%;报告期内,春雪食品基本每股收益为0.07元,加权平均净资产收益率为1.21%。
报告期内,公司合计非经常性损益为956.06万元,其中计入当期损益的政府补助为699.68万元。

以8月24日收盘价计算,春雪食品目前市盈率(TTM)约为49.88倍,市净率(LF)约为2.21倍,市销率(TTM)约为0.91倍。

公司近年市盈率(TTM)、市净率(LF)、市销率(TTM)历史分位图如下所示:



根据半年报,公司第二季度实现营业总收入6.88亿元,同比增长7.92%,环比下降0.14%;归母净利润530.0万元,同比下降82.86%,环比下降37.13%;扣非净利润-158.67万元,同比下降105.42%,环比下降127.57%。

半年报显示,公司主要从事白羽鸡鸡肉食品的研发、生产加工和销售业务,主要产品为鸡肉调理品(预制菜)和生鲜品。
分产品来看,2023年上半年公司主营业务中,销售肉制品收入10.35亿元,占营业收入的75.20%;销售毛鸡收入3.36亿元,占营业收入的24.41%。
2023年上半年,公司毛利率为7.22%,同比下降2.10个百分点;净利率为1.00%,较上年同期下降2.80个百分点。从单季度指标来看,2023年第二季度公司毛利率为6.44%,同比下降3.19个百分点,环比下降1.56个百分点;净利率为0.77%,较上年同期下降4.08个百分点,较上一季度下降0.45个百分点。

数据显示,2023年上半年公司加权平均净资产收益率为1.21%,较上年同期下降2.63个百分点;公司2023年上半年投入资本回报率为1.02%,较上年同期下降2.21个百分点。

2023上半年,公司经营活动现金流净额为9285.76万元,同比增长284.97%,主要系本报告期应收款减少、应付款项增加所致;筹资活动现金流净额9292.60万元,同比减少218.47万元;投资活动现金流净额-2.13亿元,上年同期为-1.57亿元,主要系年宰杀5000万只肉鸡智慧工厂项目应付工程款支付及年产4万吨肉鸡调理品智慧工厂项目建设投资所致。
进一步统计发现,2023年上半年公司自由现金流为-1.54亿元,上年同期为-1.08亿元。

2023年上半年,公司营业收入现金比为111.88%,净现比为676.31%。

营运能力方面,2023年上半年,公司总资产周转率为0.68次,上年同期为0.67次(2022年上半年行业平均值为0.49次,公司位居同行业2/11);固定资产周转率为1.68次,上年同期为2.69次(2022年上半年行业平均值为1.81次,公司位居同行业3/11);公司应收账款周转率、存货周转率分别为13.95次、3.07次。

2023年上半年,公司期间费用为7014.99万元,较上年同期增加2024.43万元;期间费用率为5.10%,较上年同期上升0.66个百分点。其中,销售费用同比增长32.34%,管理费用同比增长16.22%,研发费用同比增长63.78%,财务费用由去年同期的-290.09万元变为384.17万元。
资料显示,销售费用的变动主要因为促销费、职工薪酬、邮电费增加;财务费用的变动主要因为本报告期年宰杀5000万只肉鸡智慧工厂投产,营运资金需求增加,银行融资规模增大;研发费用的变动主要因为本报告期职工薪酬增加。

资产重大变化方面,截至2023年二季度末,公司在建工程较上年末增加57.00%,占公司总资产比重上升1.71个百分点;货币资金余额较上年末减少3.46%,占公司总资产比重下降1.64个百分点;应收账款较上年末减少14.92%,占公司总资产比重下降1.03个百分点;固定资产较上年末增加2.77%,占公司总资产比重下降0.93个百分点。

负债重大变化方面,截至2023年二季度末,公司短期借款较上年末增加27.97%,占公司总资产比重上升3.72个百分点;应付账款较上年末减少22.64%,占公司总资产比重下降3.27个百分点;合同负债较上年末增加46.02%,占公司总资产比重上升0.56个百分点;一年内到期的非流动负债较上年末增加45.02%,占公司总资产比重上升0.14个百分点。

从存货变动来看,截至2023年上半年末,公司存货账面价值为4.26亿元,占净资产的37.57%,较上年末增加2050.48万元。其中,存货跌价准备为534.67万元,计提比例为1.24%。

偿债能力方面,公司2023年二季度末资产负债率为45.55%,相比上年末增加3.63个百分点;有息资产负债率为22.70%,相比上年末增加3.81个百分点。

2023年上半年,公司流动比率为1.08,速动比率为0.60。

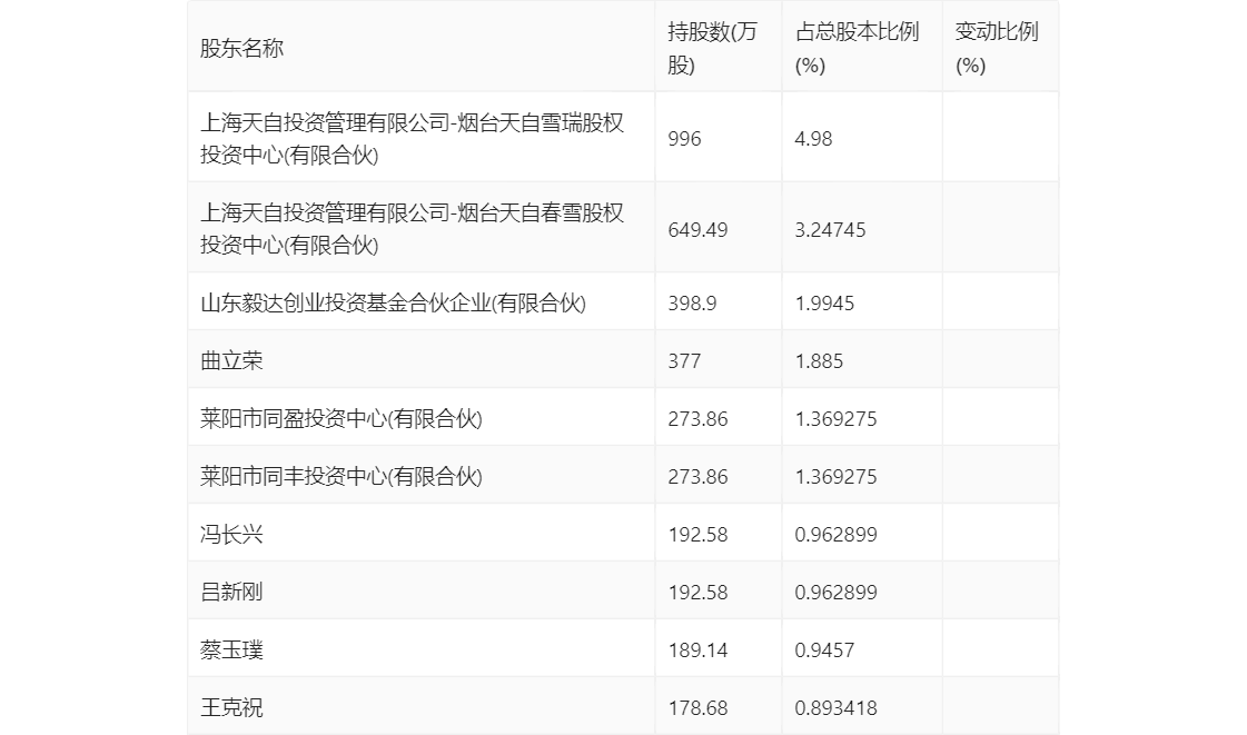
半年报显示,2023年上半年末的公司十大流通股东中,新进股东为曲立荣、蔡玉璞,取代了一季度末的刘贵贤、盖永增。在具体持股比例上,上海天自投资管理有限公司-烟台天自春雪股权投资中心(有限合伙)、山东毅达创业投资基金合伙企业(有限合伙)持股有所下降。

筹码集中度方面,截至2023年二季度末,公司股东总户数为1.61万户,较一季度末增长了529户,增幅3.40%;户均持股市值由一季度末的20.11万元下降至15.94万元,降幅为20.74%。

指标注解:
市盈率
=总市值/净利润。当公司亏损时市盈率为负,此时用市盈率估值没有实际意义,往往用市净率或市销率做参考。
市净率
=总市值/净资产。市净率估值法多用于盈利波动较大而净资产相对稳定的公司。
市销率
=总市值/营业收入。市销率估值法通常用于亏损或微利的成长型公司。
文中市盈率和市销率采用TTM方式,即以截至最近一期财报(含预报)12个月的数据计算。市净率采用LF方式,即以最近一期财报数据计算。
市盈率为负时,不显示当期分位数,会导致折线图中断。