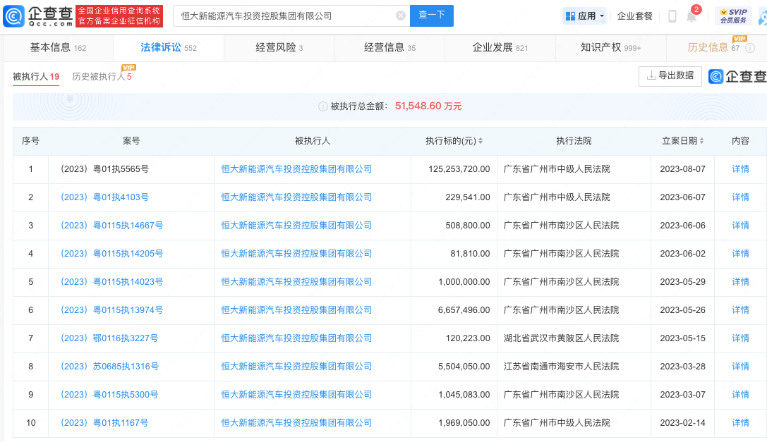
企查查APP显示,近日,恒大新能源汽车投资控股集团有限公司新增被执行人信息,执行标的1.25亿余元,执行法院为广东省广州市中级人民法院。风险信息显示,该公司名下存在多则被执行人、限制高消费等信息,被执行金额超5亿。信息显示,该公司成立于2019年,注册资本35亿美元。由恒大新能源汽车控股(香港)有限公司、恒大恒驰新能源汽车(广东)有限公司共同投资成立。
值得一提的是,恒大汽车7月26日晚发布公告,2021、2022两年亏损共达840亿元,2022年报表负债总额为1838.72亿元,已是资不抵债引发关注。


