
中证智能财讯 洪都航空(600316)10月25日披露2023年三季报。2023年前三季度,公司实现营业总收入19.12亿元,同比下降30.15%;归母净利润889.21万元,同比下降43.41%;扣非净利润538.82万元,同比下降61.43%;经营活动产生的现金流量净额为-1.14亿元,上年同期为-5.82亿元;报告期内,洪都航空基本每股收益为0.0124元,加权平均净资产收益率为0.17%。
报告期内,公司合计非经常性损益为350.39万元,其中计入当期损益的政府补助为255.93万元,其他符合非经常性损益定义的损益项目为-214.00万元。


公告显示,公司前三季度营业收入变化主要由于本报告期公司产品交付数量减少。
以10月24日收盘价计算,洪都航空目前市盈率(TTM)约为105.76倍,市净率(LF)约为2.69倍,市销率(TTM)约为2.21倍。

公司近年市盈率(TTM)、市净率(LF)、市销率(TTM)历史分位图如下所示:



根据三季报,公司第三季度实现营业总收入1.96亿元,同比下降72.67%,环比下降87.58%;归母净利润197.96万元,同比下降10.39%,环比下降87.61%;扣非净利润153.98万元,同比增长7.49%,环比下降91.34%。

2023年前三季度,公司毛利率为4.64%,同比上升1.85个百分点;净利率为0.47%,较上年同期下降0.12个百分点。从单季度指标来看,2023年第三季度公司毛利率为20.30%,同比上升16.84个百分点,环比上升17.48个百分点;净利率为1.01%,较上年同期上升0.68个百分点,较上一季度持平。

数据显示,2023年前三季度公司加权平均净资产收益率为0.17%,较上年同期下降0.13个百分点;公司2023年前三季度投入资本回报率为0.11%,较上年同期下降0.10个百分点。

2023年前三季度,公司经营活动现金流净额为-1.14亿元,同比增加4.68亿元,主要系年初至报告期末公司购买商品支付的现金减少所致;筹资活动现金流净额-4230.98万元,同比增加5607.29万元,主要系公司上年同期偿还了长期借款5000万元,本年无所致;投资活动现金流净额-1132.07万元,上年同期为-4546.56万元,主要系年初至报告期末公司购建固定资产支付的现金减少所致。
进一步统计发现,2023年前三季度公司自由现金流为-2.12亿元,上年同期为-7.39亿元。

2023年前三季度,公司营业收入现金比为191.51%,净现比为-1281.25%。

2023年前三季度,公司期间费用为7650.28万元,较上年同期增加1202.54万元;期间费用率为4.00%,较上年同期上升1.64个百分点。其中,销售费用同比下降32.4%,管理费用同比下降20.94%,研发费用同比增长61.65%,财务费用由去年同期的-655.52万元变为-331.13万元。
资料显示,销售费用的变动主要因为年初至报告期末公司销售人员减少;财务费用的变动主要因为年初至报告期末公司利息收入减少;研发费用的变动主要因为年初至报告期末公司研发投入增加。

资产重大变化方面,截至2023年三季度末,公司应收票据较上年末减少76.62%,占公司总资产比重下降12.90个百分点;存货较上年末增加19.31%,占公司总资产比重上升6.74个百分点;应收账款较上年末增加18.31%,占公司总资产比重上升5.50个百分点;货币资金较上年末减少26.83%,占公司总资产比重下降0.65个百分点。

负债重大变化方面,截至2023年三季度末,公司应付票据较上年末减少86.90%,占公司总资产比重下降5.55个百分点;应付账款较上年末减少14.55%,占公司总资产比重下降1.25个百分点;应付职工薪酬较上年末减少47.93%,占公司总资产比重下降0.31个百分点;合同负债较上年末减少0.52%,占公司总资产比重上升3.66个百分点。

在偿债能力方面,公司2023年三季度末资产负债率为65.73%,相比上年末下降3.52个百分点。

2023年前三季度,公司流动比率为1.34,速动比率为0.93。

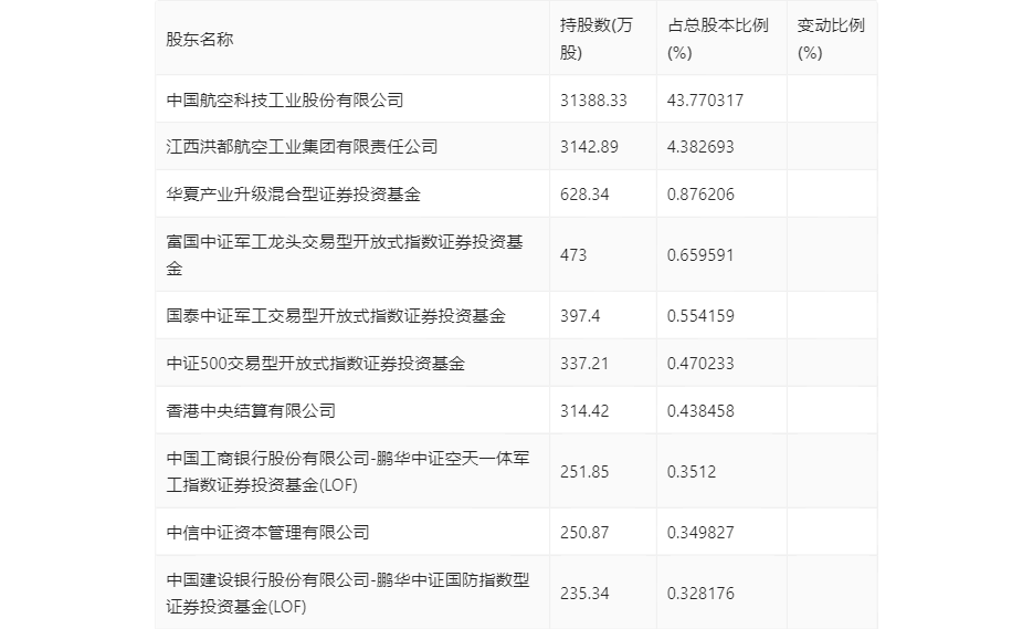
三季报显示,2023年三季度末公司十大流通股东中,持股最多的为中国航空科技工业股份有限公司,占比43.77%。十大流通股东名单相比2023年半年报维持不变。在具体持股比例上,富国中证军工龙头交易型开放式指数证券投资基金、国泰中证军工交易型开放式指数证券投资基金、中证500交易型开放式指数证券投资基金、中国工商银行股份有限公司-鹏华中证空天一体军工指数证券投资基金(LOF)持股有所上升,华夏产业升级混合型证券投资基金、香港中央结算有限公司、中信中证资本管理有限公司、中国建设银行股份有限公司-鹏华中证国防指数型证券投资基金(LOF)持股有所下降。

筹码集中度方面,截至2023年三季度末,公司股东总户数为8.45万户,较上半年末下降了3130户,降幅3.57%;户均持股市值由上半年末的19.19万元下降至17.79万元,降幅为7.30%。

指标注解:
市盈率
=总市值/净利润。当公司亏损时市盈率为负,此时用市盈率估值没有实际意义,往往用市净率或市销率做参考。
市净率
=总市值/净资产。市净率估值法多用于盈利波动较大而净资产相对稳定的公司。
市销率
=总市值/营业收入。市销率估值法通常用于亏损或微利的成长型公司。
文中市盈率和市销率采用TTM方式,即以截至最近一期财报(含预报)12个月的数据计算。市净率采用LF方式,即以最近一期财报数据计算。
市盈率为负时,不显示当期分位数,会导致折线图中断。